| |
Alien Technology

1967 yılında, Betty Andreasson adlı
Massachusetts’li kadının uzaylılar tarafından kaçırılmasıyla duyulmuştur.
Andreasson, dünya dışı varlıklar tarafından kaçırıldığını ve uzaygemisinde
kendisi üstünde tıbbi incelemeler yapıldığından bahsetmiştir. Bununla
birlikte uzaylıların uzay gemilerine dair bazı teknik bilgileri ve çizimleri
kamuoyu ile paylaşmıştır. Aşağıdaki renkli uzay aracı çizimleri
Betty'nin uzaylılarla olan yakın temasından alınan bilgilere
dayanılarak çizilmiştir.


THE DAY
AFTER ROSWELL– Col. Philip J. Corso (1997) – NOTES
(Page numbers are given for hardback edition)
The craft was able to displace gravity through the propagation of
magnetic waves controlled by shifting the magnetic poles around the craft so
as to control, or vector, not a propulsion system but the repulsion force of
like charges.[p100]
raced among themselves to figure out how the craft could retain its
electric capacity[p100]
The air force discovered that the entire vehicle functioned [101]
just like a giant capacitor. In other words, the craft itself
stored the energy necessary to propagate the magnetic wave that elevated it,
allowed it to achieve escape velocity from the earth's gravity, and enabled
it to achieve speeds of over seven thousand miles per hour.[p101]
it was as if gravity was being folded around the outside of the wave
that enveloped the craft.[p101]
engineers marveled at the thin amalgam of the most refined copper and
purest silver they had ever seen that covered the ship’s underside. The
metal was remarkable for its conductivity, as if the entire craft was an
electrical circuit offering no resistance to the flow of current.[p107]
accelerating from a near stationary hover above a given spot, like a
helicopter, to speeds in excess of seven thousand miles per hour in a
matter of seconds?
• The craft itself was an electrical circuit.
• That the flight suits -"flight skins" is a better description - the
creatures wore were made of a substance whose atomic structure was
elongated, strengthened lengthwise, so as to provide a directional flow
to any current applied to it.[p108]
The engineers who first discovered this were amazed at the pure
conductivity of these skins, functionally like the skin of the craft itself
and their obvious ability to protect the wearer while at the same time
vectoring some kind of electronic field.[p108]
The debris and the spacecraft indicated that an engine didn’t somehow
fall out of the craft when it crashed. A conventional engine was never
there in the first place. What we found was that the craft seemed to have
had the ability to store as well as conduct a vast amount of current. What
if the craft itself were the engine, imparted with a steady current from
another source that it stored as if it were a giant capacitor? This would be
like charging the battery in an electric car [p109] and running it
until the battery was drained.[p110]
the Roswell craft was simply a capacitor that stored current that was
controlled or vectored by the pilot and was able to be recharged in some way
or could recharge itself with some form of built-in generator.[p110]
scientists who had gone to the Air Materiel Command at Wright Field to
see the debris were speculating that the electronic potential of the Roswell
craft reminded them of the German and British antigravity experiments of
the 1920s and 1930s.[p110]
Tesla and a number of other European scientists had been pioneers in the
conversion of circumscribed small-area antigravity fields out of
electromagnetic fields.[p110]
But, what if the flying craft already carried enough electric
potential and storage capacity to retain its power, just like a very
advanced flying battery? Then it might have all the power it needed to
propagate and vector a wave directionally by shifting its magnetic poles.
If the magnetic field theory experiments carried out by engineers and
electrical energy pioneers Paul Biefeld and Townsend Brown in the
1920s at the California Institute for Advanced Studies were accurately
[p110] reported - and the U.S. military as well as scientific record keepers
at Hoover's young Bureau of Investigation kept very close tabs on what these
engineers were doing - then the technological theory for antigravity flight
existed before World War II.[p111]
The Germans did develop and had flown flying disks,[p111]
If the EBEs utilized a wave-propagation technology as an antigravity
drive and navigation system, then they traveled inside some form of
adjustable electromagnetic wave.[p114]
Molecular alignment metallic alloys[p115]
about the only possible process that could interfere with the
electromagnetic field drive we suspected the aliens were using: a
directed-particle energy-beam weapon that could disrupt the
electromagnetic wave formation around the spacecraft and penetrate the
antigravity field.[p245]
Tesla wrote about the theories behind the distortion or manipulation
of a gravitational field through the propagation of electromagnetic waves,
and the extraterrestrials seemed to have employed just that kind of
technology for a propulsion system.[p249]
ELECTROPHORETIC THRUSTER - (TT BROWN 3,296,491)
In the present invention, the nonuniform fields are
divergent fields. The divergent fields may be radial, wedge-shaped or
conical. In such divergent fields, the ions are deflected, as well as
accelerated, by electrophoretic forces. The effect commonly known as 'ion
drag' also imparts momentum to the host medium. In divergent fields, the
host medium is additionally influenced by electrohydrodynamic forces and
tends to flow in the direction of the divergence. This effect is also known
as electrostrictive hydrodynamics…
The
host medium is the medium in which the emitter is operated. Usually, but not
necessarily, the host medium is atmospheric air. A similar flow may be
observed if the emitter is operated in other fluid dielectrics, such as
transformer oil or gases at various pressures.
The two forces described above are influenced to some
extent by a third force which is defined as dielectrophoretic. This force,
also present in divergent fields, operates in the opposite direction and
tends to move suspended polarized dielectric material from the peripheral
electrode toward the central electrode of a radial generator [fig.1], or
generally, from the larger electrode to the smaller. The tendency of the
dielectrophoretic force is to move the suspended material into the electric
field, ie, in the direction of convergence. It is observed in actual tests
that dielectrophoretic forces in the present invention are relatively weak
and usually are masked by the stronger electrophoretic (ion-drag) and
electrohydrodynamic forces. Apparently, in the flat-vane and cylindrical
emitters, subsequently described, operation results entirely from
electrophoretic and electrohydrodynamic forces.
Ionization which takes place near the smaller electrode
is caused by the EXTREMELY HIGH ELECTRIC GRADIENTS IN THIS REGION OF THE
FIELD. This ionization results from the stripping of electrons from the air
molecules and suspended fluid particles immediately adjacent to the
electrode ( see
Electron Cascade page).
The aero-ions or aerosol particles acquire their charge principally in the
region of the smaller electrode. Upon acquiring a charge, the majority of
aero-ions or charged aerosol particles follow the electric lines-of-force
and move generally in the direction of the larger electrode but DO NOT
STRIKE THAT ELECTRODE. In the case of the flat-vane ion generators, the
observed flow pattern is first toward, then parallel to the surface of the
larger electrode and continues in a relatively straight line downstream from
the electrode. In the case of cylindrical generators, the flow is radial
toward the walls of the cylinder, then out through the electrode apertures.
It is obvious that this flow pattern DOES NOT RESULT FROM (NOR ENTIRELY
CONFORM TO) SIMPLE ELECTROSTATIC (Coulomb) ATTRACTION, and because of this
peculiar behavior the electrohydrodynamic force (electrostrictive
hydrodynamics) is apparently largely responsible for the observed flow.
Additional ionization in the region of the smaller
electrode can be provided by a radiation source, such as an ultra-violet
lamp or radioactive material. The lamp or radioactive source may itself take
the place of the smaller electrode so as to be in the proper position to
feed ions most effectively into the divergent electrostatic field. Where
radioactive material is used, the smaller electrode is composed of, or
coated with, said material.
WHERE
HEAVY METAL IONS ARE DESIRED, AS IN THE PRODUCTION OF THRUST, the smaller
electrode is again modified. In this instance, the electrode may take the
form of an electrically-heated tube containing molten cesium or other
ionised or ionizable material. The tube is formed of tungsten sponge or the
like so as to be permeable to said molten material. Upon reaching the outer
surface of the tube, unipolar ions of the material are caught in the
divergent electric field and ejected toward and beyond the larger electrode
by the combination of propulsive forces described above…
The two electrodes [in figure 2] are maintained at
different electrical potentials by high voltage power supply 15. The
polarity may be reversed in order to reverse the polarity of the generated
ions, but such reversal DOES NOT CHANGE the direction of flow either of the
ions or the ambient medium. This basic structure is the same as that
illustrated in two of the reference patents of which this is a continuation-in-part.
Figure
[3] is a plan view of electrodes 10 and 12 showing the flow pattern of the
ambient medium. It is to be noted that the flow is first divergent from the
smaller electrode 10, then generally parallel to the surface of electrode 12
and projecting downstream therefrom in STRAIGHT LINES. The charged ambient
medium in the region of electrode 10 is accelerated first toward, then
beyond, electrode 12, so that the device, in effect, serves both as an
ionizer and a thrust producing device…
In certain instances, it is found to be advantageous to
substitute a wick in place of filiform electrode 10 or, alternatively, to
sheath a wire electrode with wicking. The purpose is to more effectively
conduct the liquid medium into the dispersing (atomizing) region.
This
type of atomizing results from the strong outward surface forces tending to
'explode' liquids adhering to an electrode in the region of intense
electrostatic fields…
Figure [4] shows a structure similar to those shown in
preceding figures except that an elongated ultra-violet lamp 28, such as a
QUARTZ-TUBE mercury vapor lamp, is substituted for electrode 10. The lamp
constitutes an electrode corresponding to electrode 10 in figure 1. In this
embodiment of the invention, ultra-violet lamp 28 is energized by
transformer 24. One side of the lamp can be grounded (as indicated), or the
lamp can be made the highly charged electrode with electrode 12 grounded; in
which case transformer 24 would have its secondary highly insulated from
ground. Ultra-violet radiation from lamp 24 ionizes the air or other medium
in the immediate vicinity of the lamp. Unipolar ions are selectively
propelled by the field toward and beyond electrode 12, as indicated by the
flow pattern of figure [3].
ELECTROLYTIC FLOW
Lorentz forces create voltage gradients in all conducting
liquids moving through magnetic fields as a result of nonhomogeneous
distributions of charge carriers. In metallic liquids, the charge carriers
are electrons that move through the liquids, pass over the liquid-solid
electrode interfaces, and continue on through the external metering circuits.
In nonmetallic liquids, the charge carriers are ions.
From
an electric charge standpoint, the ionic distribution of fig.10.8 is the
same as the electron distribution of fig.10.6.
Ions, however, cannot pass over liquid-solid interfaces.
As a result, the passage of even the minute currents needed to service
metering circuits quickly accumulate a concentration of ions at each
electrode. Positive ions accumulate at one electrode and negative ions at
the other. This ionic accumulation is called polarization.
Polarization creates voltage gradients at the interfaces that block the flow
of measuring currents. It also offsets Lorentz forces thereby effectively
eliminating signal voltages.
The
blocking effect of polarization is reduced if alternating magnetic fields
are used instead of nonvarying fields. Such oscillating fields must have
half cycles that change direction fast enough to limit the accumulation of
ions. Alternating fluxes of high frequency, however, are likely to induce
voltages of considerable magnitude into various parts of metering circuits.
MAGNETOHYDRODYNAMIC FLOW
Any type of conducting fluid can be used to generate the
Lorentz voltages described in the previous sections. Gases, on the other
hand, are relatively nonconducting media with high source impedances, making
if difficult to extract useful signals. If a gas is heated until it becomes
a plasma, however, the situation becomes quite different. In a plasma,
electrons are stripped from the molecules, leaving a seething mass of free
electrons and positive ions. As shown in fig.10.9, these carriers can be
separated by Lorentz forces in the conventional manner.
The
conductivity of a plasma is much higher than that of any metal. As a result,
the transfer function of velocity to voltage is very efficient, and this
technique offers a promising approach to power generation. A major problem
is that of containing the very-high-temperature plasmas.
The extraction of heavy currents from such a system
affects the placement of voltage- collecting electrodes, resulting in two
different types of magnetohydrodynamic generators.
In a Faraday Magnetohydrodynamic Generator,
current flows in response to the Lorentz voltages generated at right angles
to plasma flow. Several pairs of electrodes are placed at right angles to
plasma flow, and each pair is used to drive an individual load.
In a Hall Magnetohydrodynamic Generator, current
flows in response to the Hall voltages generated at right angles to the
Lorentz currents. In such generators, the generated voltage is the vector
sum of the Hall and Lorentz voltages. Voltage-collecting electrodes are
placed at oblique angles to plasma flow, and the collected voltages are
operated in series to drive one load.
ION SLIP
When a plasma moves at high speed, the electrons tend to
move faster than the ions. The velocity difference is called Ion Slip.
Ion slip creates a voltage that is axial to the direction of plasma flow.
[All above taken from "Handbook of Magnetic Phenomena"
by Harry E. Burke 1986]
Le CHATELIER-BROWN PRINCIPLE
The Le Chatelier-Brown principle should also be considered in regard to
liquid flow, as it describes an electrokinetic phenomenon: if motion occurs
under the influence of an electric field, then an electric field must be
formed by motion (in the presence of an electrokinetic potential).
[Taken from "Principles of Electrochemistry" (2nd ed) by Jiri
Koryta et al (1993) p243]
The Four Great Primary Forces Are; static magnetic
field; electrostatic field; electro-magnetic wave; resonating
electromagnetic field. Your scientists do not understand the last one
mentioned.¹
You are familiar enough with electrodynamics to know that a moving
electron creates a magnetic field. The tremendous surge of electrons through
the force-rings produces a very strong magnetic field. Since the direction
and amplitude of flow can be controlled through either ring, and in several
paths through a ‘single’ ring, we can produce a field which oscillates in a
pattern of precisely controlled modes. In this way we can create magnetic
resonance between the two rings, or between several segments of a single
ring.
As you also know, any magnetic field which is changing in intensity will
create an electric field which, at any given instant, is equal in amplitude,
opposite in sign, and perpendicular to the magnetic field. If the two fields
become mutually resonant, a vector force will be generated. The effect is
similar to, and in effect identical with, a gravitational field.
If the center of the field coincides with the craft’s center of gravity,
its only effect will be to increase the inertia or mass of the craft. If the
center of gravity does not coincide with the center of force, the craft will
begin to accelerate towards that center.
Since the system which creates the field is part of the ship, it will of
course move with the ship, and without interruption it will continue to
generate a field whose center of attraction is just ahead of the ship’s
center of gravity, so the ship will continue to accelerate as long as the
field is generated. Note that this system does not involve free energy or
what your people refer to as perpetual motion.To slow or stop the craft, the
controls are adjusted so that the field is generated just behind the center
of gravity so that negative acceleration will result.²
[Quote ¹ is from "The Saucers Speak" and "Other Tongues – Other
Flesh" (p48) by George Hunt Williamson; and quote ² is from "The
White Sands Incident" by Daniel Fry . Also see Nexus Magazine Apr-May
97 p38]
The above description while differing slightly from Bob Lazar’s
stretched rubber concept (see "Alien Contact" (1993) Timothy Good
p183), is a more accurate explanation of the propulsion method used by the
ufos filmed above Mexico city recently. The film clearly shows a path of
energy being directed ahead of the ufo and the ufo snapping to the forward
end of it at incredible speed.
UFO Propulsion Technology Coming Soon?
Have you ever wondered about UFO Propulsion? After all, with our current
array of technology it is pretty safe to say, that any Unidentified Flying
Objects that are alien in origin and visit our planet Earth, are not
remotely local. So how do these alien travelers arrive here from distant
star systems via a flying disc shaped object?
The vague answer is really quite simple, with only two outcomes. One, the
alien beings life span is extremely long or their advanced knowledge has
allowed them to become immortal. This would allow them to travel vast
distances without any real consequences.
“Immortal aliens”, now I have heard everything! Yeah, I know, it sounds far
fetched, but think about it. In the last few decades we have made phenomenal
advancements in medicine that improve our overall health and have increased
our life expectancies by 20 years.
If an alien civilization was 100 years ahead of us, what do you think their
medical advances might be? Now, imagine that the alien civilization’s
technology is 100 million years ahead of us. The idea of the life span of an
alien race being border line immortal might seem to be a lot more plausible
than previously thought.
The other outcome is that aliens have engineered their UFO spacecraft to
solve the silly little problems associated with traveling at the speed of
light or faster. In addition to the enormous speed benefits, according to
Eisenstein, as an object approaches the speed of light time, begins to slow
down. Once an object reaches the speed of light it is unclear what happens
to time. Some believe that time slows down to almost 1/7th of what normal
time is. While other believe that time will simply stop completely.
I have a couple of theories on how these UFO spacecraft are defying our
current known laws of physics and traveling to Earth.
I used to believe that UFOs were powered by an advanced electromagnetic
field that surrounds their spacecraft and created a vacuum. A flying saucer
that utilized such a vacuum would have the ability to manipulate particles
and travel through virtually any medium, air, space, even water. If UFO
propulsion is comprised of an advanced electromagnetic field it would also
explain why people that experience UFO sightings describe their cars as
suddenly stopping or their radios going all screwy.
My current belief on how Unidentified Flying Objects traverse space and time
revolves around a controversial new theory call “String theory” or
“SuperString Theorem”. String Theory is the idea that our multidimensional
universe is comprised of vibrating strings that produce harmonic waves. If
correct, the theory would be able to express all the laws of physics in a
single unified formula.
If you were to have an advanced understanding of string theory’s unified
formula, you would have the ability to travel from one point in the universe
to another in a split second. But most importantly, by utilizing string
theory, you could do so without breaking the laws of physics.
If you have never heard of string theory before, I highly recommend you look
into it, as it is one of the most fascinating theories I have ever seen,
that just make perfect sense. Where can I find our more information? Just
watch the video, go ahead watch it, I’ll wait.
There are numerous theories on how UFOs travel through the deep dark regions
of space and the atmosphere of Earth. Some have come to believe that they
use anti-matter technology, gravity drives, ion propulsion, or that they
have even developed a method to open up wormholes through space and time.
Does it sound like something out of a bad science fiction movie? Think again,
the geniuses’ over at NASA have and still are producing groundbreaking
research that could make UFO technology a reality for human beings very soon.
ION KINETICS - (taken from TT Brown patents 2,949,550 & 3,018,394)
"In the immediate vicinity of the electrode 21 where the potential
gradient is very high, free electrons are stripped off of the atoms and
molecules of the surrounding medium. These electrons migrate to the positive
electrode 21 where they are collected. This removal of free electrons leaves
the respective atoms and molecules positively charged and such charged atoms
and molecules are accordingly repelled from the positive electrode 21 and
attracted toward the negative electrode 20. The paths of movement of these
positively charged particles appear to be of the nature represented by the
lines 27 in figure
1.
It appears that upon reaching or closely approaching the surface of the
body 20, the positively charged atoms and molecules have their positive
charges neutralized by the capture of electrons from the body 20 and in many
cases, it may be that excess electrons are captured whereby to give such
atoms and molecules a negative charge so that they are actually repelled
from the body 20.
It will be appreciated that the mass of each of the individual electrons
is approximately one two-thousandths the mass of the hydrogen atom ¹ and is
accordingly negligible as compared with the mass of the atoms and molecules
of the medium from which they are taken. The principle forces involved
therefore are the forces involved in moving the charged atoms and molecules
from the region of the positive electrode 21 to and beyond the negatively
charged body 20. The force so exerted by the system on those atoms and
molecules not only produces a flow of the medium relative to the apparatus,
but, of course, results in a like force on the system tending to move the
entire system in the opposite direction; that is, to the left as viewed in
the figure 1."
Another explanation (found in US patent 3,022,430
p3) says, "Thus, between the mobile vehicle itself and the gas cloud or
fluid stream left in its wake, there is produced a force tending to move the
surrounding medium past the mobile vehicle and to the rear of the trailing
gas cloud. This force, of course, is accompanied by an equal and opposite
reaction which serves to propel the mobile vehicle forward." Hence, it is
the negative electron environment which moves (as it is the more mobile of
the two anyway), but as it is also attached to the mobile vehicle it also
propels that as well - so the opposite reaction movement is always
perpetuated.
Or yet otherwise, polarize the electrode environments,
shoot the electrons to a distant area - then they will be forced to move
with that environment. The returning REACTION is what determines
movement ( see
figs.31).
Note ¹ This is quite an under-statement of his point - for an individual
electron has one thirty-thousandth the mass of an oxygen atom, and has one
four-hundred-thousandth the mass of a lead or bismuth atom...
PHILADELPHIA EXPERIMENT
- (and TT Brown circa. 1952-1958)
"Theoretically speaking, Brown attempted to explain his results in terms
of Unified Field Physics. The point of departure between Brown and most
orthodox science is that Brown firmly believed in the existence of an
observable coupling effect between gravity and electricity and that this
coupling effect is precisely what is being demonstrated by his devices. In
other words, he contends that the [Biefeld-Brown] effect not only represents
a proved and demonstrable link between electricity and gravitation, but
represents one which can actually be harnessed and utilized for propulsion
purposes both within and outside of the earth's atmosphere ¹. The
similarities of all of this to the concepts reportedly utilized in the
Philadelphia Experiment project are readily apparent.
A 'DIELECTRIC' is defined as a material which has the unique ability of
absorbing electrical energy and 'charge' without ordinarily passing this
energy on to neighbouring materials. Some dielectrics are able to absorb
enormous quantities of electrical energy (also referred to as 'ELECTRIC
STRESS') without discharging, provided that the energy is fed into the
dielectric slowly and at low potential. Still others can be charged and
discharged at extremely high potential at a rate of several thousand times
each second. Townsend Brown concerned himself principally with this latter
type. Using just such a dielectric, Brown constructed disc-shaped (or saucer-shaped)
condensers, and, by applying various amounts of high-voltage direct current,
witnessed the [Biefeld-Brown ² ] effect in action. With the proper
construction and electrical potential (in the kilovolt range) the disc-shaped
'airfoils' were made to fly under their own power, emitting a slight hum and
a bluish electrical glow as they did so. More scientifically, perhaps, this
process of 'flight' might best be described as 'motion under the influence
of interaction between electrical and gravitational fields in the direction
of the positive electrode'.
In 1953, Brown succeeded in demonstrating in a laboratory setting the
flight of disc-shaped airfoils 2 feet in diameter around a 20-foot-diameter
circular course. The process involved tethering these saucer-shaped craft to
a central pole by means of a wire through which the necessary direct-current
potential was supplied at a rate of 50,000 volts with continuous input of 50
watts. The test produced an observable top speed of an amazing 17 feet per
second (about 12 miles per hour).
Working with almost superhuman determination and at
great cost to his personal finances, Brown soon succeeded in surpassing even
this accomplishment. At his next display, he exhibited a set of discs 3 feet
across flying a 50-foot-diameter course with results so spectacular that
they were immediately classified. Even so, most of the scientists who
witnessed the demonstrations remained sceptical and generally tended to
attribute Brown's motive force to what they called an 'electrical wind' -
this in spite of the fact that it would have required a veritable 'ELECTRIC
HURRICANE' to produce the lift potential observed ! Nonetheless, pitifully
few ³ gave any credence whatsoever to ideas that the [Biefeld-Brown] effect
might represent anything at all new to the world of physics. Government
funding was sought to enable the work to continue, but in 1955, realizing
that the money would not be forthcoming, a disgruntled Brown went to Europe
in hopes that perhaps he might be able to generate a little more enthusiasm
there.
Although demonstrations were given first in England, it
was on the Continent, under the auspices of a French corporation, La Societe
Nationale de Construction Aeronautique Sud Ouest (SNCASO), that things
really began to look promising. During a set of tests performed
confidentially within the company's research laboratory, Brown succeeded in
flying some of his discs in a high vacuum with amazing results.
Brown was ecstatic, for not only had he succeeded in proving that his discs
flew more efficiently without air, but he had also shown that the
speed and efficiency of his craft could be increased by providing greater
voltage to the dielectric plates.

Contemporary accounts easily visualized speeds of several hundred miles per
hour using voltages in the range of 100,000 to 200,000; and at least one
writer spoke of a 'FLAME JET GENERATOR' then in the planning stages which
supposedly would be able to provide power potential up to
15 million volts ! (See his US Patent 3,022,430).
In fact, plans had been laid for the immediate construction of a large
vacuum chamber and a 500,000 Volt power supply when disaster struck the
project in the form of a corporate merger. SNCASO had agreed to combine with
a larger company, Sud Est. The president of the emerging company proceeded
to demonstrate an appalling lack of interest in 'these far-out propulsion
research efforts' and favoured instead an increased interest in air frame
manufacture. Consequently, all facilities ordered by the former president to
carry forward the electrogravitic research work were summarily cancelled and
a thoroughly disappointed Brown was forced to return home to the US in
1956."
[Taken from "The Philadelphia Experiment" - by Charles Berlitz
(1980) chapter 10 (p/back p138-151]
Note¹ Brown now undertook a whole new series of experiments designed to
determine the exact nature of this new ‘force’ he had discovered, and after
much effort he finally succeeded in developing a device which he
optimistically chose to call a ‘gravitator’. This initial invention
was a very crude structure that looked like nothing more than a Bakelite
case (see British patent 300,311 fig.8) some 12 inches long and 4 inches
square; but when placed on a scale and connected with a 100 kilovolt power
source the apparatus proceeded to either gain or lose about one percent of
its weight, depending on the polarity used.
Note² I have nowhere found any scientific reference to such a named
effect, although Brown (in his Early Laboratory Reports) mentions that it
was Dr Paul A. Biefeld, the Director of the Swazey Observatory at Denison
Univ. Granville, Ohio (and close friend and classmate of Einstein in Zurich),
who in the 1920s 'planted the seed' for this avenue of Brown's ingenuity. (For
more information see the
TT Brown
family website).
I have, however, found a reference to a Le Chatelier-Brown principle,
which describes an electrokinetic phenomenon likely to have come from TT
Brown's work: if motion occurs under the influence of an electric field,
then an electric field must be formed by motion (in the presence of an
electrokinetic potential). (Taken from "Principles of Electrochemistry"
(2nd ed) by Jiri Koryta et al (1993) p243)
Note³ When an idea is good its sponsored and developed, when an idea is
too good its classified. Nice One !.. But Col. Philip J. Corso says
it all in his book "The Day After Roswell" (1997) when he says, "If
the magnetic field theory experiments carried out by engineers and
electrical energy pioneers Paul Biefeld and Townsend Brown in the 1920s at
the California Institute for Advanced Studies were accurately reported - and
the U.S. military as well as scientific record keepers at Hoover's young
Bureau of Investigation kept very close tabs on what these engineers were
doing - then the technological theory for antigravity flight existed before
World War II." (h/back p110/111)(p/back p120).
But then again, this era of Brown's work pales into insignificance when you
take a look at the development work he was involved in at the Bahnson
Laboratory in the early 1960's ( see
Bahnson-Adamski Ufo page)...
|
THE
BROWN-BAHNSON-ADAMSKI ELECTRIC UFO In the late
1950s and early 1960s Thomas Townsend Brown teamed up with Agnew H.
Bahnson and James F. King to develop anti-gravity discs at the Bahnson
research laboratory in Winston-Salem N.C.
Through
their combined ingenuity they developed Brown's ideas of electrokinetic
levitation and progressively discovered, among other things: How
to direct the craft's electric field so as to steer its movement. How
to constrict, or confine, that electric field so as to amplify its
thrust energy and make it more efficient. How improved ionization
of, and its resonance within, the surrounding air-ambient increases
thrust. And That voltage pressure was more important to the
electrokinetic thrust effect than current flow (whereby, for instance, a
3-fold increase in voltage pressure gave a 17-fold increase in thrust).
But it seems also that they had taken note of the work of Leonard G.
Cramp who published, in 1954, in his book "Space, Gravity and the
Flying Saucer" several technical drawings of George Adamski's ufo.
Below is a brief tour through the patents of A.H. Bahnson and a look
at some pictures of the Bahnson Lab prototype models.
That this steering mechanism relates to many other types of ufo
visiting earth in these few decades can be seen in the
Grangemouth Electric Ufo page.
|
|
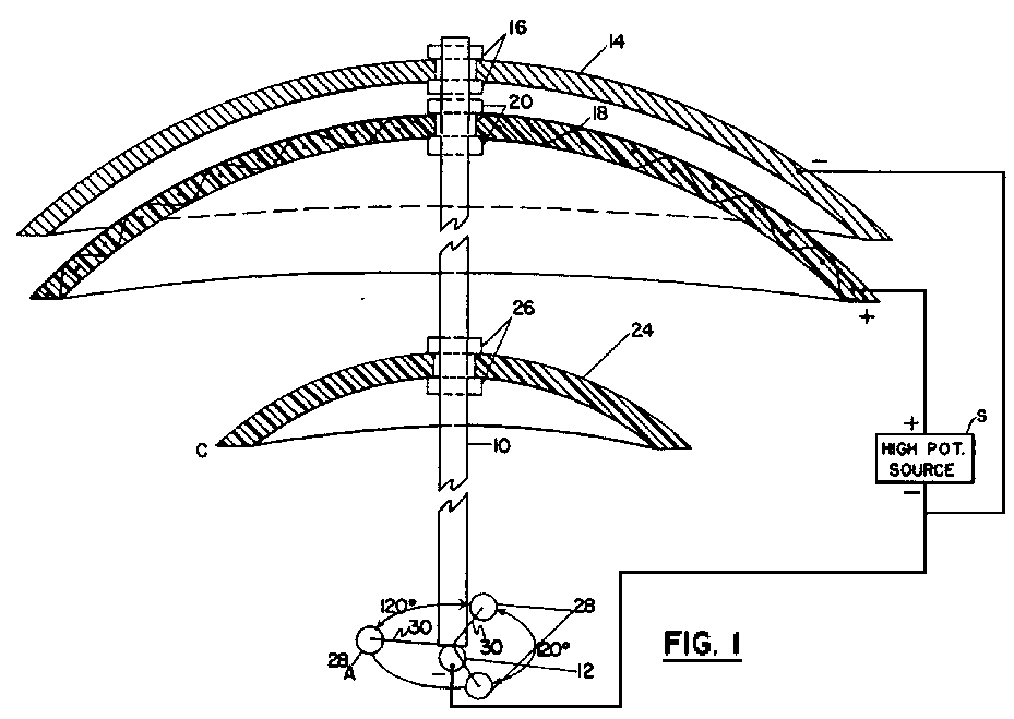
BAHNSON THRUST I - (excerpt from US patent 3,263,102)
|
|
|
...In
accordince with the present invention, the thrust developed in the
longitudinal direction of the supporting member 10 may be
augmented by the use of an array of auxiliary electrodes arranged about
the axis of the supporting member in a common plane transverse to such
axis, or this array of auxiliary electrodes can be used to effect a
CANTING action on the supporting member thus effecting a STEERING of the
same in a desired direction. In one practical embodiment of the
invention, as shown in fig. 2. the array of auxiliary electrodes is
comprised of three arcuate surfaces, such as spheres 17a, 17b
and 17c of electrically conductive material mounted adjacent that
end of the supporting member 10 at which the electrode 11
is located. The spheres 17a-17c are arranged at a uniform
radial spacing relative to each other about the longitudinal axis of the
supporting member 10, i.e. at a mutual angular spacing of 120º in
a common plane transverse to such axis, and are carried by rods 18
of insulating material which extend laterally outward from the lower end
of the supporting member 10 also at a mutual angular spacing of
120º. In order to produce the auxiliary thrust, means are provided for
selectively energizing the auxiliary electrodes 17a-17c
from a source of potential. Conveniently, the potential source 15
can be used for this purpose, and conventional switching means can be
employed for the selective energization of the auxiliary electrodes from
this source. Each of the auxiliary electrodes, when energized, will have
the same potential as that applied to electrode 11, which is
negative.
The switching means for each auxiliary electrode, as illustrated, is
comprised of a single pole, single throw switch, one terminal of each
switch being connected to the negative terminal of the potential source
15 and the other switch terminal being connected to the auxiliary
electrode. Thus switch 19a is used to selectively connect
auxiliary electrode 17a to the negative terminal of the potential
source 15, and in a similar manner, switches 19b and
19c are used to selectively connect auxiliary electrodes 17b
and 17c to that source.
If it is desired to use the array of auxiliary electrodes to
supplement the thrust produced longitudinally of the supporting member
10 by energization of the two main electrode members 11
and 12, all of the switches 19a-19c are closed thus
impressing all of the auxiliary electrodes 17a-17c
with the same negative potential as is impressed upon electrode 11.
Thus each of the negatively energized auxiliary electrodes in
conjunction with the positively energized main electrode 12
produces an additional thrust component, and since all of the auxiliary
electrodes are uniformly spaced about the axis of the support member
10, these additional components of thrust act symmetrically on the
support member 10 so that the latter is balanced axiaIly and the
motion proceeds along its axis...
|
|
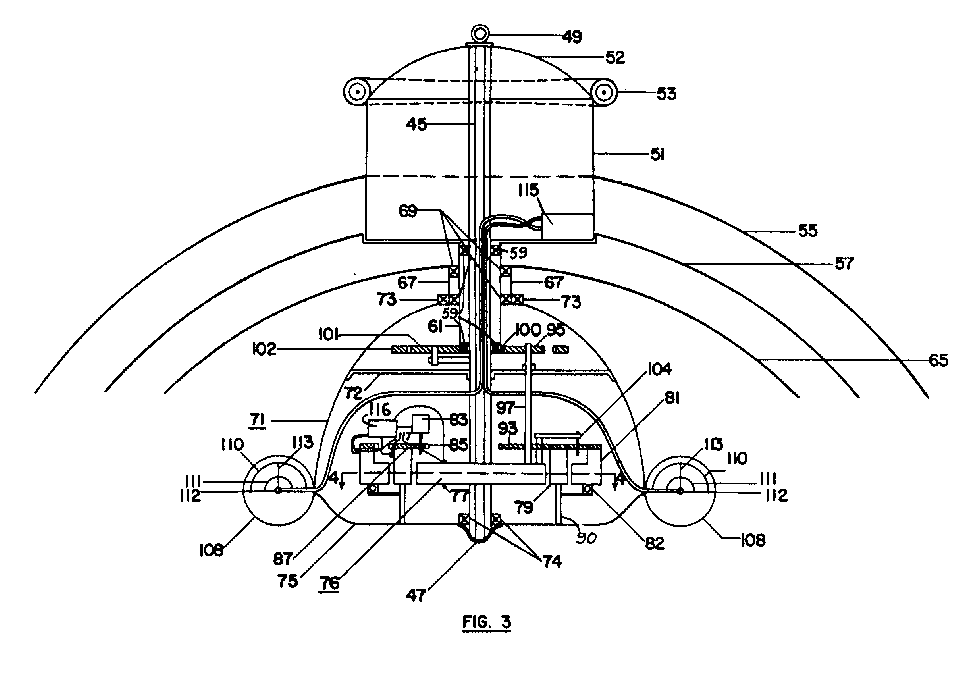
BAHNSON THRUST II - (excerpt from US patent 2,958,790)
|
|
|
The two
outer pictures are of Bahnson's prototype craft (circa.1958)
both from the TT Brown family website
(http://www.soteria.com/brown/pictures/) of the "space vehicle"
|
|
|
...Referring
now to Figure 3 [above], there is depicted still another illustrative
embodiment of this invention. As therein depicted, the thrust producing
device is assembled around a central supporting rod or pylon 45.
On one end of pylon 45 is mounted an electrode 47, while
on the other end of pylon 45 a conducting member 49 is
mounted. An enclosed dielectric chamber or load carrying container 51
is secured in the region of one end of rod 45. This compartment
or cabin has a domed top 52 constructed of insulating material in
a manner similar to member 24 in Figure 1 [of this patent]. Toroidal
coil 53 is located at the junction of the domed top and the top
of the cabin for the purpose of shaping the field of the electrodes.
When conducting meriber 49, which may be a coil, as shown, and
coil 53 are charged to the potential of curved member 57,
the resulting field aids the field radiating from the electrodes by
acting as field shaping devices. By charging elements 49 and
53, the lift or thrust developed by the device is increased in the
order of 20 % to 30 %. A first arcuate member 55 is secured to
chamber 51 and comprises conducting or semi-conducting material.
A second arcuate member 57 is rotatably mounted on rod 45
by means of suitable bearings 59. Arcuate member 57
defines an electrical force field producing electrode which may be of
individual wires embedded in a dielectric material either running
radially from the center of the electrode toward the edges or circularly
in a spiral around the surface of the electrode. Electrode 57 is
connected to a cylindrical member 61 which is preferably of
dielectric material and is spaced from rod 45 by means of the
previously mentioned bearings 59. A third arcuate member 65
is secured to a cylindrical portion 67 which is rotatably mounted
around the outer periphery of cylindrical member 61 by means of
suitable bearings 69. A housing member 71 is supported
on one end of the central pylon 45 by annular plate 72.
Bearings 73 are positioned between the upper edge of housing
71 and cylindrical member 67. The bottom 75 of housing
71 is free to rotate on bearings 74 since it does not come
in contact with housing 71... [The patent goes on to describe a
small electrostatic generator within housing 71].
...A plurality of spheres (or curvaceous surfaces) 108, for
example three, are mounted at equally spaced distances around the outer
periphery of housing 71 and each encloses a pair of arcuate
electrode surfaces 110 and 111 rotatably mounted about a
pivot point or point electrode 112 by means of a rod 113.
These electrodes 110 and 112 produce thrust in a manner
similar to electrodes 18 and 12 in Figure 1 [of this patent]. The
direction in which this thrust is produced is from point electrode
112 along the axis of electrode 110. It will therefore be
apparent that the direction of thrust produced by these rotatable
condensers on the pylon 45 can be controlled by controlling the
direction of orientation of rod 113. The orientation of rod
113 can be controlled by any convenient means, such as by suitable
motors and gears (not shown) or their orientation may be controlled
manually.

Arcuate member 55 performs the same function of REFLECTING or
CONFINING the field emanating from electrode 57, as was performed
by conducting member 14 with respect to electrode 18 [of fig.1 of this
patent]. The elements contributing to increased thrust over that
produced by the element 57, which is normally positively charged,
and point electrode 47, which is normally negatively charged, are
the following: The intermediate member 65 which interacts in the
field established between electrodes 47 and 57, the
introduction of the reflection or confining canopy 55, the
counter rotation of charged surfaces 65 and 57, the three
rotatable condensers, the toroidal coil 53, circular member 49
on top of the pylon, and dielectric dome 52 which is a field
shaping component between coil electrode 49 and coil 53
when both of them are charged positively or the same charge as element
57... |

Torsion fields can be generated as the result of
the distortion of geometry of the physical vacuum.
Burulma alanları
fiziksel vakum
geometrisinin bozulmasının bir
sonucu olarak oluşturulabilir.

Warp Drive Propulsion & Starship Travel Technology
Warp Drive Propulsion and Starship Travel Concept
...laid out in laymen's terms. It basically creates a magnetic warped bubble
of space around the 'body of a starship. Then, the magnetic bubble of warped
space will "pull space" or "shorten space" in front of the ship and will
push space -- expand space -- in the back the starship, propelling it faster
than the speed of light.
...torsion
fields, quantum energy vortex, high-energy vortices, exotic space drive
high-energy physics experiments, space-time vortex energy...
The electromagnets surrounding the torus generate the toroidal field, and
the center electromagnets generate the poloidal. - See more at: http://informedchristians.com/index.php/Articles/time-cern-and-the-bible.-part-iii#sthash.LwfKgzFD.dpuf
The electromagnets surrounding the torus generate the toroidal field, and
the center electromagnets generate the poloidal. - See more at: http://informedchristians.com/index.php/Articles/time-cern-and-the-bible.-part-iii#sthash.LwfKgzFD.dpuf
The
electromagnets surrounding the torus generate the toroidal field, and the
center electromagnets generate the poloidal.
In short, the
Haunebu, Vril, & Thule Triebwerks discs created powerful rotating
electromagnetic fields that affected gravity.
The Nazi Haunabu-type craft used triangulated Marconi vortex dynamos (which
were the high spin, high voltage, high current capacitors filled with liquid
mercury). These are the spheres seen underneath; these were not gun ports,
as often drawn in fantasy depictions. When these capacitors have a lower
rotational / voltage net energy, the craft rises; when they have a higher
energy, the ship descends. Their triangular placement is to optimally
manifest the boundary layer effect that encapsulates the craft.
The strong, rotating electromagnetic fields were increased in voltage to
create increased frequency field oscillations, essentially to where it
created hyperspace.
The separate gravitational field around the craft allowed the occupants to
be unaffected by the gravitational affects outside the field, and thus the
crafts can perform the turns and speeds often witnessed.
* Because the gravitational field around the craft was different than the
surroundings, these crafts were not usable as weapons, since they could not
fire weaponry from one gravitational field to the other without adverse
effects from the equal force. This technology was being developed for
observation, transport, and for much later use.
Electromagnetic
space drive. Anti Gravity Theories
In short, the Haunebu, Vril, & Thule Triebwerks discs created powerful
rotating electromagnetic fields that affected gravity. The Nazi Haunabu-type
craft used triangulated Marconi vortex dynamos (which were the high spin,
high voltage, high current capacitors filled with liquid mercury). These
are the spheres seen underneath; these were not gun ports, as often drawn
in fantasy depictions. When these capacitors have a lower rotational /
voltage net energy, the craft rises; when they have a higher energy, the
ship descends. Their triangular placement is to optimally manifest the
boundary layer effect that encapsulates the craft.
The strong, rotating electromagnetic fields were increased in voltage
to create increased frequency field oscillations, essentially to where it
created hyperspace.
The separate gravitational field around the craft allowed the occupants
to be unaffected by the gravitational affects outside the field, and thus
the crafts can perform the turns and speeds often witnessed.
Because the gravitational field around the craft was different than the
surroundings, these crafts were not usable as weapons, since they could
not fire weaponry from one gravitational field to the other without
adverse effects from the equal force. This technology was being developed
for observation, transport, and for much later use. - See more at: http://informedchristians.com/index.php/Articles/time-cern-and-the-bible.-part-iii#sthash.LwfKgzFD.dpuf
'Toroid Coil', Anti-Gravity propulsion,
Vortex Coil, The Magnetic Engine and anti gravity
propulsion system
Standing wave Rodin Coil Design,
Gravito-Electromagnetism
FIELD PROPULSION,
Anti-gravity craft.
Rodin bobini ile evrenin herhangi bir yerine seyahat mümkün deniyor ama
nasıl?
Toroidal Field Coils,
Field effect, Zero Field Energy, Electrodynamic field generator
, "Frequency Generator"
...toroidal generating coils are rotatably
mounted. Gravito electromagnetic field propulsion.
Toroid (geometry)
magnetic vortex generator, spacetime
curvature distortion

This magnetic wave creates a spacetime curvature.
a magnetic vortex wormhole generator.
Marko
Rodin ve gönüllülerinin Girdap Temelli Matematiği çalışmalarının amacı
enerji ve teknoloji dünyasında köklü bir devrim yaratmak ve bunu açık
kaynaklı bir proje ile kamuoyuna sunmak.
Torsion fields are generated
by spin and/or by angular momentum: any object or particle that spins
produces torsion waves and possesses its own unique torsion field. According
to some, torsion waves are the missing link in the search for a final
‘theory of everything,’ a unified field theory.
Warp Drive Propulsion and Starship Travel Concept
...laid out in laymen's terms. It basically
creates a magnetic warped bubble of space
around the 'body of a starship. Then, the magnetic bubble of warped space
will "pull space" or "shorten space" in front of the ship and will push
space -- expand space -- in the back the starship, propelling it faster than
the speed of light.

A Torus Field
Expanded Space
Positive +
Negative -
Alcubierre Warp Drive Bubble
Shortened Space
''Warp Drive Propulsion & Starship Travel Technology''
.
A Combination of Magnetic North and Magnetic South of The Torus Field and
The Combined Fields of The Alcubierre Warp Drive Bubble of Shortened Space
and Expanded Space and The Horizontal Positive + and Negative -
Electromagnetic Forces.
Here it is all laid out in ''Laymen's Terms''; It basically ''Creates A
Magnetic Warped Bubble of ''Space'' around the ''Body of A Starship'' then
the ''Magnetic Bubble'' of ''Warped Space'' will ''Pull Space or ''Shorten
Space'' In front of The Ship and will Push Space ''Expand Space'' in the
Back the ''Starship'' propelling it ''Faster Than The Speed of Light''.
Imagine a ''Field of Both Positive and Negative Electro + Magnetic Energy''
combining the Fields of ''Electricity + Magnetic Forces'' you could
Virtually Produce a Field which could ''Generate a Warp Bubble of Warped
Space/Time'' around the Starship itself. This could thrust the ship faster
than the ''Speed of Light'' just as fast as ''Neutrinos''.
Torsion fields influence spin states and can influence the state or
vibration of physical objects, such as a room, whose field can be changed by
the influence of an external torsion field being placed near or within it.
The result of this influence, can be the creation of a change in the
polarity of the room, which will remain intact even when the external
torsion field is moved to another area of space. This was shown in research,
done by William Tiller, PhD, into the effect ofintention embedded into his
‘Black Box’,on the growth of fruit flies. What this indicates is that the
energy or vibration of certain torsion fields
can be ‘recorded’ onto
physical or biological objects such as The Matrix Connecter.
Evrendeki Torus Enerjisi

Kendi kendisini sürekli yenileyen ve arttıran sonsuz bir enerji modeli var
mıdır?
Her şeyin sınırlı olduğu, bir başlangıç ve bitişi olduğu, tüm enerjilerin
sonlandığı bir dünyadayız. Petrol temelli enerjiye dayanan tüm medeniyetimiz
bir sona doğru gidiyor. Yeni enerji kaynakları bulmaya ya da kullanmaya da
niyetimiz yok gibi görünüyor. Kurulan tüketim sistemlerini bozmak kimsenin
harcı değil ne yazık ki.
- Geometric structure of
torus
“If you
want to find the secrets of the universe, think in terms of energy,
frequency and vibration.”
— Nikola Tesla

Birçok bilim adamı tarafından bulunan maliyetsiz ve dönüşümlü enerji
modelleri mevcut sistem tarafından yok edilmiştir.
Bu enerji modellerinin temel
sistemi, çift kutuplu çekim alanı kullanılarak yaratılan bir sistemdir. Çift
kutbun birbirine yarattığı etki bir kez başladıysa harcadığı enerjiden daha
fazlasını üreterek kendi kendine devam eder. Bu kutupluluğun yarattığı
enerjinin döngüsüne TORUS modeli adı verilir.

Torus şekli, matematiksel bir örüntü olarak da formüle edilmiştir. Bir
elmanın, bir simidin şekli torustur. Torus şekli, yaşam içeren birçok
birimin üzerinde mevcuttur. Dünyanın, gezegenlerin, güneş sisteminin,
uçağın, uçan dairenin
ve atomun dönüşü üzerinde torus örüntüsü vardır. Bazı bilim adamlarınca
evrenin şeklinin de torus modelinde olduğu kabul ediliyor. Torus örüntüsü
içindeki enerji, merkez etrafında daireler çizerek bir uca akar ve diğer
uçtan çıkar. Kendini ayarlayan kaotik bir sistemdir ve dengelidir. Yani
merkezdeki enerji, bir uçta karadelik, diğer uçta ak delik gibi davranır.

Tesla’ nın bulduğu ve Sanayici Morgan tarafından sabote edilen enerji
sistemi Torus modeline göre hazırlanmıştı. Sonraki yıllarda benzerleri
bulunan bu sistem, batı bilimi geçmişinde sürekli bastırılarak yok
edilmiştir. (Meraklısına not: Thrive adlı belgesel bu konuyla ilgili
bilgiler vermektedir.) Füzyon enerjisi çalışmalarında torodial formlar
Rusya’da kullanılmaktadır.

Torus örüntüsü pek çok gizem taşır. Dünya üzerinde kadim zamanlardan kalma
yaşam çiçeği formu, torus örüntüsünün iki boyutlu iz düşümüdür. Bu konuda
araştırmalar yapan Nassim Haramein, geometrik hologram çalışmalarıyla bunu
ispat etti.
Cennetten kovulan Âdem ile Havva’nın bilgi ağacından yedikleri elmanın
şeklinin de bir torus örüntüsü olduğunu düşününce gizem artıyor.
Kutsal bir geometri olduğu düşünülen torus örüntüsünün, insanın bedeni
üzerinde de manyetik olarak var olduğu kabul edilmeye başlandı son yıllarda.
Bu bilgi aslında yeni değil, tam aksine çok çok eskidir. Kadim kıtalardan ve
uygarlıklardan kalan yaşam çiçeği bilgileri içinde bunu görebilmek mümkün.
Kabala bilgilerinin temelinin de bu örüntünün gizemlerine dayandığını
bilenler biliyor.
İnsan bedeninde var olduğu kabul edilen çakralar, Torusun merkezinden geçen
ana hat üzerindedir. Tepe çakrası ile kök çakra arasındaki manyetik alanın
merkez noktasında ise kalp çakrası vardır. Kalbin taşıdığı yüksek manyetik
alanın tespit edilmesi, bedenin etrafındaki torus manyetiğini açıklamak için
önemli bir delildir.

Bedendeki Torus Kafesi
Nefesin ritmi, kalbin dairesel yayılımı ile senkronize olduğunda, bedenin
tümüyle bir ahenk yaratarak, merkezinde kalbin olduğu büyük bir torus kafesi
yaratır. Bu kafesin iki kutbu vardır, aşağıdaki yeryüzü ve yukarıdaki evren…
Yeryüzü kutbu, omurganın sonundaki kuyruksokumu ile başlar. Evren kutbu ise
bedenin tepe noktası ve epifiz bezidir. Ruhun bedene bu noktadan girip, bu
noktadan çıktığı ve epifiz bezinin bilincin merkezi olduğu söylenir. Epifiz
bezinin büyümesinin 1-2 yaşına kadar devam etmesi de bunu kanıtlar
görünüyor.
Torus kafesinin ortasından geçen girdaba benzer boşluk alanda sıralanan
enerji merkezleri vardır. Çakralar adıyla tanımlanan ve bedendeki bezlere
karşılık gelen bu enerji merkezleri, kişinin torus kafesinin şeklini, gücünü
ve kalitesini etkiler. Fiziksel sağlığı ve dengeyi kuran bölgesel bezlerin
her birine karşılık gelen duygu ve farkındalık seviyesi vardır.

Fiziksel bedenin etrafında bir enerji bedeni olduğu bilgisi binyılların
bilgisidir. Bedenin etrafını saran bu enerji alanı birçok etkiye bağlı
olarak her varlıkta farklı bir modeldedir. DNA ışıması, hücrenin
vibrasyonları, beynin düşüncelerle yaydığı dalgalar ile sürekli değişen bu
model holografik bir yapıdadır.
Alçalıp yükselen
elektromanyetik frekanslarla kendini belirleyen bu alan,
evrenin nabzı ile uyumlu bir ilişki kurduğunda COHERENCE dengesi denilen
0.10 Hertz frekansında olur.
Evren modeli olarak Torus şeklini kabul edenler der ki, Evrende yol alan bir
şey başladığı noktaya geri döner. Yol alabilen şeyin, ışık olabileceğini
düşündüğümüzde zaman kavramı işin içine girer. Çünkü ışık, zamanın içinde
yolculuk yapar. İki ucu açık boru gibi bir kanala sahip olan Torus şekli,
uzay-zamanı açıklamak için de uygun bir modeldir.
Torus modelinde frekansların yayılımı sırasında oluşan karşıt dalga
bantları, bazı noktalarda kesişirler. Bu kesişim noktaları arasında kalan
boşluklar nedeniyle Torus modeli, kafes gibi bir yapıya sahiptir. Tüm
evrenin oluşturduğu modele
evrenin kozmik kafesi
denilebilir. Bu kafes Torus
manyetiğine sahip olarak insanın etrafında da vardır ve
evrenin kozmik kafesi içinde
yer alır.
İnsan Torus kafesinin kesişme
noktaları ile evrenin kozmik kafesinin kesişme noktaları, ortak manyetik söz
konusu olduğunda birbirine bağlıdır.
Konu-duygu-düşünce-bilinç-farkındalık
gibi alanlardaki ortak frekanslar bu bağlanmayı oluşturur.

Uzay-Zamanı modellemek için kullanılan Torus, evren için her daim
dengededir. Fakat insan söz konusu olduğunda bu dengenin her an aynı
olacağını söylemek mümkün değildir. Coherence dengesi denilen frekans, öfke,
stres, gerilim, mutsuzluk gibi duygu durumlarında bozulur. Bu bilgi ortaya
çıktığından beri bazı doktorlar bu dengeyi korumak için EM cihazı denilen
bir cihaz takarak dolaşmaya başlamışlar. Cihaz, bedenin frekansı 0.10
Hertzten uzaklaşınca sinyal verir ve kişi kendi duygu durumunu kontrol
etmeye yönelir. Hatta, bazı ülkelerde GEM terapi adı verilen insan bedeninin
manyetik alanını düzenleyen tedaviler uygulanmaya başlanmıştır.
Bu tedavi yönteminde insan üzerindeki manyetik alan merkezinin kalp bölgesi
olduğu kabul edilir. Tedavi cihazı ile bu bölge üzerinde frekans çalışması
yapılır. Bu tedavi sistemi ile ilgili Güç Katalizörü adında bir kitap yazan
John Whale, bedenin önünde kalbe, sırtta ise kürek kemikleri ortasına denk
gelen bölgenin, Toltek bilgeliğindeki “Birleşim Noktası” olduğunu söyler.
Carlos Castaneda, yazdığı kitaplarda, insanın evrene bağlanma noktasının
kalp arkasında olduğunu ve insanın ışıklı manyetik bir yumurta içinde
olduğunu söyler. Bu bilgiyi binlerce yıl öncesinin gizemli Toltek
Uygarlığının üstatlarından almıştır. Castaneda, birleşim noktasının
manyetik bir bant noktası
olduğunu ve kayması ile insanın farkındalığının
başka boyutlara geçebildiğini
söyler. 1960 yıllarında
yazdığı kitaplardaki bilgiler, bugün bilim için ancak kısmen açıklık
kazanmaya başlamıştır. Torus örüntüsünün insan etrafında var olduğunun
anlaşılması, kalp
elektromanyetik alanının
keşfine bağlı olarak anlamlanmıştır.

Torus Kafesi ve Nefes
İnsan etrafındaki torus
kafesinin,
kalp-düşünce-nefes ile bağlantılı olduğu ve her birinin insan etrafındaki
elektromanyetik alanı değiştirmede belirleyici olduğu bilimsel olarak
kanıtlandığına göre, nefesi yöneterek bu manyetik alanın yönetilmesi mümkün
müdür? Nefesin tüm gücünü bilenlere göre, nefes ile insan etrafındaki
manyetik alanın tam kapasite ile dengeli olarak devreye girmesi mümkündür.
Bu manyetik alan 17 metreye kadar etki yaratacak büyüklüğe gelebilir. Çakra
merkezleri torus
girdabının ortasından
geçer. Her bir çakra bir enerji merkezidir. Tüm çakraların dengeli ve tam
güçle enerji ürettiği bir beden dengesi, kalp elektromanyetiği ile
birleştiğinde, bedendeki tüm doku, hücre ve DNA’nın yarattığı titreşimler,
zihnin ve bilincin ortak niyetinin emrine girer. Bu birliğine ulaşıldığında
oluşacak olan enerjetik beden,
evrenin kozmik kafesinin
yetkilerine sahip olabilir. Çünkü bu birlik hali,
evrenin nabzı
ile birlikte atmayı sağlar.
Evrenin frekansında
titreşebilen insan, kozmik ile bütünleşir.
Bu bütünleşme sırasında insanın ulaşacağı enerji, Torus örüntüsü kurallarına
göre çok yüksek bir güce ulaşır. Bilinci ile kozmiğin kafesi içinde
dolaşabilir, bilgi alabilir, yolculuk yapabilir. Niyeti ile
kozmiğin kuantum alanı içinden
herhangi bir dalgayı kendi realitesine çökertip, pek çok şeyi
gerçekleştirebilir.

Kadim bilgilerde bu gücün başarabilecekleri arasında
başka bir boyuta geçmek
olduğu da söylenir. Kabala
bilgilerindeki sonsuz bedene kavuşma çalışmalarında torus ve nefes bilgileri
vardır. Sesler ve nefes kullanılarak yapılan çalışmalar, kabalistler
tarafından gizemle saklanmaktadır.
Torus Nefesi...
Torus kafesinin en büyük gizemi, bilinci
zaman boyutunun içinde
sıçratabilmesidir. Bir
bilincin kendi tüm zamanlarının içindeki bu yolculuğu yapabilmek için özel
bir nefes tekniği kullanılmalıdır. Merkezde bulunan kalp bölgesinden
başlayarak oluşturulan dairesel manyetik alanlar, çakraları takip ederek
dışarıya doğru genişletilir. Bir insan torusunun içinde merkezden başlayıp
dışarıya doğru büyüyen iç içe geçmiş üç tane
torus küresi vardır.
Her alan belirli bir zaman boyutunun kademesi içine girilmeyi sağlar. En
dıştaki makro torusa ulaşıldığında, nefes alan varlığın tüm zaman
potansiyellerinin alanına ulaşılmış olur. Bu potansiyeller, hem geçmişi hem
de geleceği kapsar. Torusun örüntüsü içinde içiçe geçmiş manyetik iki ana
bölüm vardır ve bir bölüm geçmiş zamanı, bir bölüm gelecek zamanı kapsar.
Her ikisine de girebilmek için önce kalp merkezindeki sıfır noktasındaki
bilinç anında olmak gerekir.
Beyine ve bedene gerekli kimyayı yaşatırsanız, Torusunuzun mutlak sıfır
noktasında kalıp, geçmişlerinizi ve geleceklerinizi izleyebilirsiniz.
V=2π²Rr²
Matematikçiler, bu şekle Torus derler.
Torusun içindeki enerji bir uca akar merkezin etrafında daireler çizer ve
diğer uçtan çıkar. Dengelidir, kendini ayarlar ve her zaman tamdır. Torusla
ilk resmi tanışmam bilim adamı ve mucit Arthur Young sayesinde oldu.
Gelecekçi Duane Elgin doğanın, Torusu her boyutta nasıl ilk şekil olarak
kullandığını açıklıyor. Evrim, katları açmak ve büyük resmi göstermek
demektir. Sorumuz şu, Evren neyin büyük resmini gösteriyor?

Evren’in büyük resmini gösterdiği şey “kendinden organize” olan sistemlerdir
ve onları her boyutta görebilirsiniz. “Kendinden organize” sistem teknik
terimdir ve anlamı sistemin kendine tutunması özünde, sistemin kendini
bilmesidir. Eğer doğaya bakarsak bu “kendinden organize” formları her yerde
görebiliriz. Onu, bir portakalın kesitinde bir elmanın kesitinde
görebiliriz. Kasırganın dinamik doğasında görebiliriz. Dünyanın etrafındaki
manyetik alanda benzer bir manyetik alan olan, bir bireyin etrafında
görebiliriz. Onu Girdap Gökadası yapısının tamamında görebiliriz. Küçük bir
atomun yapısında görebiliriz. Tarih boyuca, bütün boyutlarda Evren’in tek
bir projesi oldu. Büyüyen Torusları!

Evren, bir Torus büyütme fabrikası. Bu Toroidal dinamikler çeşitli
boyutlarda gözle görülür. Bunlardan biri Galaksi boyutudur. Galaksi, içinde
milyarlarca yıldızla dönen büyük yapıdır. Galaksilerin büyük kolları kendi
etrafında döndükçe merkezde girdap oluşturur bu da kendisini çevreleyen
galaksi halesinin merkezinden kıyısına gidiyor gibi görünür. Yıldızlar, bu
Galaksi diskinden harekete başlayıp halenin dışına çıkarlar girdaba girip,
geri çıkarlar. Mesela, Arcturus gibi yıldızların bu yoldan geçtiklerini
biliyoruz. Kendi gezegenimizin atmosferi için bile en uygun tanım budur.
Hava, Kuzey Kutbundan Ekvatora doğru aşağı hareket eder ve sonra yükselir ve
Güney Kutbundan Ekvatora doğru yukarı hareket eder ve sonra alçalır.
Güneş’in yüzeyindeki dinamik bile buna çok benzer. Tabii burada, duruma
dışarıdan küçük boyutta bir modelden bakıyoruz. Galaksiye gömülü olan
kümelere gömülü süper kümelere gömülü olan Güneş Sistemi’ne bakarsak sonsuz
Torus akıntısının içinde gezmiş oluruz. Torus, Evren’in nefesi gibi her
boyuttaki var oluşun enerji akışının formudur. Bir de, olayın altında yatan
bir yapı vardır ki bu, akıntıların birbirine uyumudur tıpkı iskelete benzer.
Buna vektör eşitliği denir. Bu terim, 20. Yüzyıl’ın büyük düşünürlerinden
Buckminster Fuller tarafından icat edilmiştir.
Fuller’ın göze hitap eden çalışmasından esinlenip yıllarımı vektör eşitliği
dinamiği ve Torus üzerine araştırma yapmaya harcadım. Torodial enerji
formunun potansiyelinden o kadar etkilendim ki onun şeklini çalışmak ve
uygulamalarını keşfetmek için 1997 yılında, adı “Sequoia Sempozyumu” olan
çok disiplinli düşünme havuzunu kurduk. Bu birlikte çalışmamız, beni Torus
ve vektör eşitliğinin ilk şekiller olduğuna ve Evren’in her boyuttaki
yaratılışının özü olduğuna inandırdı. “Sequoia Sempozyumu” buluşmalarında
makine yapımında Torus dinamiğini temel alarak yanmasız enerji
oluşturduklarını iddia eden mucitler olduğunu öğrendim. Bu devrimsel gelişme
sıfır noktası,
radyan
ya da
serbest enerji
olarak bilinen şimdi kısaca yeni enerji teknolojisi diye bildiğimiz yerlere
ulaşır.

Girdap şeklinde bükülmüş alanlar.. Evren’de enerjinin
nasıl işlediğini bize gösterdiğini sanıyorum..
Torus ve vektör eşitliği şekillerinin temiz, güvenli ve limitsiz enerjiye
ulaşabilmemiz için bize bir model ve yeni sevk şekilleri gösteriyor
olduklarını düşünüyorum. Bu şekilleri bir çok yere işleyen dünya dışı
uygarlıkların bize ulaştıracakları daha önemli nasıl bir mesaj olabilir!



Dr. Jack Kasher’la tanıştığımda bu kavram üzerine bir tasdik daha aldım
kendisi Nebraska Üniversitesinde görevli eski bir fizik profesörüdür ve UFO
olayını araştırmıştır. Sequoia Sempozyumundaki sunumunda Dr. Kosher, dünya
dışı uzay gemisine davet edildiğini iddia eden Lane Andrews adında bir
kadının olağanüstü çizimler serisini gösterdi.
Toroidal enerji alanının detaylı çizimlerini görünce
irkildim dediğine göre, Toroidal enerji alanı
aracı ilerletip yolcuları koruyordu. Bunun
ardından, James Gilliland’la görüştüm. James’in, Washington Adams Dağı’nın
yakınlarındaki çiftlik evinden çekilmiş saatlerce uzunlukta UFO görüntüleri
var. Ayrıca, kendisi uzay gemisine bindiğini de iddia etti. Aklımı başımdan
alan ise James’in, Lane Andrewsla hiç ama hiç tanışmadığı ve Lane’in
deneyimini bilmediği halde olayı çok benzer bir şekilde anlatmasıydı: Dönen
daire ışıklarıyla çok sayıda gemi. James ve Lane’in aynı
Torus dinamiğini tasvir etmeleri
ve ikisinin de devlet ve askeri ajanlar tarafından sürekli taciz edilmesi
basit bir tesadüf olabilir mi?



UFO düşüncesi bazılarına çılgınca gelebilir ama başka bir açıdan tamamen
akla yatkın. Dünya yaklaşık 4,5 milyar yaşında yani 4,500 milyon yaşında. Ya
4,501 milyar yaşında olan neredeyse bizimki gibi, başka bir gezegen varsa?
Bizden bir milyon yıl öndeler ve Galaksi boyutunda onlar neredeyse bizim
ikiz kardeşlerimiz. Bir milyon yıl sonra olacağımız yerdeler. Bütün bu
problemleri çözüp başka bir yol bulacağımız yerdeler bu yer
solucan deliği de olsa,
eğri boşluk da
olsa. Enerji üretmek için bir yol olmalı böylece onu havasız(sıfır nokta
alanı) yerden
çekebileceğiz. Ve onlar burada, bize bu yolu bulduklarını gösteriyorlar.Bu,
insan sistemi için büyük bir şok ve şu anda bu şoku yaşıyoruz.


Torusla uyumlu olursak temiz, güvenli enerjinin yeni formuna ulaşmamızın
anahtarını tutmuş olacağız. Bu, çağımızın en önemli teknolojik buluşu
olabilir!
Bu durumda, kim limitsiz ve her yerde bulunabilen bir enerji kaynağı istemez
ki?

Nikola Tesla “ışıyan enerji” dediği enerjiden faydalandığına inanıyordu. Pek
çok bilim adamı Tesla’nın, şimdilerde “serbest enerji” denen enerjiye
ulaşmış olduğuna inanıyor. Ama Tesla, projesini bitiremeden finansçısı ve
bankacı JP Morgan kendisi elektrik hatları için bakır kullanımının tekeliydi
Tesla’nın icadının kablo kullanmadan nasıl elektrik iletebildiğini fark etti
ve Tesla’nın fonunu kesti. Tesla’nın laboratuvarı yakıldı ve herkes için
limitsiz enerji görüşünü hayata geçirmeye çalıştığı için Tesla dernekten
çıkarıldı. Günümüz mucitlerinden Adam Trombly, Tesla’nın yaptığı işten ve
Torusla yapabileceklerinden esinlendi. Trombly havadaki elektrik enerjisine
erişerek doğrudan akım üretebilen bir dinamo kurdu. Gezegendeki manyetik
alanı taklit ederek ve bu makineyi döndürerek çalışabilecek bir dinamo
yaratabildiğimizi göstermeye çalışıyoruz. Ve çalıştı, çalışıyor. Doğayı veya
Jüpiter’i ya da uzayda dünya gibi dönen bir
dinamoyu düşündüğümüzde aslında uzayda manyetik alanı Torodial şekilde olan
dönen bir mıknatısımız ve mıknatısın altından ve etrafından geçen akış
çizgilerimiz olduğunu görürüz. Hem de
genişliyor ve kasılıyor. Nefes alıyor. Uzayın
enerjisini gerçek anlamda alıyor ve dönüştürüyor. Burada, bu Toroid’de,
Dünya’yı değiştirecek yeterli enerji var. Ve bu sadece teorik bir açıklama
değil, gerçekten doğru!

Kanadalı John Hutchison sadece serbest enerji pilleri üretmekle kalmadı
ayrıca, yer çekimine karşı gelmek yani, cisimleri havada tutmak için
Tesla’nın teorisini kullandı. Bu, kuvvet alanında devrim yaratabilir.
Hutchison’ın laboratuarı dağıtıldı ve makineleri, hükümet görevlileri ve
polis tarafından 1978 yılında 1989’de, ve 2000’de toplandı. Bu film için
röportaj yapacak olan bir başka bilim adamı Dr. Eugene Mallove olacaktı.
Kendisi MIT ve Harvard’da bir mühendis ve yeni enerji alanları üzerine
teorik ve teknolojik gelişmeleri içeren “Sonsuz Enerji” dergisinin
editörüydü. 2004 yılında Dr. Mallove gizemli bir şekilde dövülerek
öldürüldü.


Eğer bu mucitlerin hepsi birer oyuncu ve şarlatansa neden sürekli ve sert
bir şekilde bu kadar bastırılıyorlar, merak ederim. Serbest enerji mucidi
Adam Trombly’ye bu teknolojinin neden engellendiğini düşünüyor olduğunu ve
UFO olayının bununla bir ilgisi olup olmadığını sordum. Askeriyede önemli
kişilerimiz var büyük bir risk alarak, evet, o şeyler gerçek diyorlar. Sizce
neden askeri-sanayi kompleksi bu açıklamayı yapmak istemiyor?
Çünkü bunun arkasında nasıl bir teknoloji olabilir diye düşünmeye
başlarsınız. Uzun lafın kısası bu UFO olayının bastırılması ve serbest
enerjinin bastırılması birlikte anılır. Enerji
etrafımızdaki uzay kumaşından çıkarılır yani
ölçülemez. Bu da, dünyanın tek en büyük sanayisine yani, enerjiye doğrudan
tehdit oluşturur. Bu, Exxon Mobil’e güle güle demektir güle güle petrol,
güle güle kömür güle güle elektriğin güç hatlarıyla doğrudan iletimi. Hepsi
gider!

Buluşların çözümlerini incelemeye başladım ve olay karşısında şaşırdığım
şey, bu kavramların dünya çapında yüzlerce laboratuar tarafından kanıtlanmış
olmasıydı. Buna rağmen, gün ışığına çıkmamışlar. Ortalığı mahvetmek ve
patlamayı kontrol altına almak yerine bu yeni teknolojiler, uyum sağlamaya
doğal olanla dans etmeye yönelikti. Gördüğüm
serbest enerji makinelerinin ortak özelliği bir şekilde Torus enerjisinin
şeklini taklit ediyor olmalarıydı.

Toruslar, dünya dışı yaşamlar ve serbest enerji ...
Limitsiz güce ulaşmak için, serbest enerji
teknolojisi nasıl Toroidal şekille karışıyorsa...

Bir şeyle
uyumlandığınızda o şey olursunuz ve olduğunuz şeyi kontrol edebilirsiniz.
Uzay/zamanı kontrol etmek için anahtar kavram uyumlanmaktır. Alanların
birbirine uyumlanması ve tek bir alan haline gelmesi UFO nun hareketinin
sırrıdır.
FREKANS & TİTREŞİM
- Tesla : "Eğer , Evreni anlamak istiyorsan ; enerji , frekans
ve titreşim üzerine düşün.."
"Eğer evrenin sırlarını keşfetmek
istiyorsanız, evrenin enerji, frekans ve salınım (titreşim)
boyutlarını öğrenmeniz gerekir." Nikola Tesla
Titreşimlerin Sırrını Çözen
Kainatın Sırrını Çözer.

Nikola Tesla'nın da
belirttiği üzere evreni anlamak istiyorsak frekanslara ve titreşimlere
bakmalıyız ...
Evren aslında kocaman bir
titreşimdir.Herşey etrafındaki her şeyle birlikte her an titreşmektedir.
Hayatın sırrı titreşimlerde saklıdır.

Tesla’ya göre evren kocaman bir titreşimdi ve hepimiz
bu titreşimin küçük birer yansımasıydık. Ya da başka bir deyişle evren bir
gitar, bizler de onun telleriyiz ve diğer tüm tellerle birlikte her an
titreşiyoruz.

Kimi UFO temascısının UFO ların teknolojileri hakkında
aldıkları bazı bilgiler....
Power Coil (Güç Bobini)
Magnetic Pole (Magnetic Kutup)
Magnetic axis (manyetik direk, manyetik eksen)
Condenser Coils (Kondansatör Bobinleri)
Solenoid Coil ( manyetik bobin, sarmal bobin)
Spherical Capacitors (Küresel kondansatörler)
UFO ların genelde topaç, disk şeklinde olmalarının
sebebi güç alanları fiziği ve ağırlık merkezi (kütleçekim merkezi)
ilişkisinde saklıdır.

Her UFO (uzay aracı) elektromanyetik bir güç
alanı baloncuğu ile çevrilidir. Buna yerçekimsel dalga alanı diyebiliriz.
Toroidal (girdap) şekilli bir yerçekimsel alan baloncuğu. Bu alanın belli
bir hızda titreşmesi lazımki uzay/zaman alanı ile senkron hale geçebilsin.
Güç alanının frekans uyumu ile uzay geometrisine uyumlanması(bağlanması) ve
birleşmesi gerekir. Güç alanının uzay dokumasına frekanssal olarak
tutunması lazım. Böylece alanın bir yönde bozulması ile tüm araç kütlesi o
yöne doğru çekilecektir. Bu hareket ilkesine 'yerçekimsel asılım'
diyebiliriz. Bu şekilde uzayda hareket etmek bir tür yerçekimsel dalga
üstüne uzay gemimizi bindirip uzay/zamanda sörf etmek etmek gibidir. Benim
hesaplamalarım bu hızın ışık hızı ile sınırlı olacağı yönündedir. Işık
hızını geçmek için bir boyut değişimine ihtiyacımız var. Bir nevi üçüncü
boyut uzayından dördüncü boyut uzayında geçmeliyiz.
UFO'yu çevreleyen torodial güç alanı
Gravitational bubble (Torsion Field)
If this is a UFO it could posibly using a torsion field to jump through
space time.
Bir UFO sadece bir uzay aracı değil bir zaman
aracıdırda. Çünkü çevresindeki zaman ve uzayı manipüle ederek boyutlar
arasında, uzak mesafeler arasında atlayabilir. Hyper uzaya (üst uzay)
geçerek bu atlamayı gerçekleştirir.

Bir UFO temelde/prensipte bir RF (Radyo Frekans)
bobinidir. Bir frekans jeneratörüdür. Bir elektromanyetik osilatördür.
Kendi uzay/zaman dokumasına bağlanan bir elektromanyetik jenaratör/üreteçtir.
Bir UFO (uzay aracı) temelde tek bir alan enerjisi ile zaman dalgalarını,
yerçekimi dalgalarını kendi alan dalgası içinde birleştirir. Yerçekimi
temelde genel görecelik kuramına göre uzayın bir eğriliğidir. Bu
teorik olarak doğru bir tespittir. Fakat bu tespitin kuantum fiziği içindeki
karşılığı kütle çevresindeki bükülen uzayın kendisine (boyutuna)
ait temel bir titreşim değerindeki sapmaya karşılık gelir. Uzayın geometrik
eğriliğinin enerjisel, frekanssal bir karşılığı vardır. Temelde
çalışma mekanizması ile bir osilatörü andıran uzay aracımız boşluğa (uzay
dokumasına) uyguladığı güç alanı etkisi ile bu uzay/zamanı betimleyen
temel frekansı yeniden kendi çevresinde değiştirebilir. Genel göreceliksel
olarak denebilirki uzayın yapısını yeniden araç çevresinde düzenleriz.
Böyle dünyanın yerçekiminide uzay aracımız çevresinde güç alanı hatları
boyunca bloke etmiş oluruz. Ve araç güç alanı hatları boyunca
yeryüzünden yukarı doğru yükselerek havada asılı kalır.



Bob Lazar'ın bahsettiği element 115
maddesi/ materyali radyoaktif bir materyal yada proton bombardımanı ile
geçiçi olarak radyoaktif hale getirilen bir element. Bob
Lazar'ın ifadelerinden anlaşıldığına göre element 115 normal şartlar altında
bir uranyum, bir toryum, berilyum vb elementler gibi
radyoaktif değil. Element 115 kararlı bir element. Proton
bombardımanı element 115 atomlarının çekirdeği içinde nükleer bir
reaksiyona/tepkimeye sebeb oluyor.Bu çekirdek reaksiyonundanda yerçekimsel
dalga denen bir enerji ve anti elektron - pozitron (karşıt elektron)
yayınlanmaktadır.
Radyoaktivite (Radyoaktiflik / Işınetkinlik) , atom
çekirdeğinin, tanecikler veya elektromanyetik ışımalar yayarak kendiliğinden
parçalanmasıdır, bir enerji türüdür. Çekirdek tepkimesi sırasında ortaya
çıkar. Radyasyon yayan nesneler, radyoaktif olarak adlandırılır. Element 115
özel şartlar altında geçici olarak (proton bombardımanı ile) radyoaktif hale
getiriliyor.

Radyasyon özel makineler sayesinde de üretilebilir, bu
makinelere Siklotron (ivme makinesi), doğrusal hızlandırıcı veya parçacık
hızlandırıcı adı verilir. Bazı bilim insanları bu makineleri üzerinde
çalışabilecekleri radyasyonu üretebilmek için kullanırlar. Röntgen cihazları
az miktarda üretilen (X ışınları) sayesinde insan vucudunun iç kısımlarının
görüntülenmesini sağlar.
Bob Lazar'ın ifadelerine göre bu element 115
çekirdek reaksiyonu esnasında bol miktarda anti madde parçacığı
salmaktadır.
Proton bombardımanı ile kararsız duruma getirilmiş
element 115 element 116 denen başka bir elemente dönüşürken anti madde
parçacıkları ile beraber gama ışınımlarından çok daha yüksek frekanslı
radyoaktif ışınımlar yayar. Bu ışınımlara zetalı (dünya dışı) bilim
insanları yerçekimi radyasyonu (yerçekimi dalgaları) adını veriyorlar.
Aslında bu ışıma frekansı uzay/zaman geometsisine etki eden bir tür RF alan
enerjisi. Bunu bir tür mikro dalga radyasyonuna benzetebiliriz.
Radyoaktiflik bir elementin kendiliğinden ışımalar yaparak başka
çekirdeklere dönüşmesidir.
Radyoaktif olmayan bir atom çekirdeğinin, temel
taneciklerle(alfa,nötron,proton,...) bombardıman edilerek kararsız çekirdek
haline dönüştürülmesi olayına yapay radyoaktiflik denir.
Element 115 'te antimadde reaktörü içinde proton bombardımanı ile kararsız
(yapay radyoaktivite) hale getiriliyor.
Yapay radyoaktif çekirdek tepkimeleri,
X + a ===> Y + (ışıma)
şeklindedir.Tepkimedeki X kararlı çekirdeği, a ise bombardıman taneciğini
gösterir.X, bombardıman edilerek Y kararsız taneciğine dönüşürken bir de
ışıma yapmaktadır.Oluşan Y çekirdeği, doğal radyoaktif bozunmaya uğrayarak
başka çekirdeklere dönüşür.
Doğal radyoaktiflik olaylarında bozunma, ışıma ve fırlatma gibi ifadeler
kullanılırken yapay radyoaktiflikte bombardıman ifadesi kullanılır.
Bombardıman etme işlemlerinde kullanılan en uygun tanecik nötrondur.Çünkü
nötron yüksüz olduğu için çekirdek tarafından itilmez ve böylelikle kolayca
etkileşime girilebilir.
Fakat antimadde reaktöründe kararlı element 115 çekirdeğini bombardıman için
protonlar kullanılır.
Gama-ışını veya gamma ışıması (simge: γ), atom altı
parçacıkların etkileşiminden kaynaklanan, belirli bir titreşim sayısına
sahip elektromıknatıssal ışınımdır; genelde uzayda gerçekleşen çekirdeksel
tepkimelerin sonucunda üretilirler.
Gama ışınları, diğer elektromıknatıssal ışınlar
arasında, en yüksek titreşim sayısına ve en
düşük dalga boyuna sahiptirler. Taşıdıkları
enerji (erke) düzeyi nedeniyle yaşayan hücrelere önemli zarar verirler. Gama
ve x ışınlarının, alfa ve beta parçacıklarına göre madde içine nüfuz etme
kabiliyetleri çok daha fazla, iyonlaşmaya sebep
olma etkileri ise çok daha azdır. İyonize etme
gücünün daha düşük olması, onun kalın cisimlerden kolayca geçmesini sağlar.
Gamma ışını, birkaç santimetre kalınlığındaki kurşun tuğlalarla ve sadece
belli bir kısmı durdurulabilir. Madde içerisinden geçerken üstel bir
fonksiyon şeklinde bir şiddet azalmasına uğrarlar. Yüksüz olduklarından
elektrik ve manyetik alanda sapma göstermezler.
İlk defa, Fransız kimyager-fizikçi Paul Villard,
radyum ile çalışırken "gama fotonları"nı farketti. Rutherford, Villard'ın
farkettiği bu fotonlara, "gama ışınımı" adını vermiştir.
Bu ışınlar, atom çekirdeğinin enerji seviyelerindeki farklılıklardan meydana
gelir. Çekirdek, bir radyoaktif bozunum yaptıktan(alfa ya da bir beta
parçacığı çıkarttıktan sonra) veya bir nükleer reaksiyondan sonra genellikle
kararlı bir durumda olmaz. Fazla kalan çekirdek enerjisi, ikinci bir bozunum
sonucunda bir elektromanyetik radyasyon halinde yayınlanır(bir foton
yayınlar). Böylece çekirdek, önce daha düşük enerji seviyesine ve sonunda
taban enerji seviyesine düşer. Bu şekilde, çekirdeğin uyarılmış enerji
seviyesinden temel enerji seviyesine düşerken yayınladığı fotonlara "gama
ışını" denir.
Gama ışınları, şekilde gösterilen elektromanyetik spektrumdaki diğer
elektromıknatıssal ışınlar arasında "en yüksek titreşim sayısı"na, en düşük
dalga boyuna ve en yüksek enerji düzeyine sahiptirler. Tek bir gama ışını
fotonu görülebilen ışık fotonundan bir milyar kat daha fazla enerjiye
sahiptir. Normal ışık yanağa değen bir tüy gibi düşünülürse, gama ışını da
bir mermiye benzetilebilir. Yüksek enerjilerinden dolayı madde içerisinde
yol alabilirler, ışık hızı ile yayılırlar.
Gama ışınlarının enerjileri tipik olarak 0,1 - 10 MeV arasında olup çekirdek
durumları arasındaki enerji farkı mertebesindedir ve bu 104 ile 100 fm dalga
boyu aralığına karşılık gelir. X-ışınları ile γ-ışınları arasındaki sınır
kesin olarak belirlenmemiştir. Bazı astronomlar, 100 keV üzerindeki,
bazıları ise 500 keV'a yakın enerjiye sahip fotonları gama ışınları olarak
niteler.
Nükleer olmayan gama ışını ortaya çıkaran bazı karasal
doğal kaynaklar ise, doğal yüksek enerji
gerilimlerinden yüksek enerji ışıması üreten yıldırımlar
ve karasal gama ışını parlamalarıdır. Karasal gama ışını parlamalarında,
Dünya'nın atmosferindeki fırtınanın içinde kısa bir gama radyasyonu çarpması
oluşur. Bu gama ışınlarının,
elektronların yüksek yoğunluktaki statik elektrik
alanın etkisiyle ivmelendirilmesi ve bunun
sonucunda atmosferdeki atomlarla çarpışarak yavaşlatılması esnasındaki foton
ışıması tarafından üretildiği düşünülmektedir.
Bu durum, fırtına bulutları içinde veya yakınında uçakla yolculuk yapan
yolcular ve mürettebatın hayati tehlike olasılığını artırmaktadır.
Evrende gama ışınlarını üreten kaynaklar çok çeşitlidir. Güneş parlamaları,
Gökadamızdaki kara delikler, pulsarlar(atarcalar), magnetarlar ve süpernova
kalıntıları, diğer gökadaların merkezlerindeki aktif büyük kütleli kara
delikler ile kuasarlar ve daha da uzaklarda dev yıldızların çökmesi ya da
nötron yıldızlarının birleşmesi sonucu ortaya çıkan gama ışını patlamaları,
parçacıkların hızlanarak gama ışınlarını oluşturduğu merkezlerdir. Gama
ışını patlamaları dışındaki kaynaklar, görece daha uzun süreli ve daha düşük
enerjili gama ışını üretirler.
Gama ışınlarını oluşturan fiziksel mekanizmalar ile
daha düşük enerjilerdeki ışınımı oluşturan fiziksel mekanizmalar birbirinden
çok farklıdır. Gama ışınları genelde
parçacıkların ışık hızına yakın hızlara ivmelenmesiyle ortaya çıkar.
Bu da çok büyük enerjiler gerektireceğinden gama
ışınları çoğu zaman Dünya üzerindeki laboratuvarlarda elde edilemeyecek
şiddette patlamalar, manyetik alanlar, çekim kaynakları gerektirir.
Manyetik alanda ivmelenme:
Yüklü parçacıklar yüksek manyetik alan çizgileri etrafında dönerken
ivmelendikleri için sinkrotron ya da siklotron
adı verilen bir ışıma yaparlar. Bu mekanizma
sonucu ortaya çıkan fotonların bir kısmı gama ışını enerjilerinde ortaya
çıkar.
Gama ışınları en bilinen şekilde nükleer
reaksiyonla üretilebilirler.
Gama ışınının üretilmesi gibi yerçekimi
dalgalarının üretilmeside (element 115 'in çekirdeğinden açığa çıkarılması)
element 115 in element 116'ya dönüşümü esnasındaki çekirdek
reaksiyonundan kaynaklanmaktadır. Element 115 atomu çekirdeğinin
kararlı halden kararsız hale getirilmesi ile çekirdek bir tür
dalga üretici
osilatör gibi kullanılmış oluyor. Bir nevi
yerçekimi dalgası osilatörü gibi. Böylece
element 115 atomu çekirdeki yerçekimi radyasyonunun kaynağı haline gelmiş
olur. Buna kısaca yüksek frekanslı elektromanyetik dalga kaynağıda
diyebiliriz.
Gama ışınlarına göre ışıma frekanslarını analiz
edersek demekki frekans yükselmesi belli bir eşiği
aşınca ışınımın iyonlaştırma efekti azalıyor hatta kayboluyor olabilir.
Zeta retikulili bilim insanları (uzaylılar)
kontrol edilebilir yapay bir radyoaktiflikle bir elementin çekirdeğinden
doğal bir şekilde istedikleri yüksek frekanslı elektromanyetik ışımayı
(yerçekimi dalgalarını) üretebiliyorlar. Yapay bir çekirdek tepkimesi ile
doğal yoldan istedikleri elektomanyetik dalga enerjisini (gravity A wave)
elde edebiliyorlar.
Işıktan hızlı gemimin çizimlerini, çalışma prensibinin
çözümlerini bitirdim. Şu aşamada devlet imkanları olmayınca bu bilimsel
prensipleri çözmekle sadece kişisel anlamda kendimi tatmin etmiş olurum.
Peki çözdüm şimdi ne olacak..
Geldiğim noktayı ve notlarımın altına düştüğüm son yazılarıda ilgilenenler
için paylaşmış olayım... UFO lar ( eğer yıldızlardan gelen yabancı uzay
araçları olduğunu varsayarsak) genelde neden dairesel sorusunun cevabını
elektrodinamik kuramının temel yasalarında aramak lazım. Çünkü dairesel
boyunca ivmeli hareket eden elektronlar dönüş hızlarına (kinetik enerjisine)
bağlı olarak o frekansta bir elektromanyetik radyasyon yayınlarlar.
Uzay/zamanı tutup hamur gibi uzay aracı çevresinde biçimlendirmenin, eğmenin
ve bükmenin tek yoludu alan jeneratörleri yardımı ile uzay/zaman alanı
çizgilerini tutabilmektir. Bir hayaleti tutmanın tek yonu onun rezonans
frekanslarına girebilmektir. İşte yıldızlara yolculuğun anahtarı bu!
Uzay/zamanın bir çalışma frekansı var. Bir uzay gemisinin yapması gereken
tek şey alan jeneratörlerini bu çalışma frekansına ayarlamaktır. Prensip bir
olarak bir radyo vericisinden bir uzay gemisi (ufo) yapabilirsiniz. Fakat
extrem frekanslara çıkmak için cihazı baya zorlamanız lazım.
Elektromanyetik tayfın kendisini düşündüğümüzde evimizdeki tüm
elektromanyetik kaynak niteliği taşıyan cihazlar UFO ların en ilkel
halleridir. Aslında onları her yerde görmek mümkün! Evimizdeki bir lamba
bile bir UFO nun prensipteki en ilkel halidir. Mesela bir lamba hayal
edelim! Bir anda flüoresan lamba için düşünürsek lambanın içindeki kimyasal
tepkimelerde istenilen frekanslarda bir ışıma oluştuğunda lamba örümcek
ağlarına tutunmuş gibi uzay/zamanın dokusuna tutunacaktır... lambayı
elinizden bıraktığınızda havada öylece asılı vaziyette kalacaktır.. bu
lambayı bir insanın içine girebileceği ebatlarda hayal edelim.. ve lambanın
içindeki rasyasyondan etkilenmeyek manyetik çeperli bir bir yolcu kabini
inşa ettiğimizi düşünelim.. böylece uçan bir lambayı istediğimiz gibi
denetleyerek yıldızlara doğru rotayı çevirebiliriz.. ve bir anda ışık
hızının ötesine çıkıp daha yüksek bir boyuttan galaksinin ötesine doğru bir
yanıp sönme refleksi içinde sıçrayarak ( gözden kaybolarak) mesafeleri bir
anda atlayabiliriz..
Araştırmayı 3 ana aşamaya ayırabiliriz. 1.aşama yerçekimini ortadan
kaldırmak 2. aşama ışık hızında hareket 3.aşama boyut atlamak (görünmezlik)
başka tabirle ışık hızının ötesine geçmek.
51 bölgede çalışmalar baya yol almış olabilir... ama onlar doğrudan uzaylı
teknolojisini kopya etmeye odaklı çalışıyor... esas mesele prensibi anlayıp
kendi teknolojimizle o teknolojiyi taklit etmek! Bob Lazar ın açıklamalarını
ilk dinlediğimde yüzümde büyük bir gülümseme belirdi.. Bob Lazarın doğru
söylediğini anladım... uzaylılar benim yapmaya çalıştığım şeyi farklı ve
daha kolay yollardan yapmışlardı...
Ben gizemli extrem frekanslara elektronik olarak ulaşmaya çalışırken zeki
uzaylılar bunun daha kolay bir yolunu bulmuşlardı... özel bir elementi yapay
olarak radyoaktif hale getirip çekirdeki içi ışımalardan bu enerjiyi
üretiyorlardı.. ben bu işi elektron düzeyinde yapmaya çalışırken uzaylılar
radyoaktif elemenlerin çekirdek içi enerjisini açığa çıkartarak bunu
başarmışlardı... uzaylı bilim adamları ile ulaşmaya çalıştığımız şey aynı
ama yöntemlerimiz farklı... ama esas meseleyi anlıyorduk...Bob lazarın
anlatımlarına göre uzaylıların yerçekimi konusundaki tarifini dinleyince
benim tarifimin başka bir şekildeki izahı olduğunu anladım.. uzaylılar benim
'uzay/zamanın çalışma frekansı'
dediğim şeye atom çekirdeği içinde saklı yerçekimi enerjisi
diyorlardı.. vs vs.. aynı şeyi farklı kelimelerle izah ettiğimizi farkettim..
Atomçekirdeği yada her parcacık temelde uzay/zamanın
yoğunlaşmış halidir. Uzay/zaman çizgilerinin bir girdap formudur. Mikro ve
makro düzeyde uzay/zamanın eğrilen çizgileri çok güçlü iken mikro ve
makro ölçek arasında elektromanyetik yük ve alan etkileşimleri daha
çok etkin. Atom çekirdeğinin kalbinde 'enerji' uzay ve zamana sımsıkı bağlı!
Enerji uzay/zamanla aynı şeye karşılık geliyor.
Burada yerçekimine dair değişik tanımlamalar
yapılabilir. Evreni, uzayı, zamanı frekans ve titreşim kavramlarına görede
yorumlayabiliriz.
Yerçekimi dalgası elektromanyetik dalgalardan türetilebilir. Fakat burada
yeni kavramlara ve bakış açılarına ihtiyaç var. Mesela bir zaman dalgası
kavramı! Yerçekimi dalgası uzay/zaman geometrisinde boyutsal bir faz farkına
tekabül eder. Uzay levhası temelde elektromanyetiktir. Zaman boyutuda bu
elektromanyetik alanın titreşim faktörü ile bağlantılıdır. Zaman aslında
yoktur. Uzay vardır. Zaman boyutları sanki uzayın kendisini titreşimsel
olarak bir dördüncü boyutta uzatması, boyutlandırması gibi düşünülebilir.
Kendi uzayımız içinde alçalıp yükselen yüksek bir
frekans ve hareket enerjisi/kinetik enerji olasıdır. Daha altında ve üstünde
kavramları söz konusu! Yüksek- alçak, az çok.. vb gibi. Bu hız değişimleri
hep ışık hızının alt değerleri içinde bir yükselip alçalma olacaktır.
Arabaların hızı, trenlerin hızı, yolda koşan insanları hızı, elektronun
hızı, ışık frekanslarının alçalıp yükselen frekansları.. vb gibi. Işık yavaş
titreşiyor hızlı titreşiyor diyebiliriz. Ama ışık daha yavaş yada
daha hızlı gidiyor diyemeyiz. Işık dalgalarından başka hiçbir şey ışık
hızında yol almıyor.Işık dalgasının hızı bir enerji içermiyor.Aslında ışık
kendisine göre ele alındığında hareket etmiyor. Işığın dalga hareketi uzay
ve zaman bağlantısından kaynaklanan bir durumdur. Buna uzayın zaman içindeki
yerdeğiştirimi, titreşimi diyebiliriz. Işık hızını böldüğümüzde en küçük
uzaysal ışık hızı adımı bize en küçük zaman kuantumu değerini verir. Işığın
enerjisi titreşim frekansı ile ilgili. Bu enerji elektronlara yada farklı
sistemlere çarparak enerjisini o sisteme aktararak daha üst orbital ve
enerji bandlarına geçişi mümkün kılar. Kinetik enerji sistemin enerjisini
yükseltebiliyor.Ama herşeyin en üst enerji seviyesinde en üst frekansta
olduğu bir noktadada daha üst boyuta sıçramak nasıl mümkün olabilir sorusu
ile karşı karşıyayız. Böyle durumda zaman faktörü ile bağlantılı titreşen
hareketli bir enerjiyi kullanamayız.
Bir atomu ve elektron yörüngelerini düşündüğümüzde elektronlar daha yüksek
daha alçak enerji bandları aralıklarında yer değiştirebilirler. Yüksek
enerji gelir alt yörüngedeki elektrona enerjisini verir.. böylece elektron
daha üst orbitale sıçrar. Atom modelinde durum budur. Fakat bizimde (uzay
aracımızında) bişr elektron gibi ışık ötesi enerji ile yüklenip üst boyuta
sıçraması nasıl mümkün olabilir. Uzay ve zaman alanımız içinde böyle bir
ışık hızı ötesi enerjiyi temin edemeyiz, bu kinetik enerjiyi kendi
düzlemimiz içinde oluşturamayız, üretemeyiz. Zaten sistem böyle bir üst
enerji ürettiğinde o enerji ile birlikte muhatap olan herşey üst boyuta
atlar. ! Peki üst uzaya boyuta nasıl geçeceğiz? Normal şartlar altında o
enerjiyi üretecek bir üreteç yapamayız! Ama potansiyel bir enerjiyi kinetik
bir enerjiye dönüştürme ilkesince ışık hızına tekabül eden mevcut kinetik
enerji düzeyini aşacak bir potansiyelim gerilim alanı(enerjisi)
oluşturabiliriz.
Elektronlar ışık hızında bir okun yayı arasında bize göre belli bir sıfır
denebilecek potansiyel gerilim değerine tekabül eden enerji düzeyinde yer
almaktalar. Aslında evrende hareket eden hiçbir şey yok. Gerçekten zamanı
aşan bir hareket olduğunda bir boyut sıçraması gerçekleşir. Herşey
uzay/zamanın devirsel tireşimleri içinde hareket özgürlüğüne sahipmiş gibi
bir algı yanılsaması içinde. Bu sanki bir fotoğraf albümünü çevirerek
ardardına gelen resimleri hareket ediyormuş gibi görmeye benzer. Aslında
hareketin kaynağı yada hareket eden şey yerdeğiştiren uzay/zaman
dalgalarıdır.Işık hızında hareket ettiğimizde o noktada bir ayarlama ile bir
boyut sıçraması yada zaman dışına çıkmak mevhumu söz konusu olabilir.
Elektronları ışık hızına çıkartan elektriksel ve manyetik plaka gerilimin
üstünde bir potansiyel gerilimi oluşturacak bir enerjiyi depolamalıyız (
kondansatör). Bu noktada sıfır dirençli süperiletken bir kondansatör
kullanılabilir. Burada ışık hızında elektronları dairesel olarak döndüren
potansiyel alan enerjisi/gerilimini sıfır olarak kabul etmeliyiz. Tam ışık
hızında ok yayın içinde ama ok yayı henüz gerilmemiş vaziyette bir anolojik
benzetme yapılabilir. Ok yayda duruyor. Bu değere karşılık gelen potansiyel
gerilim değerinin üstünde bir potansiyel boşalım yapacak kondansatörleri
mevcut gerilimin üstünde bir voltaj değerinde doldurmaya başladığımızda
yayın gerilimini sıfırdan 0 ---> 1-2-3.. yükseltmiş oluyoruz. Potansiyel
gerilimin elektronları ışık hızının üstüne sıçratması için yay gerilimin
belli bir potansiyel değere ulaşması lazım. Bir fotoğraf makinesinin flaş
devresine bağlı kondansatörleri şarj eder gibi aynı benzer bir ilkesel
uygulama ile uzay gemisinin kondansatölerini şarj ediyoruz, dolduruyoruz.
Sonra flaş patlaması oluşacak şekilde bu biriken potansiyel enerjiyi
elektronları dairesel olarak dolandıran (hızlandıran) düzeneğe deşarj
ediyoruz. Biriken enerji bir anda bir flaş patlaması şeklinde boşalıyor. Bu
durum yeterince gerilmiş yayı bir anda bırakmak gibidir. Tam bu noktada
aslında bize göre ışık hızında hareket eden ama uzay/zaman çerçevesine göre
duran elektronu (ışık hızından dönen elektronları) bir üst boyuta hareket
etmesi, atlaması, sıçraması için büyük bir şoklama etkisi ile yerinden
oynatacak itme enerjisini (kuvvetini) oluşturmuş, üretmiş oluyoruz. Bu
potansiyel enerji elektronu daha yüksek bir uzay boyutu içerisine doğru
sıçramaya zorlayacaktır.
Elektron titreşirken (ivmeli hareket ederken) elektromanyetik dalgalar
oluşturuyor. Elektron temelde uzay/zaman alanının (dalgasının) form
değiştirmiş minyatürize bir formu gibi görülebilir. Elektron parçacığı uzay
ve zaman dokumasına bağlı bir nokta.Elektron hareket edince onunla ilintili
uzay/zaman dokumasıda dalgalanıyor. Elektron uzay/zaman örgüsünden oluşmuş
bir vorteks yapıdır. Elektronun hareketi bir şekilde uzay/zaman
dokumasındada bir tür dalgalanma meydana getiriyor. Bu gravitik bir
dalgalanma değil.Sadece uzayın elektrik, manyetik vektörleri doğrultusunda
bir dalgalanma. Buna gravitik alanında dahil olması belki ışık hızında bir
titreşim noktasında mümkün olabilir.
Tüm yaşamın ve evrenin anahtarı, ışığın
titreşimlerinde yatmaktadır.Gezegen sistemlerindeki, yıldızlardaki ve
yıldızlararası uzayın derinliklerindeki varoluşun bütünü, ışığın görünen ve
görünmeyen dalga boylarından oluşmaktadır.Farklı boyutların hepsi farklı
hızlardaki ışık dalgalarından oluşmaktadır.
Işığın dalga yapısından yola çıkarak tüm evreni
açıklamak mümkündür. Herşey titreşim, salınım, rezonans yasaları ile
ilgilidir. İtmek, çekmek, birleşme hepsi titreşim hareketlerinin karşılıklı
ilişkisinden doğar.
Temelde bir çok UFO temascısının UFO lara dair aldığı
bilgileri özetlersek UFO kendi içindeki enerji sistemleri ile uzay/zaman
alanını etkiliyor. Sistem kendisini içine alan uzay ve zaman çizgilerine
bağlanıyor.

He asked them questions about their technology and life in general, and they
told him that they use what they call 'The Void' (nothingness) as a source
of infinite energy for all their technology and interstellar/dimensional
travel
Lazar's discussion regarding Gravity Propulsion and
Wavefront interstellar travel would be facilitated by the black hole "jump"
mentioned previously. His S-4 ship (below) might utilize a black hole for
the "big" jumps, then implement his "Delta" configuration to accelerate
between a local group of star systems.
The book spans a wide variety of topics within each
part. The interstellar travel part hits upon the vastness of space, chemical
and fusion rockets, slow moving generational space arks, space curvature,
non-space (i.e., hyperspace), wormholes, blackholes, time dilatation, and
tachyons. The author concludes this part with an incredibly enjoyable
discussion of problems one might face while attempting to navigate while
traveling at near light speed. The extraterrestrial life part touches upon
the chemistry of aliens, estimating the number of possible extraterrestrial
civilizations (i.e., the Drake function), possible extraterrestrial contact
in ancient history, and a discussion about possible contact in recent
history.
Yes! UFOs are mentioned in this book, but don't roll your eyes because the
author does not get fanatical about the topic. He is mainly presenting UFOs
in the context that some extraterrestrial civilization might have perfected
interstellar travel in our past (i.e., ancient astronauts) or maybe even our
present. I thought it was a good tie-in independent of ones views on the
topic of UFOs.
Arada 51. üsdeki ele geçirilen uzay aracı
konusunda üsdeki işinden çıkarılan fizikçi Bob Lazar'ın açıklamalarına göz
atıyorum.. Bob Lazar'ın üsde uzay aracını incelerken anlattıklarının benim
çalışmalarımla örtüşmesi Bob Lazar'ın söylediklerini ciddiye almama neden
oldu. Bu birinci faktör. Diğer faktör ise ben bilgi nerden gelirse gelsin
bilgiyi bu komplo, saçma yok öyle değil yada burada bilgi deformasyonu
amaçlı bir oyun varmı diye önyargı gütmeden tamamen aklın ve bilimin
bildiğimiz yada bilmediğimiz olası yasalarının, formüllerinin içinde ne
kadar olası olabileceğinin öngörüsünü oluşturmaya çalışarak olaylara
bakarım. Bir bir şey diyorsa her zaman kulak verip yargı getirmeden durumu
irdelerim. Fakat Bob Lazar'ın dünya dışı uzay aracını tarif eden tüm
bilgileri bir araya getirdiğimde detaya indiğimizde Bob Lazar'a gösterilen
ve verilen bilginin sadece gerçeğin çok küçük bir kısmı olduğunu anladım. Ya
henüz amerikalıların yabancı uzay aracı hakkında tam bilgileri yok yada Bob
Lazar ve içinde yer aldığı ters müdhendislik ekibine aracın sadece belirli
bölümlerini göstermiş olma ihtimalleri yüksek! Gemiyi görücüye çıkarmadan
içinden bazı parçaları çıkarmış olmalılar. Yada bir diğer ihtimalle
uzaylılar amerikalılara bu gemiyi bir jest olsun maksadı ile inceleme amaçlı
verirken kasıtlı olarak gemiden bazı parçaları çıkarmış olmalarıda bir
ihtimaldir. Öncelikle Bob Lazar'ın gemi hakkındaki tüm açıklamalarını
dikkate alıp incelediğimde geminin ışık hızından daha hızlı gidemeyeceğini
keşfettim. Çünkü geminin ışık hızını aşması için gerekli donanıma dair ne
görsel (cihaz olarak) nede teorik bir kanıt ve veri ortada yok.Benim
bilgiler sonucu ulaştığım nokta geminin bir uzay zaman bükülümü
yaratabileceği hatta bu büküm alanı içine görünmez olabileceği ve bu büküm
sürüşü (yerçekimsel sürüş) metodu ile ışık hızınında bir yolculuk
yapabileceği gerçeğidir. Bu konuda star trek fiziği ile yakından ilgili bir
bilim adamı olan miguel alcubierre nin warpdrive (uzay bükümü sürüşü)
denklemleride ışıktan hızlı bir yolculuk imkanını dile getirsede bu
denklemleri incelediğimde ortada bir hata olduğunu düşünüyorum.Denklemler
yanlış yorumlanıyor görüşündeyim. Sonsuz hız diye bir şey yok! Fakat hızın
bir limiti olmadığı bir gerçek! Bu limitler çeşitli teknolojilerle
aşılabilir ama sonsuz hızda gitmek diye bir şey yok! Konuyu dağıtmadan
diyebilirimki miguel alcubierrenin uzay bükümü denklemleri bizi en fazla
ışık hızında götürebilir. Bob Lazar'ın açıkladığı bilgileri toplayıp
uygulamaya koysak bu uzaylı gemisinin bizi götüreceği hız ışık hızı limitini
geçemeyecektir. Gemi ışık hızında, yerçekimi dalgası üstünde sörf yapar gibi
yol alacaktır. Tekrar uzaylı gemimize geri dönelim. Geminin içinde boyut
değişimini gerçekleştirecek sistemlerin ben yerlerinden söküldüğünü
düşünüyorum bunu ya uzaylılar yaptı yada gemiyi bilim ekibinin karşısına
çıkarmadan önce daha üst düzeyli amerikalı görevliler yapmış olabilirler.
Sonuçta olması gereken yerde olması gereken sistemler görünmüyor. Sadece
geminin güç ve itme sistemini temsil eden reaktörle muhatap olan bir ekip
içinde yer alan Bob Lazar'ın açıklamaları var. Yada bir ihtimal mevcut
düzenek kendi içinde boyut değişimini gerçekleştirecek mekanizmayıda
saklıyor olabilir. Ama böyle kabul edersekte böyle bir mekanizmadan
uzaylıların amerikalılara söz etmemeleride çok ilginç! Yada amerikalı daha
gizli birimler bu gerçeği bilsede Bob Lazar 'ın dahil olduğu ekibe sadece
kısıtlı bir bilgi verilmiş olabilir. Bob Lazar herbir ekibin geminin farklı
bir kısmı üstünde çalıştığından bahsetmişti. Hiç bir grup diğer gruplarla
görüştürülmüyordu. Tüm bilgiler bir ana merkezde bir araya getiriliyordu.
Geminin metalini inceleyen grup ayrı, bilgisayar ve seyir sistemini
inceleyen grup ayrıydı. Bob Lazar'ın dahil olduğu ekip sadece geminin güç ve
itme sistemi üstünde çalışıyordu.
Bob Lazar'ın bahsettiği gemide hızlanan elektronlar
yok! Yerçekimi dalgalarını temsil eden yüksek frekanslı radyoaktif ışıma
element 115 in çekirdeğindeki radyoaktif bozunmadan kaynaklanıyor.
Böylece element 115 atom çekirdeğinden (mikro ölçekten) yerçekimi
dalgası taşarak (serbest kalarak) aracı saracak(içine alacak) kadar
büyütülüyor.
Bob Lazar diyorki benim önüme uzaylılardan alınmış
olan gemilere dair yığınla dosyalar koydular, gemi hakkında brifing
verdiler. Uzaylı tercümelerini okudum diyor. Bu tercümeler içinde geminin
boyut değiştirmesine dair hiçbir bilginin olmaması çok ilginç! Işık hızının
geçilmesine dair hiçbir uzaylı bilgiside ortada yok.. uzaylılar hiç böyle
bir şeyden bahsetmiyorlar.Amerikalılarda sadece bu geminin ışık hızını
geçebileceğine dair bir kanaat var. Gemilerden bir tane inceleme amaçlı
isteniyor.. onlarda veriyorlar... bu gemiyle asla ışık hızının üstüne çıkmak
gibi bir testte yapmamışlar... sadece dağ seviyesine kadar gemiyi yükseltip
manevra denemeleri yaptıklarından bahsediyorlar... çünkü ellerindeki şey
çalışan bir örmek ve onlar için çok değerli... onuda kaybetmeyi göze
alamıyorlar... bu bilgileri dikkate alırsak amerikalı yetkililerin
onlarca dosya içinden bir takım bilgileri çıkarmaları pek mantıklı
görünmüyor. Bu bilgi bizi uzaylıların kasıtlı olarak eksik bilgi verdiği
fikrine götürüyor.. eğer uzaylılar eksik bilgi veriyorsa verdikleri
gemileride vermeden önce ışık hızını aşacak çalışma mekanizmalarını kasıtlı
olarak gizleyecek , devreden çıkartacak manipülasyonlar yapmış olma
ihtimalleride yüksektir... yani amerikalılara verilen gemi ışık hızını
aşacak bir yeteneğe haiz görünmüyor...
Geldiğim noktada çalışmalarımın gösterdiği şey
ışık hızını aşmak için üst bir boyuta geçmeliyiz... bunun içinde bir
osilatörün çalışma mantığına sahip uzay aracımızın alan frekanslarını ışık
hızına tekabül eden sınır değerin (eşik değerin) üstüne çıkarmamız lazım.
Böylece bir üst boyuta (üst bir frekans bandına), üst bir titreşim oktavına
geçebiliriz. Diğer tabirle buna üçüncü boyuttan dördüncü boyuta geçmek
diyebiliriz.
Işık hızını aşmak için bizim uzayımıza bağlı zaman
alanı dalgasının dalga boyunu değiştirmeliyiz. Tüm uzayı bir dalga
fonksiyonu olarak düşünebiliriz. Bu dalganın dalga boyu ışık
hızı değerine karşılık gelen bir değere sahiptir. Buna ŞİMDİ ki zaman
kuantumu diyebiliriz. Bu AN dediğimiz zaman genişliğini ifadeler. Ardardına
üç tane şimdiki zaman dalgasını ( AN) bir araya getirirsek. İlk zaman
dalgası geçmişte kalan şimdiyi simgeler, sonraki zaman dalgası şu anki
içinde bulunulan ŞİMDİ ki zaman dalgasını ifadeler. Ondan sonraki zaman
dalgasıda henüz içine girmediğimiz gelecekteki 'şimdi' yi
yani gelecekteki zaman dalgasını simgeler. Uzay gemimiz
kendisini çevreleyen güç alanı sayesinde bir tür elektromanyetik
üreteç gibidir. Bu gemiden yayılan alan frekansları ışık hızına karşılık
gelecek hızda titreştiğinde (ışık spektrumunun son tavan frekans
değeri) geminin güç alanı dalgası uzayın zaman dalgası ile
rezonansa girmiş olur. Böylece uzay alanı ile gemi güç alanı tek bir alan
halini alıyor. Bu sayede gemiyi içine alan uzayıda istediğimiz yönde
bükebiliyoruz. Tan bu noktada uzayın boyutunu belirleyen zaman dalgasının
dalga boyunu değiştirmek için aracımızdan yayılan güç alanı dalgasının dalga
boyunu değiştirmemizin yeterli olduğu bir noktaya gelmiş oluruz. Tam bu
noktada bir tür radyo frekans osilatörü gibi davranan uzay gemisinin
ışık hızındaki titreşim değerini bir kademe daha yükseltebilirsek
uzay/zamanda çıkıp, görünmez olup üst uzaya, üst zaman bandına geçmiş
oluruz! Tam bu konumda elektonlar uzay gemimizin güç alanı bobinleri
içinde ışık hızında dairesel olarak dönüyorlar. Tüm sistemler
son hız limitinde çalışıyor. Güç alanlarının gemiyi içine alan küresel
(toroidal) hatları boyunca dünyanın yerçekiminden yukarıda asılı
vaziyette duruyoruz. Geminin hafifçe sağa sola, yukarı aşağı hareketi
için gemiyi çevreleyen yerçekimsel alan balonculuğunu andıran
elektromanyetik alanın geometrisini hafifçe o yöne doğru kaydırmak yeterli
olacaktır. Böylece uzay/zamanın geometrik yapısı ile uyumlu geminin
kütleçekimsel ağırlık merkezi uyumunu bozarak gemi kütlesinin diğer merkeze
doğru çekilimini sağlıyoruz.Bu hareketi yerçekimsel asılım ilkesi
olarak adlandırabiliriz.
Aslında bilim tarihine baktığımda sonradan keşfedilen
pek çok şeyin sebebi daha çok kalıpsal ve kavramsal düşünceler arasında
sıkışıp kalmak! Bu neden daha önce keşfedilemedinin yada neden
keşfedilmiyorun bir yönü ile cevabıdır! Aradığımız şey başka yerde değil
sadece gördüğümüz şeyin diğer bir formunda! Bazen aynı şeyleri farklı şeyler
olarak telakki ediyoruz. Elektrik , manyetik alanlar ve gördüğümüz ışık
içinde bunu söyleyebiliriz. Aynı şey yerçekimi kavramı içinde geçerlidir.
Bilim yerçekimi ve elektromanyetizmayı ayrı şeyler gibi algılama eğiliminde
.. bir birleştirme düşü var ama bunu başka yerlerde arıyorlar Zihin meseleyi
anlamaya hazır olmadıkça formüllerle o noktaya yürümek mümkün değil. Maxwell
bile en başta ışığın elektromanyetik bir fenomen olabileceğini öngörmüştü.
Sonra bunu matematiksel formüllere dökmek için çabaladı ve matematiksel
olarakta bunu modelleyebildi. Fakat deneysel olarak bunu ispatlayan Alman
bilim adamı Hertz oldu! Aslında yerçekimi dalgasıda elektromanyetik
sprektumla ilgili! Yerçekimi dalgaları spekturumun göremediğimiz
noktalarında saklanıyor. Deneysel olarak bu dalgalar atomun kalbinde
saklanıyor diyebiliriz. Elektrik alanı, manyetik alanı ve elektrik akımını
nasıl birbirinden ayıramazsak (yani bunlar bir şekilde birbirleri ile
ilintili/bağlantılı fenomenlerdir) yerçekimi feonomeninide bu her iki
dalgadan soyutlayamayız/ayıramayız. Mikro düzeyde (atom içi) yerçekimi
dalgaları saklıdır. Bu dalgaları makro düzeydede daha geniş alanlarda
serbest şekilde algılıyoruz. Devasa bir kütleye ihtiyaç duymadan bu güçlü
yerçekimi dalgalarını yapay olarak elde etmenin/üretmenin yolu.. atom içi
enerji spekturumu seviyelerine inmektir. sprektum bir noktadan sonra kendini
yerçekimi dalgası formunda dışarı salmaktadır.
Bir parçacık uzay/zamanın girdapsal bir kasılmasıdır,
sıkışması yada yoğuşmasıdır. Mikro düzeyde bu uzay/zaman burguları çok
güçlüdür. Elektomanyetizmadan çok daha güçlüdür. Fakat parçacıklar
oluşmaya başladığında/oluştuğunda bu uzay/zaman burulması
noktasal bir parçacık olarak algılanır.Bir parçacık oluştuğunda
parçacık çok güçlü bir uzay zaman düğümlenmesini temsil eder. Fakat
onun çevresinde elektriksel, manyetiksel kuvvet çizgileri şeklinde başka bir
alansal atmosfer ortaya çıkar. Dünyanın hava atmosferi gibi parçacık
çevresindede girdap desenli elektriksel ve manyetik alanlar ortaya
çıkar. Bu elektromanyetik , mıknatıssal alanlar parçacıklar
birleşirken çok güçlüdür.Bu düzeyde parçacıklar arası yerçekimi
kuvveti sıfıra yakındır. Fakat elektrik ve manyetik çekimler çok güçlüdür.
Parçacıklar birleştikçe elektrik ve manyetik alan tesirleri moleküler
düzeylerden sonra zayıflamaya başlar ve yerçekimi kuvveti etkin olmaya
başlar. Denebilirki en temel düzeyde, başlangıçta en şiddetli yerçekimi
kuvveti yerini elektromanyetik kuvvetlere bırakır. Parçacıklar moleküler
düzeyden toz parçacıkları düzeyine geldiklerinde artık yerçekimsel
etki baskın hale gelmeye başlar. Yerçekimi dalgası ve
elektromanyetik dalga atomun en derininde tek bir dalga formu olarak görünür
buna dalgalanan uzay/zaman çizgileri formu diyebiliriz. Bu dalgalar
mikro düzeyde girdaplaşarak parçacıkları ve parçacık çevresinde hakim
serbest elektromanyetik alanları ortaya çıkartır. Yerçekimi dalgaları artık
parçacık bünyesinde hapsolmakla (saklanmakla) birlikte parcacığın kendi
kütlesinden ve çevre uzay/zamanla etkileşiminden ileir gelen bir
mikro kütleçekim etkisinden söz edilebilir. Bir parçacık çevresinde
elektrik, manyetik ve gravitik alanlar bir aradadır. Ama etkin güçler
bakımından farklı bir denge durumundadır. Parçacıklar birleşmeye bir araya
gelmeye başladıkça bu güçler arası dengelerde değişir. Tüm mesele aynı
enerjinin yükselip alçalarak yerini bir diğer etkiye bırakması gibi
düşünülebilir. Aynı enerjinin değişik yüzleri/fazları ile karşı karşıyayız
diyebiliriz.
Atom çekirdeğinin derinliklerinde yada atom
çekirdeğinde saklı yerçekimi dalgaları demek uzay/zamanın
devirsel titreşim frekansına karşılık gelen bir tür mikro dalganın (kısa
dalga boylu ışınımın) serbest kalması, genişletilmesi anlamına gelir.
Uzay gemimizi hareket ettirecek olan şey tek bir
elektron fiziğine dayanmaktadır.Diğer adı kuantumelektodinamik teori!
Aslında uzay gemisi kavramı en sadece şekilde tek bir elekron
dinamiği/elektron fiziği kavramına indirgenebilir. Uzay gemisi devasa
bir metal kütle.. bu kütleyi hareket ettirecek olan boyutlar arasında
sıçratacak şey uzay gemisi bünyesinde kullanılacak olan bir enerjidir.
Bu enerji nedir? Elektomanyetizmadır! Peki elektromanyetizmanın kaynağı
nedir? İvmeli hareket eden elektronlardır. Bir uzay gemisi esasında devasa
bir karmaşık elektrik devresi olarak algılanabilir. Bir uzay gemisi
temelde bir frekans jeneratörüdür. Kocaman bir bir dalga osilatörü gibi
düşünülebilir. Uzay, zaman, boyutlar ve yerçekimi
kavramıda temelde elektromanyetik bir alan karşılığına sahiptirler.
Bir elektromanyetik alan denklemleri bünyesinde tüm bu kavramları toplayıp
bir araya getirebiliriz. Bunu bu şekilde ele aldığımızda uzayı,
zamanı, uzay/zamanın eğrilmesinide ışığın frekansları kavramı ile açıklamak
mümkün hale gelir. Uzay/zaman çatısı ile elektronun elektrik alanı, ve
manyetik alanı arasında bir bağlantı vardır. Elektron kendi hareketi
ile çevresindeki uzay/zaman geometrisi üstünde bir değişim meydana
getiriyor.
Öncelikle uzay/zamanı bükmesi gereken şey
elektronlardır. Elektronlar çevresindeki uzay/zamanı değiştirmeliki bu alan
içine giren bizim uzay gemimizde boyut değiştirebilsin. Elektronlar'dan
yayılan güç alanları uzay/zamana etki edecekki biz elektronları
ve oluşan alanı yöneterek uzay/zamanı yönetebilelim. Bu işin mantığı budur!
Öyleyse tek bir elekron parçacığını analiz
ederek, tanımlayarak bu parçacığın karakteristik özelliklerinden yola
çıkarak yıldızlar ve boyutlar arası yolculukları yada yerçekimi kontrolünü
düşünmüş olmamız gerekir.
Uzay gemisinin uzay/zamanda hareketini uzay/zaman
levhasında yuvarlanarak hareket eden bir elektron olarak algılayabiliriz.
Bazı sözde büyük felsefeci arkadaşlar mevcut maddeyi
düşünüp hemen bu maddesel varoluşun karşıtı olarak yokluk ve hiçlik
tanımlamasını kullanıyorlar. Mevcut varlığın karşıtı yokluk diyorlar.
Aslında mesele bu kadar basit değil. Biz varlık ve yokluk derken önce
varlığımızı ölçüp biçerek yokluk meselesine yaklaşmalıyız. Bu şu demektir...
bizim şu madde evreni dediğimiz mevcudatın olması için buna karşılık gelen
bir yokluktan bahsedilmesi lazım. Burdan yola çıkıp yoklukta varlık gibi
yaratılmış bir şeydir diyorlar. Meseleyi öyle algılayamayız. Öncelikle eğer
kafamızda yokluğun ne demek olduğunu az çok hayal edebilirsek mevcut
maddenin bu yokluğu doldurmaya yetmeyeceğinide idrak etmemiz ve anlamamız
gerekir. Önce bizim maddemiz üç boyutlu sınırları ile boyutsuz yokluğun
ancak bir kısmına karşılık gelir... yokluk üç boyutlu değilki...? Yokluk
boyutsuz bir noktaya tekabül eder. yokluğu tamamlayacak kadar boyutlarımız
yok! 3 boyutlu bir mevcudiyetin içindeyiz. Buda demek oluyorki maddenin daha
bilmediğimiz, göremediğimiz sonsuz boyutları sözkonusu! Meseleyi biraz daha
düşününce sonsuz boyutlu maddenin bile yokluğu dolduracak kapasitede
olmadığını anlarız! Bu demektirki yukarı aşağı boyutların ötesinde başka
yönlerde uzanan varoluş boyutlarıda olmalıdır. Yokluk allahın mekanı
gibidir. Gerçekte yokluk yoktur.Yokluk, algılarımıza girmeyen bir varoluşun
bilemediğimiz sonsuz skalalarını içinde barındıran bir ortamdır. Madde denen
şey yoklukta yer almaz! Yokluk maddeden (varlıktan) ötürü ortaya çıkar.
Yokluk bir zandır. Maddenin göremediğimiz boyutlarından dolayı oluşan bir
tahayyüldür. Yokluk varlığın yoğunluk, titreşim ve boyut farklarının neden
olduğu ortamlar arası bir algı farkından doğar. Hava bizim için yok gibidir.
Bir balık içinde su hava gibi yok gibidir. Yok diye bir şey yok! Yokluk
denen şey varlık içinde ortaya çıkan bir sanıdır. Yok yada var kavramı
enerjinin tirreşim farklarından doğar. Titreşimler çatıştığında vardır,
çatışmadığında yok deriz. Başka bir boyutun varlığı olan bir cin kendi
titreşim frekansını bizim boyutumuza ayarlarsa cinle göz göze geliriz..
Bir kurşun yeterince hızlı hareket ederse dönen bir
pervanenin içinden geçip gidebilir. Hatta bir kurşunu bir cama doğru istenen
bir hızda atabilirsek kurşun camı delmeden karşı tarafa geçebilecektir.
Herşeyin bir titreşim frekansı var. Onun frekansını biraz geçince o madde
ile muhatap olmazsınız.Gözün görmesi nasılsa dokunmak kavramı içinde
yoğunluk ve titreşim düzeylerinden bahsedilebilir. Boyutlarda böyledir,
geçmiş ve gelecek zaman kavramıda aynı şekilde titreşim farkından dolayı
perdeli hale gelirler. Geçmiş,şimdi ve gelecek üç zaman dalgası vardır. Bu
dalgalar arasında bizler (normal şartlar içinde) geçiş yapamayız. Çünkü tek
bir şimdiki zaman dalgası içinde hapis hayatı yaşarız.. bir şimdiki zaman
dalgasından diğerine bindirilerek zamanda ileri gidiyormuş şeklinde bir algı
içerisine gireriz. O titreşimler arasında kayabilecek bir teknik imkan olsa
zaman yolculuğuda yapmak mümkün hale gelebilir. Geçmiş ve gelecek yok demek
değildir! Hepsi var. Tüm zamanlar bir arada ve iç içe titreşim halindeler.

Tam bu konumda gemi içindeki güç bobinlerindeki
elektronlar ışık hızında dairesel bir tür tüp boyunca ivmeli bir
akım içinde dolanıyorlar. Peki gemiyi çevreleyen güç alanı frekansını
ışık hızının üstüne yükseltmek için ne yapmalıyız? Bunun için
elektronları hızlandıran elektriksel ve manyetik alan gücünü (potansiyelini)
bu kritik eşiği artırmak için yükseltmek bir çözüm olabilir. Bir frekans
değerini bir frekans değeri ile yükseltemeyiz. Bu ne demek? Bu şu demek..
bir jet uçağının hızını arttırmak için jet itki gücünü sağlayan yanmış
gazların eksozdan çıkış hızını artırmamız lazım.. Ama yanmış gazların çıkış
hızının bir son limiti vardır. Ondan daha hızlı olarak bir
roketi (jeti) hızlandıramayız. Bu bir bisikletin tekerini hızlandırmak için
tekere bağlı pedalı hızlı çevirmeye benziyor. Pedalı ne kadar hızlı
döndürürsek bisiklet tekeri o kadar hızlı döner. Böylece pedalı
çeviren güç zincir vasıtası (dişliler) ile kuvveti (iş gücünü) tekerleklere
aktarır. Sonuçta kendi hızımız neyse diğer sisteme aktaracağımız hızda
o kadar olur. Biz elektonları bir daire boyunca ivmeli
hızlandırmak için elektriğin frekansı (kinetik enerjisi) ile iş görmüyoruz.
Elektriğin voltaj değerini (elektrik alan gücünü) kullanıyoruz. Bundan
dolayı elektronları ışık hızının üstüne çıkartacak bir potansiyel elektrik
alan şiddeti(genlik değeri) oluşturabiliriz. Bisiklet tekerindeki
örnekte biz ne kadar hızlı pedal basarsak (pedal ne kadar hızlı
dönerse) tekerlekte onunla doğru orantılı olarak o kadar hızlı
dönüyordu. Bu şekilde ışık hızını aşamayız. Tekeri ışık hızından hızlı
döndürmek için bizimde ışık hızından hızlı pedalı çevirmemiz lazım.
Burada peki pedalı çeviren biz nasıl ışık hızının üstünde bir enerjiyi
üreteceğiz (elde edeceğiz) paradoksu ortaya çıkar. Işık hızının
üstünde bir kinetik enerjiyi ışık hızı ile sınırlı kendi uzayımız
içindeki kapalı sistemde elde edebilmek için nasıl bir yol izlemeliyiz?
Eğer bisiklet tekerini bir dairesel tüp boyunca dönen elektronlar olarak
düşünürsek kinetik enerji olarak üretebileceğimiz ve
elektronlara aktarabileceğimiz en son hız ışık hızı limiti ile sınırlı
olurken biz elektrik alan potansiyelini (gerilimini) yükselterek bu
potansiyeli elektronlara ışık hızı eşiğini atlatacak gücü (kinetik enerjiyi)
verebiliriz. Bu proplemi şu şekildede ifade edebiliriz...
''elektronik olarak bir elektrik devresi (osilatör devresi) içinde
ışık hızının üstünde bir kinetik enerji değerine karşılık gelen
elektromanyetik salınımları nasıl üretebiliriz ?'' Fizik yasaları
çerçevesinde frekansı artırmanın yolu ilkesel olarak
elektronları hızlandırmaktır. Temelde bize lazım olan ışık hızının üstünde
bir kinetik enerji değeridir. Bir nevi meseleyi daha basite indirgersek
soruyu şöylede sorabiliriz... soru ışığın üçüncü boyutu
simgeleyen dalga boyunu (en kısa dalga boyu) genişletmek nasıl mümkündür
sorusuna dönüşür.
Buna göre aslında boyut değiştirmek ışığın frekansını
yükseltmek gibi algılansada belirli bir eşik frekans değerinin dalga boyunu
genişletmek anlamına gelecektir. Tam bu frekans noktasında ışığın
dalga boyunu değiştirmek için (genişletmek için) dalganın genlik
(şiddeti) değerinden faydalanabiliriz. Voltajı kullanarak
elektrik alanı gerilimini, baskısını artırarak bunu frekans değişimi
için kullanabiliriz. Frekansı frekansla arttıramayız. Ulaşabileceğimiz en
yüksek frekans değeri ile (kinetik enerji değeri) daha üstünde bir
kinetik enerji değeri üretemeyiz. Ama elektrik alan gerilimi ve baskısı
konusunda belirli bir sınırlama görünmüyor. Gerilimin (elektrik alan
potansiyeli) iş gücünü frekansa çevirebiliriz.
Özetle denebilirki ışık hızını skaler (sayısal) bir değerle aşabiliriz.
Hızın hıza dönüştürümü ile ışık hızını aşamayız. Potansiyelin (şiddetin)
kinetik enerjiye dönüşmesi ile bir boyutsal sıçramayı sağlayacak enerjiyi
üretebiliriz.. f (frekans) değerini değiştirmek için f değerinden
faydalanamayız... hız arttırımını bir başka hız değeri ile sağlamaya
çalışırsak iki sistemde ışık hızında kitlenir kalırlar... bu bir bisiklet
tekerini kozmik hız sınırından daha hızlı çevirmek için gayret etmeye (pedal
çevirmeye)
benzer. Fizik kanunlarını sosyolojik dile çevirirsek buradaki durumu şöyle
izah edebiliriz.. ''bir mahkum başka bir mahkuma özgürlük veremez'' şeklinde
tercüme edebiliriz. Elimizde ışıktan hızlı bir kinetik enerji eldesi
olmalıki sistemin enerjisini ışık hızının üstüne çıkartabilelim. Kendi
uzayımızda hepimiz aynı enerji(hız) limiti ile çevrili olduğumuzdan bunu
yapma şansımız yok! Peki bunu nasıl yapabiliriz..? Cevap: bir potansiyel
değeri kinetik değere dönüştürerek!! Dalga genliğine (elektrik ve manyetik
alan şiddeti) müdahale ederek dalga boyu ve frekansa müdahale
edebiliriz.
Bu durum ok ve gergin yay örneği ile temsil
edilebilir. Okun (ışık hızında dönen elektronlar ) yay gerilimi (elektrik ve
manyetik alan şiddeti) belli bir potansiyele çıkartılır ve şoklama (flash
çakması) şeklinde sisteme verilirse (potansiyel enerji salıverilirse)
elektronlar bir kuantum enerji düzeyinden diğerine geçmeye zorlanacaktırlar.
Işık hızına (kinetik enerji değeri) karşılık gelen potansiyel enerji
değerinin üstüne çıkılırsa sistem ışık hızının üstüne çıkmaya zorlanır.
İçine girilen her boyutta yay gerilimi ışık hızını aşacak bir enerji
girdisini üretecek şekilde belirli bir potansiyel enerji eşiğini aşarsa
(yayı ışık hızının üstünde bir hız için baskı kuvveti oluşturacak şekilde
germek) ve bir flash patlaması şeklinde bu enerji salıverilirse her
seferinde elektronlar bir üst boyutun içerisine atlayacaklardır. Zaten
sistemi ışık hızında döndüren potansiyel enerji sabit şekilde
çalışıyor. Tekrar kendi boyutumuza (öz titreşim alanımıza) dönmek için ışık
hızı sistemini kapatmalıyız. Buradaki prensiplere göre boyutlar arasında
kademeli olarak geçiş söz konusudur. Mevcut yöntemle birden daha yüksek
boyutlara atlamak mümkün görünmüyor. Merdiven basamaklarını adımlayarak bir
orbitalden ( boyuttan /titreşim oktavından) diğerine geçiş sözkonusu. Yayı
ne kadar gerersek gerelim oku en fazla mevcut ışık hızı değerinin bir üstüne
sıçratacak kadar bir itki gücü oluşturabiliyoruz.
Boyut atlama sistemini irdelemeden önce
elektronları ışık hızında titreştirmenin/salındırmanın elektriksel devre
sistemlerini irdelemeliyiz. Elektronik olarak elektromanyetik tayfın en üst
tavan frekans sınırına çıkacak bir osilatör bir verici
tasarlamamız lazım. Bunun için dünya dışı varlıklar (zeta reticuli) element
115 çekirdeğindeki radyoktif ışımayı (elektromanyetik ışımayı)
dalga klavuzları ile alıp gemiyi çevreleyecek şekilde yönlendiriyorlar.
Buradaki mantığı ve prensibi, yapılan işi anladığımızda illaki element 115
gibi bir çekirdek tepkimesi radyasyonunada gereksinimimiz olmadığını
anlarız. Bu enerjiyi elektronları magnetron gibi klistron gibi donanımlar
içindede elde etmek ve bir dalga klavuzu ile gemiyi saracak şekilde
çoğaltmak tutmak, yaymak, kırpmak, kesmek, baloncuk bir alan oluşturmak
mümkün. Antimadde reaktörü büyüklüğünde bir tür magnetron (yüksek frekans
devresi) tasarlayabiliriz.
Aradafizikçi Bob Lazar'ın açıklamalarına göz
atıyordum.. Bob Lazar'ın üsde uzay aracını incelerken anlattıklarının benim
çalışmalarımla örtüşmesi Bob Lazar'ın söylediklerini ciddiye almama neden
oldu. Bu birinci faktör. Diğer faktör ise ben bilgi nerden gelirse gelsin
bilgiyi bu komplo, saçma yok öyle değil yada burada bilgi deformasyonu
amaçlı bir oyun varmı diye önyargı gütmeden tamamen aklın ve bilimin
bildiğimiz yada bilmediğimiz olası yasalarının, formüllerinin içinde ne
kadar olası olabileceğinin öngörüsünü oluşturmaya çalışarak olaylara
bakarım. Bir bir şey diyorsa her zaman kulak verip yargı getirmeden durumu
irdelerim. Fakat Bob Lazar'ın dünya dışı uzay aracını tarif eden tüm
bilgileri bir araya getirdiğimde detaya indiğimizde Bob Lazar'a gösterilen
ve verilen bilginin sadece gerçeğin çok küçük bir kısmı olduğunu anladım. Ya
henüz amerikalıların yabancı uzay aracı hakkında tam bilgileri yok yada Bob
Lazar ve içinde yer aldığı ters müdhendislik ekibine aracın sadece belirli
bölümlerini göstermiş olma ihtimalleri yüksek! Gemiyi görücüye çıkarmadan
içinden bazı parçaları çıkarmış olmalılar. Yada bir diğer ihtimalle
uzaylılar amerikalılara bu gemiyi bir jest olsun maksadı ile inceleme amaçlı
verirken kasıtlı olarak gemiden bazı parçaları çıkarmış olmalarıda bir
ihtimaldir. Öncelikle Bob Lazar'ın gemi hakkındaki tüm açıklamalarını
dikkate alıp incelediğimde geminin ışık hızından daha hızlı gidemeyeceğini
keşfettim. Çünkü geminin ışık hızını aşması için gerekli donanıma dair ne
görsel (cihaz olarak) nede teorik bir kanıt ve veri ortada yok.Benim
bilgiler sonucu ulaştığım nokta geminin bir uzay zaman bükülümü
yaratabileceği hatta bu büküm alanı içine görünmez olabileceği ve bu büküm
sürüşü (yerçekimsel sürüş) metodu ile ışık hızınında bir yolculuk
yapabileceği gerçeğidir. Bu konuda star trek fiziği ile yakından ilgili bir
bilim adamı olan miguel alcubierre nin warpdrive (uzay bükümü sürüşü)
denklemleride ışıktan hızlı bir yolculuk imkanını dile getirsede bu
denklemleri incelediğimde ortada bir hata olduğunu düşünüyorum.Denklemler
yanlış yorumlanıyor görüşündeyim. Sonsuz hız diye bir şey yok! Fakat hızın
bilinen bir limiti olmadığı bir gerçek! Bu limitler çeşitli teknolojilerle
aşılabilir ama sonsuz hızda gitmek diye bir şey yok! Konuyu dağıtmadan
diyebilirimki miguel alcubierrenin uzay bükümü denklemleri bizi en fazla
ışık hızında götürebilir. Bob Lazar'ın açıkladığı bilgileri toplayıp
uygulamaya koysak bu uzaylı gemisinin bizi götüreceği hız ışık hızı limitini
geçemeyecektir. Gemi ışık hızında, yerçekimi dalgası üstünde sörf yapar gibi
yol alacaktır. Tekrar uzaylı gemimize geri dönelim. Geminin içinde boyut
değişimini gerçekleştirecek sistemlerin ben yerlerinden söküldüğünü
düşünüyorum bunu ya uzaylılar yaptı yada gemiyi bilim ekibinin karşısına
çıkarmadan önce daha üst düzeyli amerikalı görevliler yapmış olabilirler.
Sonuçta olması gereken yerde olması gereken sistemler görünmüyor. Sadece
geminin güç ve itme sistemini temsil eden reaktörle muhatap olan bir ekip
içinde yer alan Bob Lazar'ın açıklamaları var. Yada bir ihtimal mevcut
düzenek kendi içinde boyut değişimini gerçekleştirecek mekanizmayıda
saklıyor olabilir. Ama böyle kabul edersekte böyle bir mekanizmadan
uzaylıların amerikalılara söz etmemeleride çok ilginç! Yada amerikalı daha
gizli birimler bu gerçeği bilsede Bob Lazar 'ın dahil olduğu ekibe sadece
kısıtlı bir bilgi verilmiş olabilir. Bob Lazar her bir ekibin geminin farklı
bir kısmı üstünde çalıştığından bahsetmişti. Hiç bir grup diğer gruplarla
görüştürülmüyordu. Tüm bilgiler bir ana merkezde bir araya getiriliyordu.
Geminin metalini inceleyen grup ayrı, bilgisayar ve seyir sistemini
inceleyen grup ayrıydı. Bob Lazar'ın dahil olduğu ekip sadece geminin güç ve
itme sistemi üstünde çalışıyordu.
Saçmalamakta herkes özgürdür.. ama doğru şekilde irdeleyen bir dimağ
gerçeklerin ne olabileceğini sezinleyebilir.
Bob Lazar diyorki benim önüme uzaylılardan alınmış olan gemilere dair
yığınla dosyalar koydular, gemi hakkında brifing verdiler. Uzaylı
tercümelerini okudum diyor. Bu tercümeler içinde geminin boyut
değiştirmesine dair hiçbir bilginin olmaması çok ilginç! Işık hızının
geçilmesine dair hiçbir uzaylı bilgiside ortada yok.. uzaylılar hiç böyle
bir şeyden bahsetmiyorlar.Amerikalılarda sadece bu geminin ışık hızını
geçebileceğine dair bir kanaat var. Gemilerden bir tane inceleme amaçlı
isteniyor.. onlarda veriyorlar... bu gemiyle asla ışık hızının üstüne çıkmak
gibi bir testte yapmamışlar... sadece dağ seviyesine kadar gemiyi yükseltip
manevra denemeleri yaptıklarından bahsediyorlar... çünkü ellerindeki şey
çalışan bir örmek ve onlar için çok değerli... onuda kaybetmeyi göze
alamıyorlar... bu bilgileri dikkate alırsak amerikalı yetkililerin onlarca
dosya içinden bir takım bilgileri çıkarmaları pek mantıklı görünmüyor. Bu
bilgi bizi uzaylıların kasıtlı olarak eksik bilgi verdiği fikrine
götürüyor.. eğer uzaylılar eksik bilgi veriyorsa verdikleri gemileride
vermeden önce ışık hızını aşacak çalışma mekanizmasınıda kasıtlı olarak
gizleyecek , devreden çıkartacak manipülasyonlar yapmış olma ihtimalleride
yüksektir... yani amerikalılara verilen gemi ışık hızını aşacak bir yeteneğe
haiz görünmüyor...
Bazen insanlığı değiştirecek yeni teknolojiler konusunda fikri mütalaada
bulunduğumda bir ses çok basit bir ilkeden söz ediyor.. büyük atılımlara
giden yol karmaşık ve anlaşılmaz ilkelerden geçmiyor diyor.. aslında herşey
görmek meselesi.. o basit prensibi görmek... farketmek , tüm mesele en temel
düzeydeki ilkeyi görmek .. karmaşık gibi görülenlerin ardındaki o çok basit
ilkeyi gördüğünde tüm dünyayı değiştirmek için gerekli olan görüşünde sahibi
olmuş olursun... mesela çağımızın tüm elektronik sistemlerini düşündüğümüzde
ilkesel olarak bir kapı zili devresinin teknik ve ilkesel çalışma
mekanizmasına indirgenebilir. Transistörler, kondansatör ve diğerleri bir
parça daha derinlikli analizin ufkunda ortaya çıkan teknolojiler
diyebiliriz. Daha ötesinde ışık hızının ötesine geçmek ve yerçekimi
dalgalarını kullanmak deyince tüm bu teknolojiyi basitçe tek bir elektron
parçacığının kuantumelektrodinamik yaklaşımı içinde ele almak mümkündür.
Magnetron tarzı bir elektron ivmelendirici elektronik
düzenek içinde elektronlar ışık hızına çıkartılabilir.Bu düzeyde
(elektronik devre içinde) oluşan enerji ve elektromanyetik dalga salınımı
dalga klavuzları ile alınarak uzay aracını baloncuk gibi saran bir
elektromanyetik büküm alanı oluşturulabilir. Burada illaki element 115 ve
antimadde reaktörü olması şart değil! Ama bizim istediğimiz enerji element
115 için çekirdeğinden radyoaktif bir ışıma olarak yapay radyoaktif süreçler
içinde kendiliğinden üretilebiliyor.
Bence Bob Lazar'ın tarif ettiği aracın altındaki
yerçekimi amplifikatörleride bir çeşit simit şekilli, dairesel yapılı dalga
klavuzu tarzında yüksek frekanslı alanı büyüten bir bobin gibi kendinde
tutan bir çeşit anten ve bobin vazifesi görmekte. Uzay aracı bir
çeşit LC osilatör gibi bir tür rezonans devresi haline gelmekte. Dalga
klavuzları süperiletken bir yapıda olmalı. Dalga klavuzu dahilindeki serbest
elektronlar rezonansa gelerek ışık hızı seviyesinde bir titreşim
hareketine zorlanmış olacaktır.Işık hızında titreşime zorlanan serbest
elektronlar bir tür süper iletken güç bobinleri içinde ışık hızında
dolanmaya başlayarak sinkrotronik bir ışıma meydana getirecektir. Dairesel
olarak kapalı iletken hatlar boyunca hareket eden elektronlar bir kez
rezonansa geldiklerinde artık element 115 ten enerji almasına ve
beslenmesinde gerek kalmaz. Sadece ilk kez arabayı çalıştırırken
kontak alması gibi düşünülebilir. Zaten o enerji dalga klavuzlarında güç
bobinleri içinde kaybolmuyor. Sonra güç bobinleri amplifikatörleri mekanik
olarak yönlendirilerek alanın matriksi (kalıbı) bir yöne doğru bozularak
yerçekimsel bir hareket sağlanmış oluyor. Fakat bu uzay aracının bu şartlar
altında ışık hızının üstüne atlaması konusunda Bob Lazar bir bilgi vermiyor.
Eğer bu aracın ışık hızının üstüne atladığını düşünürsek yada böyle bir
mekanizmayı kurgulamak istersek zaten dalga klavuzlarında ve güç bobinleri
(yerçekimi amplifikatörleri) içinde ışık hızında ivmelenen elektronları ek
bir yüksek elektriksel enerji gerilimi ile ( bir tür flaş
devresi ile) ışık hızının üstüne sıçratabiliriz.
Zaten parmak kadar küçük bir parça olan element
115 in orta ölçekli 3 - 4 kişilik bir uzay aracını
30- 40 sene idare etmesi bu elementin sadece gerekli olan ilk kıvılcım
enerjisini (yüksek frekans enerjisini) sağlamak adına kullanıldığı
fikrinide desteklemektedir. Zaten element 115 ten yerçekimi dalgası enerjisi
bir kez salındığında o enerji dalga klavuzlarında ve yerçekimi
amplifikatörlerinde indüklenmekte! Aynen LC (bobin -kondansatör)
rezonans devresi gibi! Süperiletken bir materyalden dalga klavuzu olunca
elektriksel direnç durumuda sıfır olacağından elektromanyetik enerji
sönümlenmeyecektir. Alan bir kez oluştumu kalıcı olacaktır. Alanı iptal
etmek için yada zayıflatmak için ek bir karşı enerji ile alanı
oluşturan etkiyi kasten bozmak/kapatmak yada sönümlemek gerekir.

yıldız sistemleri arasında yolculuk yapmanın en pratik
yöntemi hiper-uzay'ı kullanarak bir "sıçrama" gerçekleştirmektir.Normal
uzayda hiç kimse ışık hızından daha süratle ilerleyemez.Işık hızı ile en
yakındaki güneş sistemlerine bile yapılacak bir yolculuk yıllarca sürer.Ama
hiper-uzayda galaksinin bir ucundan diğerine bir anda gidebilir. Üst uzaya
bir atlama-sıçrama(jump) sayesinde ışık hızıyla dahi yüzyıllar sürecek
yolculuklar bir kaç saniye içerisinde gerçekleştirilebilir.
Evrenin bir temel titreşim düzeyi vardır. Disk biçimli
uzay aracımızın güç alanı titreşimleri bu alana uyum sağlayarak kendi alanı
ile uzay/ zaman alanı levhasını birleştirir. Bu disk alanı titreşimini
değiştirdiğinde bir sonraki düzeye (boyuta) geçer.Evren denen yerin bir çok
düzeyi (boyutu) vardır, ama titreşim frekanslarından ötürü bu boyutlar
birbirlerinden doğal olarak ayrıdırlar.
Telgraf'ın bulunuşu ile ilgili yazıları okurken
yazılar arasından şu ibare dikkatimi çekti... [
1830 lu yıllarda elektrikle haberleşme sistemi için gerekli tüm öğeler
hazırdı: Elektrik akımı, manyetizma ve elektromanyetizma. Şimdi tüm bunları
birilerinin birleştirip, haberleşmeyi sağlayacak sistemi geliştirmesi
gerekiyordu. ]
İlgili paragrafı şu şekildede ele alabiliriz....
Bugün yıl 2016 ışıktan hızlı uzay yolculukları için gerekli tüm ögeler
hazırdı: Kuantum kütleçekimi teorisi, yerçekimi dalgaları , birleşik alanlar
kuramı, kuantumelektrodinamiği anlayışı... Şimdi tüm bunları birilerinin
birleştirip, ışık hızının üstü hızlarda yolculukları sağlayacak sistemi
geliştirmesi gerekiyordu.
Kütle, yoğunluk, amplütüd(genik, şiddet, güç) skaler
(sayısal) bir büyüklüktür. Uzay aracımızdaki dairesel tüp içinde hareket
eden elektronları ışık hızında döndürüyoruz. Elektronları ışık hızına
çıkarmak için kullandığımız elektrik ve manyetik alan şiddeti değerini bu
noktada sıfıra karşılık olarak ele alıyoruz. Işık hızında dönen
elektronların hızınıda sıfır hıza karşılık olarak ele alıyoruz.
Elektronlara uygulanan potansiyel enerji şidddetinin değerini sıfır
olarak ele alıyoruz. Elektronların ulaştığı ışık hızı değerinide sıfır
kinetik enerji olarak yorumluyoruz. Çünkü ışık hızı noktasında uzay/zamanın
devirsel titreşim hızı ile uyumlanıyoruz. Tam bu noktada Tüm sistem
sıfır kinetik enerji ve sıfır potansiyel enerji kademesindedir. Bu durumda
uzay aracı sistemi içinde doğrudan bir kinetik enerji arttırımı yapamayız.
Ama elektronların hızını bir üst hız sisteme yükseltecek (sıçratacak)
şekilde potansiyel elektrik alan gerilimini (şiddetini) yükseltebiliriz.
Kuramsal olarak potansiyel enerjiyi çevremizdeki enerjileri bir
noktaya toplayarak istediğimiz kadar büyütebiliriz. Fakat potansiyel
enerjiyi ne kadar büyütürsek büyütelim bu potansiyel enerji gerilimi
elektronların hızınıda (kinetik enerjisini) doğru orantılı olarak
sonsuza kadar sürekli olarak arttırmayacaktır. Yani bir okun
yayını ne kadar gerersek gerelim zaten sıfır noktası değerinde bir kinetik
enerji konsepti içindeki okumuzu (elektronları) bir üst ışık hızı
katına sıçratacak bir etki oluşturabiliriz. Okun yayını germek demek ışık
hızına tekabül eden (elektronları ışık hızına çıkartan) sistem içinde
kullanılan elektrik alan şiddeti gerilimini ışık hızına karşılık gelen
alan şiddeti değerinin üstüne doğru yükseltmek demektir. Elektronları ışık
hızının üstünde bir enerji sistemine yükseltmek için elektrik alan
gerilimini belli bir değerde şok dalgası (elektrik alan şiddeti büyüklüğü)
şeklinde vermek yeterli olacaktır. Elektronları ışık hızının üstüne
sıçratacak belli bir elektrik alan gerilimi var. O gerilim değerine
ulaşıldığında elektronlar üst ışık hızı alanına sıçrayacaklardır. Bu
gerilim enerjisini bir tür elektriksel alan darbesi şeklinde sisteme
yükleyerek üst boyuta sıçrayabiliriz. Bu bir çakmağı çakmak gibi tarif
edilebilir. İmpluslar, enerji darbeleri şeklinde kesikli bir
enerji deşarjı ile elektronları bir boyuttan diğerine sıçratabiliriz.
Bunu bir kondansatörü doldurup/şarj edip her seferinde sisteme deşarj
etmek, yüklemek gibi düşünülebilir. Bu bir fotoğraf makinesinin
flaşının çalışma ilkesine benzetilebilir. Bu kondansatördeki açıp
kapatılarak yapılan yük boşalımı sistemi her seferinde bir üst boyuta
sıçratacaktır. Kondansatör doluyor ve flaşa boşalıyor. Her flash
patlamasında bir üst boyuta geçiyoruz. Bu durum bir oku germek ve bırakmak,
germek ve tekrar bırakmak gibi fasılalı bir işlemdir. Yayı ne kadar
gereksek gerelim her gerip bırakmada ok (elektronlar) bir üst ışık hızı
kademesine (merdivenine) sıçrayacaktır. Yüksek boyutlara çıkınca ışık hızı
sistemini kapatmakla tekrardan kendi boyutumuz içerisine dönmemiz mümkün
olacaktır. Potansiyel alan gerilimini belli bir değerin üstüne
çıkarttığımızda elektronlar ışık hızının bir kademe üstüne atlayacaklardır.
Bu durumda gerilimi hala büyütmemizin/yükseltmememizin anlamı yok. Üst ışık
hızı bandına girdiğimizde zaten sistem ışık hızında hareketine devam
ediyor... mevcut ışık hızı için gerekli alan gerilimide yine mevcut
sistemlerce üretiliyor. Sanki hiç ışık hızının üstüne çıkmamış yine kendi
boyutumuzdayız gibi sistem çalışmaya devam edecektir. Bu durumda ışık
hızındaki dönen elektronlara uygulanan standart gerilim değerinin tekrar
üstüne doğru mevcut gerilimi yükselttiğimizde elektronlar yine
bir üst boyuta geçecektir. Burada uzay gemisi içinde bu işlem için fasılalı
çalışan bir tür kondansatör devreye sokulabilir. Burada daha üst
boyutlara çıkmak için sonsuza doğru büyüyen bir potansiyel enerji değerine
gerek yok! Sadece elektronları ışık hızında döndüren potansiyel alan
geriliminin belli bir derece üstünde bir gerilim üretmek bunun için yeterli
olacaktır. Bunun için uzay gemisi sistemini ışık hızında titreştiren
(elektronları ışık hızında döndüren) elektriksel alan gerilimine ek olarak
daha büyük bir gerilim üretecek bir tür yedek/ek güç deposu/ünitesi
(kondansatör) yeterli olacaktır.
elektronları ışık hızına çıkartan elektrik alan
şiddeti ayarı 1. kademede iken ayarı 2. kademeye götürdüğümüzde
sistem ışık hızının üstüne atlar. Bu kademe ayarını tekrar 1. kademeye
getirdiğimizde uzay aracı bir üst ışık hızı alanı içinde kalmaya devam eder.
Alt boyuta inmez! Alt boyuta tekrar geri dönmek için ışık hızında kinetik
hızlanmayı sağlayan 1. kademedeki potansiyel alan üreticini kapatmamız
ve elektronlara verilen skaler enerjiyi (potansiyel enerjiyi) kesmemiz
lazım. Daha üst boyutlara çıkmak için elektrik alan şiddeti ayarı
1. kademeden 2. 3. 4..... şeklinde yüksek alan şiddeti ayarına
getirilmesine gerek yok! Sadece 1. ve 2. kademe ayarları yeterli
olacaktır. Düğmenin her boyut atlama işlemi için tekrardan 1. kademeden
2. kademeye doğru açılıp kapatılması lazım. Her açıp kapamada sistem bir üst
ışık hızı bandına sıçrayacaktır. Uzay aracı merdiven basamakları atlar
gibi, bir düzeyden diğerine sıçrayarak/atlayarak geçer. Her seferinde
yayın fasılalı olarak çekilip bırakılması lazım. Enerji kesikli olarak
sisteme verilmeli! Alan şiddeti ayar kademesi hep (sürekli) 2.
kademede kalırsa bir boyut değişimi gerçekleşmez. Sadece kendi boyutumuzdan
bir üst boyuta geçmeyi sağlar. Potansiyel enerjiyi sıfırdan (0)
bire (1) almak (yükseltmek) gibi.
Buna göre potansiyel enerjiyi sıfırdan
beşe, altıya, yediye yükseltmek bizi bir sonraki boyuttan daha öte
boyutlara sıçratmaz! Diğer bir ifade ile yayımızı ne kadar gerersek gerelim
okumuzun sıçrayacağı enerji bandı (boyut frekansı) bir üst titreşim
alanı olacaktır.
Prensip olarak bir alt boyuttan üst boyuta geçme
stratejisi temel bir boyut atlama prensibi olmalıdır. Daha üst boyutlara
sıçramak için daha büyük bir enerji üretmek sökonusu değildir. Bir alt
boyuttan bir üst boyuta geçiş için uygulanan teknik ve enerji
nicelikleri(büyüklükleri) sabit değerler içerecektir.
Bizim boyutumuzdan (titreşim frekansımızdan) 45.
titreşim oktavı yüksekteki bir boyuta geçmek için uzay aracımız içindeki
elektrik alan şiddeti devresini sıfırdan (0) bire (1) olacak şekilde
sistemi kapatıp açmamız lazım. Bu bir yayı gererek çekmek ve bırakmak
gibidir. Şarj - deşarj etmek gibi. Bir elektrik düğmesini açıp kapatmak gibi
düşünülebilir. Bir fotoğraf makinesi flaşı gibi çalışan bir sistem gibi
düşünebiliriz. Her flaş patlamasında bir üst boyuta sıçrıyoruz.
Buna göre diyebilirimki uzay aracıma boyut
atlatmak için elektronik olarak nasıl bir devreye ihtiyacım olduğunu
düşünürken araştırmalarım beni basit bir fotoğraf makinesinin flaş devresine
götürdü. Bir nevi uzay aracımızın üst boyuta atlaması çakan flaşlar
şeklinde olacak. Flaşların sıklığı üst boyutlara çıkış hızımızı
belirleyecek. Her bir flaş çakmasında uzay aracı bir üst boyuta sıçrayacak.
Yüksek bir enerji alan elektronun bir üst orbitale sıçraması gibi.
Elektronları ışık hızının üstüne çıkarmak için yüksek
bir elektrik alan şiddeti potansiyeli oluşturmak lazım. Bir tür yüksek akım
şoklaması gibi düşünülebilir.Bir anda yüksek bir voltajı sisteme vermek
şeklinde tarif edebiliriz.
Elektronları ışık hızının üstüne çıkarmak için
kullanılacak enerji potansiyeli maksimum olarak elektronları
ışık hızına çıkarmak için kullanılan potansiyel enerji miktarının 2 katından
biraz fazla olabilir.
Mantık olarak üst boyuta çıktığımız sistemle/işlemle
kademe kademe daha üst boyutlara çıkabiliriz. Fakat bu boyutsal
yükseliş merdiven basamaklarını çıkmak gibi olacaktır. Birinci titreşim
oktavından 16 . titreşim oktavına atlayamayız. Bu kırmızı renk
tonundan mor tonuna birden geçiş yapamamamız gibidir. Dalga boyu
kısalırken tüm ara renk tonlarını tarayarak mora ulaşırız. Kırmızı,
sarı, turuncu, yeşil, mavi, mor...! Gama ışınları yada radyo dalgaları
hangi renktir... insan merak ediyor.
[ Fotoğraf makinesi flaşlarının çalışması için enerji
depolayan araçlar kondansatörlerdir.
İlk flaşlar 19. yüzyılda kullanılan barutla anlık ışık sağlayan bir düzenek
idi. Ampülün ve taşınabilir pillerin yaygınlaşması, fotoğraf makinalarında
ve flaş aparatında pratik gelişmeler sağladı. Ayrı bir aparat iken zamanla
fotoğraf makinası ile kombine hale geldi.
Kondansatör,
elektronların kutuplanarak elektriksel yükü elektrik alanın içerisinde
depolayabilme özelliklerinden faydalanılarak, bir yalıtkan malzemenin iki
metal tabaka arasına yerleştirilmesiyle oluşturulan temel elektrik ve
elektronik devre elemanı. Piyasada kapasite, kapasitör, sığaç gibi isimlerle
anılan kondansatörler, 18. yüzyılda icat edilip geliştirilmeye başlanmış ve
günümüzde teknolojinin ilerlemesinde büyük önemi olan elektrik - elektronik
dallarının en vazgeçilmez unsurlarından biri olmuştur. Elektrik yükü
depolama, reaktif güç kontrolü, bilgi kaybı engelleme, AC/DC arasında
dönüşüm yapmada kullanılırlar ve tüm entegre elektronik devrelerin
vazgeçilmez elemanıdırlar. Kondansatörlerin karakteristikleri olarak;
-plakalar arasında kullanılan yalıtkanın cinsi,
- çalışma ve dayanma gerilimleri,
- depolayabildikleri yük miktarı
sayılabilir. Bu kriterler göz önünde bulundurulduktan sonra gereksinime
uygun olan kondansatör tercih edilir. Kondansatörlerin fiziksel
büyüklükleri, çalışma gerilimleri ve depolayabilecekleri yük miktarına
bağlıdır. Tasarım açısından ise çeşitlilik boldur, hemen hemen her boyut ve
şekilde kondansatör temin edilebilir. ]
Fotoğraf makinesinin flaş lambasına sistem bir
elektirik şoku (yüksek voltaj) veriyor. Kondansatör üstündeki akım doğrudan
flaş lambası üstüne boşalıyor. Bu şok ani bir ışık parlamasına neden oluyor.
Bu ani parlama bizim uzay gemimizin içinde dönen elekronların ışık
hızını atlayarak bir üst ışık hızı içerisine geçmesine karşılık gelir.
Flaş patlaması anında ortaya çıkan yüksek voltajı
kondansatörün bacaklarından çekeceğiz. Flas tüpler oldukça yüksek
gerilimlere ihtiyaç duyarlar.
Flaş tüpünü (lamba) elektronların içinde döndüğü
bir çeşit magnetron olarak düşünebiliriz... yada elektron
ivmelendirici bir sistem olarak düşünebiliriz.
Lambanın belli bir voltaj ve akım şiddeti altında ışık
hızına tekabül eden bir kinetik enerji seviyesinde ışık vermesi söz konusu.
Belli bir voltaj değeri (belli bir skaler enerji büyüklüğü) elektronları
ışık hızında ivmelendiriyor. Bu durumda iken sisteme bir kondansatör
devresi (flaş devresi) yardımı ile ani bir parlama etkisi için
yüksek bir gerilim boşalımı ile elektronların bir üst ışık hızı bandı
içine sıçramasını sağlayabiliriz. Burada bir çeşit enerji çakması
oluşturuyoruz.
Bir nevi ışık şiddetini arttırarak elektronları
hızlanmaya zorluyoruz.. hızlanan elektronlarda ışık hızının üstünde bir ışık
frekansına geçebiliyorlar/üretebiliyorlar.
...deklanşöre bastığımızda flaş patlar! Flaş tüpünü
elektronların içinde ışık hızında hareket ettiği tüp gibi
düşünebiliriz. Yıldırım çakması gibi bir enerji deşarjını tüp içindeki
elektronları ışık hızının üst bandı içine atlatmak için/sıçratmak için
kullanıyoruz. Potansiyeli kinetiğe çeviriyoruz. Işık hızında
elektronları döndürmek için belli bir potansiyel lazım. O potansiyelin
üstüne doğru çıktığımızda elektronların üst ışık hızı bandına sıçraması için
belli bir potansiyel eşiğine ulaşırız.. böylece elektronlar üstündeki
potansiyel gerilimi arttırmış oluruz.. o potansiyele ( belli bir güç
eşiğine) ulaştığımızda elektronlar ışık hızının üst bandı içine
sıçrarlar. Işık hızında dönen elektronlar sıfır hareket (durma modu)
konumundadırlar. Elektronu bu konumdan üst hız konumuna sıçratmak için bir
hareket vermeliyiz. Bir zorlama ve baskı oluşturmalıyız.Gerilen yayın ok
üstündeki baskısı gibi... yayı bıraktığımızda (kondansatör boşaldığında)
tüp içinde dönen elektronlar üst boyuta geçiş için harekete zorlanmış
olacaktırlar. Bir flaş çakması ve parlama ile uzay gemimiz
(elektronlar) bir üst boyut içerisine geçiyor.
..yüksek ve ani bir gerilim elektronların ışık hızı
bariyerinin üstüne sıçramaları için gerekli olan potansiyel enerji değerini
sağlar.
Üstuzaya (hyperspace) nasıl atlayabiliriz?
Flaş devresini ilkesel olarak (prensip bazında) ışık
hızını aşma devresi yada hypersürüş (üstuzaya atlama devresi) mekanizması
şeklinde görebiliriz.
Üst boyuta geçiş devresi. Işık hızının üstüne atlama
devresi. (Üstuzaya çıkmak!)
Electronic circuits to jump to the top of the speed of
light
Boyut atlama
ünitesi:


hyperspace jumping system : Işık hızı
duvarını (bariyerini/blokajını) atlamak/aşmak için...

trigger : tetik, pals(puls), deklanşör, kontrol
mekanizması, çabuk, çevik, atik
exposure: pozlama, maruz kalma, basma, teşhir, açığa
çıkarma, bırakma
stroge: depolama, ambar, yükleme, saklama
power Supply: Güç kaynağı

Işık hızı duvarını atlamak/aşmak için öncelikle
ışık hızını aşacak ünitenin ( elekrik devresinin) içerisindeki elektronların
ışık hızında ivmelenmesi lazım. Ancak bundan sonra uzay aracımıza (tüp
içinde dönen elektronlara) flaş etkisi (flaş devresi) ile
bir boyutsal sıçrama yaptırabiliriz.
İlkesel olarak flaş devresinin çalışması:
Flaş tüpüne giden iki kablo kondansatörün iki ucuna bağlıdır ve üzerinde 300
V( flaş tüpüne göre değişebilir) civarında bir gerilim olmalıdır. Üçüncü
kablo ise tetikleme trafosundan 2000 V civarında bir tetikleme voltajı
verir. Normal flash devrelerinde kaynaktan alınan gerilim yaklaşık 300v
seviyelerine kadar yükseltilip flasa bir bobin üzerinden verilerek ateşleme
elektroduyla flash patlatılır böyle bir standart sistem için 200-400uf
kodansator yeterli(400v).
Fotoğraf makinalarında kullanılan flash'lar xenon tüplerle yapılır ve bunlar
350V civarında DC besleme üzerindeyken bir kaç bin voltluk tetikleme
gerilimleriyle "patlarlar". Patlama için gereken yüksek gerilim 350Vdc ile
doldurulmuş kondansatörden alınan gerilim ile
tetikleme trafosu denilen çift sarımlı bir
trafoyla ve bir tristörle yapılır. Ani olarak ortaya çıkan iğne (puls)
darbelerle xenon tüpün orta ucu "ateşlenir" ve sonucunda da tüp dolu
kondansatörü boşaltır.
Ateşleme elektrodu, lamba dışına sarılmış ince bir
telden ibaret olup, Yeterli Anod gerilimi sağlandıktan sonra bu elektrodla
katod arasına 10-20kV gerilim uygulanır.
Eğer bu yükseklikte gerilim sağlamaz ve doğrudan Anod-Katod arasından
ateşlemek gerekirse 400V da ateşleme tahminimce çok zor. Flaş patlatmak için
bir kaç bin volt uygulamak gerekebilir.

Elektroşok Devreleri
Elektroşok Devreleri; düşük gerilimden (ki bu genelde pil olur) yüksek
gerilim oluştururlar.
Buradaki işleyiş şöyledir:
Uygulanan kaynak gerilimi artırılırken, akım düşürülür. Neticede yüksek
gerilimli, düşük akımlı bir voltaj elde edilir.
Örneğin;
9 voltluk ve 800 mA (miliamper)'lik bir kaynak gerilimi; 9000 volt'a
çıktığında akım da aynı oranda azalır ve sonuçta:
9 V x 800 mA = 9000 V x 0,8 mA olur.
Tabii bu ideal olandır (kayıpsız). Gerçekte bundan biraz daha düşük sonuç
olabilir.
Burada bilmemiz gereken nokta; giriş kaynak gücümüzün çıkış gücümüz ile aynı
olduğunu bilmektir. Yani aslında, fazladan birşey elde etmiş olmuyoruz,
sadece birini istediğimiz ölçüde artırırken, diğer bileşeni aynı oranda
düşürüyoruz.
Yüksek Gerilim Üreteçleri
Yüksek gerilim üreteçleri diye adlandırdığımız bu grup devreler; düşük bir
giriş gerilimini bazen birkaç kat artıran, bazen de binlerce kat artıran bir
özellik arzedeceklerdir.
Diğer gerilim artıran devre gruplarında olduğu gibi giriş gücünün çıkış
gücüne eşit olması ve gerilimi defalarca kat artırırken akımın aynı oranda
düşürülmesi prensibine göre çalışmaktadırlar:
Bu tip devreler; kullandığımız monitörlerde, televizyon tüplerinde, floresan
ve neon lambalarda, röntgen ışınlarını oluşturan X ışını tüplerinde, lazer
ışını güç kaynakları gibi geniş bir kullanım alanı bulmaktadır.
-------------------------------------------------------------------
Meseleyi ışık fotonları düzeyinde düşünürsek.. ışık hızını aşmanın
anahtarı... herşey tamamen elektronlar ve fotonlar ilişkisine
dayanıyor.. yerçekimini bile elektromanyetik denklemler içinden
türetebiliriz..
E (enerji), A (amplütüd/genlik) , f (frekans), c (ışık hızı), λ (dalga boyu)
Işık hızını aşmak ve f değerini üst boyuta çıkacak şekilde
değiştirmek(yükseltmek) için A (potansiyel enerji) değeri ile -----> f = c= λ
= E (kinetik enerji) değeri aşılabilir.
G (yerçekimi) , f (frekans) değeri ile
nötralize edilebilir yani dizginlenebilir. Zaten gemiyi ışık hızında hareket
ettirecek kuvvet G (gravity) kuvveti.
Işık hızı değeri kozmik hız sınırıdır.. fakat her
boyutun uzay/zaman çatısı altındaki ışık hızı değeri bir başka boyut
çatısına göre farklıdır. İşte bu fark bizim kendi kainatımız içinde çok
büyük mesafeleri bir anda bir adımda katetmemize olanak sağlar.
Boyutlar içinde gemimizle yükselmek için her seferinde
daha çok enerjiye ihtiyacımız yok.. bir tür arabaları kaldırmak için
kullanılan kriko mantığı var.. bir arabayı kademe kademe nasıl sabit bir
güçle kaldırabiliyorsak aynı şekilde gemideki sistemler (mevcut donanım)
bizi kademe kademe boyutlar arasında yükseltecek. Krikoyu boşa alınca araba
nasıl tekrar zemine iniyorsa uzay gemimizin enerji devresini kapatınca
gemi içinde bulunduğu yüksek boyuttan kendi boyutuna (öz titreşim
frekansına) çekilecek... kendi materyalinin yapılı olduğu boyutta
görünür olacak.
Birleşik alan teorisinin anahtarı elektromanyetizmadır
diyebiliriz. Evren içindeki herşeyi (elektronlar, parçacıklar, kütle, uzay,
zaman, dalga, yerçekimi, zayıf kuvvet, atomik bağlar... vs vs. )
elektromanyetik denklemlerden türetebiliriz.
Bir uzay gemisini bir elektron parçacığı olarak simüle
edip bir yüklü parçacık üstünden uzay/zamanı manipüle etmeyi ve ışıktan
hızlı yolculuk teknolojisini irdelemeliyiz. Bir elektron düzeyinde ışıktan
hızlı yolculuğu prensipte(ilke bazında) anlamaya çalışmalıyız.
Bir daire boyunca halka içinde ivmeli hareket eden yükün şekilde görüldüğü
gibi hızı artınca yayılan dalganın frekansıda artar.
Yükün bir halka içindeki dairesel hareketi sonucu çevreye sinüosidal
dalgalar yayılır. Buna elektromanyetik ışınım diyoruz. Burada dikkati çeken
bir şeyde FREKANSLA GENLİK arasındaki ilişkidir. Dalganın genliği sıfır
olursa frekansta sıfır olur. Fakat gerçekte bir ses dalgası için bir deniz
dalgası için sıfır değerden bahsedilebilir. Ama bir ışık dalgasının frekansı
ve genliği asla sıfır olmaz. Yada sıfır kavramından kastedilen şeyi anlamak
lazım... durgun bir göl yüzeyini temsil eden yük çevresindeki durgun bir
elektrik alandan bahsedilebilir. Bu alan elektromanyetik alanın kaynağı
niteliğinde bir alan olarak görülebilir. Bence bir elektron yapısı ve alan
çizgileri itibari ile uzay/zamanın levhasal çizgilerine bağlı bir yapıdır.
Bir elektron titreştiğinde çevresindeki uzay zaman ağıda titreşir. Bu ışık
hızında bir dalgalanma oluşturur. Yerçekimi dalgaları bu uzay/zaman ağının
elektrik-manyetik vektörlerini tamamlayan bir üçüncü vektör boyutu olarak
görülebilir. Uzay/zaman ağı bir elektron çevresinde elektrik ve manyetik
çizgileri açığa çıkartacak şekilde uyarılabiliyor. Peki elektromıknatıssal
olarak bunu yapabildiğimize göre elektronlarla elektrogravitik bir alan
oluşturan bir bobin yapılabilir mi? Yerçekimi dalgaları oluşturan bir bobin
(güç bobini)!! Bir mıknatısın alanı doğal bir manyetik alan oluşturuyor.
Güneşin ve gezegenlerin kütleleri doğal bir gravitasyon alanı
oluşturuyorlar. Bir iletken telden geçen elektrik akımı akıma dik bir açıda
dairesel olarak manyetik bir alan oluşturmaktadır biz buna elektromıknatıs
etkisi diyoruz.
Zaman dalgaları düzeyinde değişen genlik frekansıda
değiştirecektir.
Her şeyin özü enerjidir. Kütle,
enerjinin yoğunlaşmış halidir.Enerji sürekli titreşerek bir salınım
oluşturur. Bizler de insanoğlu olarak sürekli titreşen enerjileriz. Titreşim
seviyemiz düşük olduğu için yeryüzünde çökeltilmiş şekilde yani kütle-beden
olarak hayatlarımızı devam ettiriyoruz. Bizim titreşimimize uygun şekilde
titreşen enerjileri de kendi titreşim dünyamızda kütle olarak görebiliyoruz
(diğer insanlar, hayvanlar, masa, sandalye vs.)
Titreşim seviyesini saniyede belli bir eşik değerim çok üzerine çıkartıp
zaman mekan mefhumunu aşan ufolar...
Rezonans kavramı uzay alanı ile
birleşmenin anahtarıdır. Sıfır nokta enerjisi alanı bir dalga boyuna, bir
frekans ve titreşim değerine sahiptir. O alanla rezonans girebilirsek(uyumlanmak)
oradan enerji çekebiliriz. Buna
evrendeki temel enerjinin ritmine yakınlaşmak diyebiliriz.
Frekanslarla (titreşimlerle) boyut değiştirmek...
Her alemin/boyutun/evrenin kendine özgü titreşimi vardır. Kendi boyutumuz
içinde bile eşyalar, maddeler kendi aralarında farklı hızlarda titreşirler.
Nikola Tesla'nın da belirttiği üzere evreni anlamak istiyorsak frekanslara
ve titreşimlere bakmalıyız. Bunu daha ileriye götürecek olursak aslında
evren dediğimiz bütünü oluşturan enerji sürekli titreşim halindedir ve bizim
farklı olarak görlüğümüz atomlar, moleküller, maddeler, aslında sadece
farklı frekanslara ve bu frekansların yarattığı harmoni ve girişimlere sahip
enerji halleridir.
Enerjinin en temel halinden en yüksek haline, madde diye tabir ettiğimiz
yapılara kadar, tamamen frekanslar ve tireşimler vardır. Etrafımızdaki tüm
olayları frekanslar, bunların harmonileri ve girişimleri ile
açıklayabiliriz. Mesela bir bakır atomu belli bir sayıda proton, nötron ve
elektrondan oluşur. Bu alt yapıların her biri de kendi içinde bunları
oluşturan yapılara sahiptir.
Frekans teorisine göre enerji en temel halden itibaren bir frekans ve
titreşim olarak kendini gösterir.
Evrenin kendine has bir frekansı vardır.
Uzay/zaman alanı bir hamura benzer .. bu hamuru, bu
kaucuk levhayı bükebilmek, çekiştirebilmek, yamultabilmek için levhaya
dokunabilmek, levhayı tutabilmek lazım. Yani levha ile aynı frekansa
gelebilirsek onu etkileyebiliriz. Her türlü elektromanyetik dalga uzay/zaman
levhası için bir hayalet formuna karşılık geliyor. Hamuru tutup
formunu değiştirmek isteyen bir hayalet elin hamurun içinden geçmesi
gibi bir durum sözkonusu. Hamuru yoğuracak elin hamurla aynı frekansta
titreşmesi lazımki hamura dokunabilsin ve şekil verebilsin.
Bob Lazar'ın ifadelerinde geçen yerçekimi dalgası
tabiri bir kütleçekimsel dalga üretmek anlamında ele alınmamalı. Yerçekimsel
dalga ( gravity wave) tabiri uzay/zaman kumaşına etki edebilen
elektromanyetik bir frekans alanı (dalgası) üretmek anlamındadır.
If you want to find the secrets of the universe, think
in terms of energy,
frequency and
vibration.
– Nikola Tesla
Belli ritmlerle/frekanslarla ufo güç alanı
evrensel alanla bütünleşebilmektedir.
Nikola Tesla bir zamanlar şöyle söylemişti:
"Eğer ki Evren'i anlamak istiyorsanız, onu
enerji, frekans ve titreşim olarak düşünün."
ELECTRO GRAVITICS, TORSION FIELDS , and UFO Propulsion

This is a set with Dr. Paul LaViolette, on the reverse engineering of
Advanced Alien technology since ?
...antigravity technology. “Torsion Field
Technologies”
Torsion field generators.
The US used high powered radar to 'mess up' the ufo's torsion field
technology!
Zero-Point Energy Technology; Vacuum Energy Vortices; ... The Basis of Zero-Point
Energy Inventions; Vortex Filaments, Torsion Fields ... saucer" technology
of Nazi Germany and the genesis of man-made UFOs.
using scalar (torsion) wave technologies.
... technologies based on hyperdimensional physics and torsion field ...

Electromagnetic, Electrostatic and Torsion Fields,
Scalar / Torsion Field
... Scalar/torsion technology
technologies in the physics of vacuums and torsion fields.
If this is a UFO it could posibly using a torsion field to jump through
space time.
Vortex (torsion field) Energy
"hyperdimensional/torsion field energy technology" .
The episode 'Hangar 1: The UFO Files – Alien Technology'
It was torsion field physics they were reported to have made strides in, ...
Torsion Fields and Scalar Energy ...
field-propulsion ..... Torsion physics, or Hyperdimensional Physics
Antigravity Propulsion
HAARP: scalar waves and hyperdimensional torsion fields.
scalar/torsion field structure had been excited from the vacuum/aether
"torsion fields". .... Refers to a magnetic/gravitational force technology
...electromagnetic, geometrodynamical or torsion field configuration

As stated by author Nick Cook in his book, “The Hunt
for Zero Point”… “Manipulate the inertia of an object and you remove its
resistance to acceleration. Put in space and it would continue to accelerate
all the way up to light-speed—and maybe even beyond. Manipulate the local
gravity field around an object and you could get it to levitate.”
The Hunt for Zero Point: Inside the Classified World of Antigravity
Technology: Nick Cook
This riveting work of
investigative reporting and history exposes classified government projects
to build gravity-defying aircraft--which have an uncanny resemblance to
flying saucers.
The atomic bomb was not the only project to occupy government scientists in
the 1940s. Antigravity technology, originally spearheaded by scientists in
Nazi Germany, was another high priority, one that still may be in effect
today. Now for the first time, a reporter with an unprecedented access to
key sources in the intelligence and military communities reveals suppressed
evidence that tells the story of a quest for a discovery that could prove as
powerful as the A-bomb.
The Hunt for Zero Point explores the scientific speculation that a "zero
point" of gravity exists in the universe and can be replicated here on Earth.
The pressure to be the first nation to harness gravity is immense, as it
means having the ability to build military planes of unlimited speed and
range, along with the most deadly weaponry the world has ever seen. The
ideal shape for a gravity-defying vehicle happens to be a perfect disk,
making antigravity tests a possible explanation for the numerous UFO
sightings of the past 50 years.
Chronicling the origins of antigravity research in the world's most advanced
research facility, which was operated by the Third Reich during World War II,
The Hunt for Zero Point traces U.S. involvement in the project, beginning
with the recruitment of former Nazi scientists after the war. Drawn from
interviews with those involved with the research and who visited labs in
Europe and the United States, The Hunt for Zero Point journeys to the heart
of the twentieth century's most puzzling unexplained phenomena.
Nazi Bell: ‘Die Glocke’
‘Mastery of physical creation’ may well have been the goal of the mysterious
“Die Glocke” or Nazi Bell Project.
To guarantee extreme secrecy, high-priority Nazi SS research was strictly
compartmentalized. So while one division of SS projects may have been
exploring the potentials of torsion levitation physics for propulsion a
totally separate SS project may have been exploring the weapons potential of
Tesla’s torsion physics with the Nazi ‘Bell’.
Within a cylinder device, roughly the size of a
camping trailer, tremendous torsion field distortion was generated by
counter-rotating mercury plasma. This plasma was then pulsed by extremely
high voltage direct current electricity as if to push the very limits of
torsion potential, to distort the geometric fabric of time and space itself.
But what was the Bell’s true purpose?
At this same time, according to the research of Joseph P. Farrell in his
book Reich of the Black Sun, in late 1944 when the Nazis also succeeded in
detonating an atomic bomb in the Baltic, it is also quite likely that they
were seeking a vastly more powerful device—a plasma wonder-weapon generating
far more destructive force than even a hydrogen bomb, capable of destroying
not just a city but perhaps an entire continent, or even a planet...!
Whatever its use, the Bell project and its designers escaped capture and
completely vanished just before end of the war.
--------------------------------------------------------------------------
At the very heart of the Vril legend was a striking
beauty named, Maria Orsic. This gifted medium was leader of the Vrilerinnen,
a team of psychic girls serving the Vril Gesellschaft, who
characteristically wore their hair in long horse-tails, contrary to the
popular short, bobbed hairstyles of that era. The ladies of the Vril
actually claimed their long hair acted as cosmic antennas that helped
facilitate their occult contact with beings from beyond. Presumably through
a telepathic form of automatic writing, Maria Orsic made contact with an off-world
civilization which was offering just the kind of ‘alternative’ technology
the German Secret Societies were looking for.
As the legend goes, a fateful meeting was held in 1919 at an old hunting
lodge near Berchtesgaden, where Maria Orsic presented to a small group
assembled from the Thule, Vril and Black Sun Societies, telepathic messages
she claimed to have received from an extraterrestrial civilization existing
in the distant Aldebaran solar system, sixty-eight light years away, in the
Constellation of Taurus.
One set of Maria's channeled transmissions was found to be in a secret
German Templar script unknown to her. A second series of transmissions
appeared to be written in an ancient eastern language, which Babylonian
scholars within the Thule group, recognized as ancient Sumerian. Maria Orsic
along with Sigrun, another of the Vril Society's female mediums, began the
task of translating these transmissions and discovered they contained
instructions for building a circular flying-machine.
It is worth noting here that the Vril Society traced its philosophical
origins back to a secret Bavarian, Gnostic-Templar order styling itself as
“The Lords of the Black Stone” founded in 1221; an order steeped in ancient
Babylonian and Sumerian theologies. Members of this Templar group displayed
the winged-bull for their symbol--an obvious reference to Taurus, and
according to the order’s archives, successful contact with beings from the
Aldebaran star system may have occurred during the Middle Ages.
If indeed, a high-tech civilization actually existed in the Aldebaran star
system, what would account for their possible motivation to assist the Vril
Group and Germany to develop advanced technologies? Researcher Lt. Col.
Wendelle Stevens [USAF Ret.] tells us that, rather than a militant gesture
of aid to aggressive Nazis, the Aldebarans perceived an economic disparity
in Earth cultures that fueled perpetual wars and conflict. To alleviate this
disparity the Aldebarans reasoned that by offering 'free-energy'
technologies, used to create affordable mass transportation devices, a new
innovative generation of industries, promoting prosperity and greater
peaceful interaction between nations might result; thus diminishing violent
wars. Clearly such a plan resonated with members of the Vril Society and
their dream for a utopian New World based on 'alternative science'.
Saucer Construction Begins…
Upon studying these otherworldly, designs, Dr. W.O. Schumann and his
associates from the University of Munich and the Thule Society realized the
channeling actually contained viable physics, and over the ensuing years
construction was initiated to make this flying machine a reality. By 1922
development of a working prototype was underway.
Although the first manned disc crashed on its maiden flight, a re-designed,
five meter RFZ-2, was successfully test flown in 1934 and eventually flying
disc development was taken over by Division SS E-IV of Hitler‘s Third Reich...
The Saucers Go to War…
Inspired by the utopian visions of both Thule and Vril Society ideals, Adolf
Hitler rose to political power under the swastika banner of Germany’s
National Socialist Party. Yet, despite his professed aim to create a world
of cosmic harmony, Hitler plunged Europe into the altogether destructive
Second World War by sending his Panzer tank divisions and infantry into
Poland in 1939. And, although all German secret societies were outlawed by
the Nazi Party, the Thule and Vril Gesellschafts maintained their autonomy,
and development of Vril levitating saucer craft continued, despite funding
competition from conventional Luftwaffe war-production imperatives.
‘Aero-Technical Unit V-7 designed a number of hybrid saucers that combined
both exotic anti-gravity and conventional turbojet propulsion systems,
creating vertical lift craft that were essentially precursors to modern
helicopters. Although some of these bizarre designs were successfully flown,
they earned dubious reputations as clumsy gas-hogs that spent more time in
maintenance than actually flying.
However, the anti-gravity Vril designs demonstrated more efficiency. It is
important to note, the Vril craft did NOT ‘fly’ in the traditional sense.
Like huge gyroscopes, these craft levitated by generating their own discrete
gravitational fields. Thus the distinctly separate, highly classified SS E-IV
Unit bore the sole secret responsibility of developing Hitler's dream of
free-energy flight machines.
Anti-Gravity Technology
This amazing myth implies that German engineers had successfully mastered a
form of levitation technology by designing a torsion propulsion engine
capable of sustaining a controlled energy vortex, which would supply the
housing vehicle with its own discrete gravitational field.
Although no specific engine design details have surfaced, the mechanics
inferred from rudimentary schematics show a uniform circular disc shell
mounted around a central sphere propulsion unit, presumably a pressurized
container holding a liquid medium [perhaps mercury], which was made to spin
at an extremely high velocity.

The intense centrifugal force generated by this spinning medium would in
turn create a central cone of vortex energy that would generate a uniform,
self-sustaining, gravitational bubble
surrounding the craft.

Varying the rotational speeds of the centrifugal spin would allow the disc
vehicle to levitate, accelerate or even sufficiently distort the surrounding
electromagnetic field so as to become invisible.

Sıfır Noktasını Ararken isimli kitabında Nick Cook,
havacılık uzmanı Dr. Dan Marcus'un, yeterli büyüklükte bir burgu alanı
oluşturulduğunda, bunu yapan jeneratörün etrafındaki dört boyutlu uzayın
bükülebileceğini ve uzay büküldüğünde zamanın da bükülebileceğini
söylediğini belirtmektedir. Marcus'a göre bu girdaplardan bir tanesinin
çevremizi saran sıfır noktası enerjisi alanına girmesi halinde, mucizevi
sonuçlar elde edilebilir.Yani burgu alanı adeta bir pompa gibi sıfır noktası
alanına girerek oradaki enerjiyi dışarı çekebilir.Bu görüşün önündeki tek
engel, burgu alanlarının yerçekimi ve elektromanyetizma ile etkileşebilmesi
için beş boyutlu bir hiper uzaya ihtiyaç olduğudur. Söz konusu proplem
Dr Eugene Podkletnov'un yürüttüğü süperiletkenlerin kütleçekimini
durdurucu özellikleri ile ilgili araştırması sayesinde çözülebilir.
Eğer boşluğa bağlanabilmeyi başarırsak muazzam sonuçlar elde edebiliriz.
Boşluğun fiziğini kullanarak yıldızlara
gidebiliriz.-
Stanford Üniversitesi Bilim Teknoloji Departmanı
Bu
boşlukta istemediğiniz kadar enerji bulunduğu öne sürülüyor. Bununla da
kalmayarak kütle, eylemsizlik, yerçekimi gibi temel sorulara ilginç çözümler
sunmanın veya galaksinin bir ucundan diğerine sıfır zamanda gidebilmenin
sırrının boşlukta yattığı iddia ediliyor.
Dr.
Hal Puthof, bilinmeyeni çözmenin sırrının "boşluk mühendisliğinde yattığını
iddia etmektedir. O'na göre boşluk, tüm enerjik parçacıklarının ve alan
dalgalanmalarının olduğu kadar uzay zamanın da
beşiğidir. Tüm enerjinin içinden doğduğu
kaynaktır Ve kendisi başlı başına enerjidir. Bu da
boşluktan faydalanarak yakıtsız itiş gücü
sağlanabileceği anlamına gelmektedir.
Araştırmacılar yakıtsız itici güç sağlayabilmek için boşluktan faydalanmaya,
ve başta elektrik enerjisi olmak üzere sıfır noktası alanlarından enerji
elde etmeye çalışıyorlar. Her sahadan
daha fazla hayal gücüne ihtiyaç olan boşluk
mühendisliği önümüzdeki yıllarda ortaya
bir bedava enerji" nesli çıkaracak gibi görünüyor. Bu nesil boşluğu etkili
kullanmayı başarabilirse tüm dünyayı saran elektriksel bir enerji kaynağına,
ve çok sessiz çalışan kara ve hava ulaşım araçlarına sahip olacak. Bu
enerji, kirliliğe neden olmayacak, güneş panelleri veya rüzgar enerjisine
gerek kalmayacak. Enerji probleminden kurtulmak, daha sağlıklı ve doğal
kaynaklarının dengesini koruyabilen bir dünya yaratacak.
İnsanoğlu'nun En Büyük Başarısı isimli 1907 tarihli yayınlanmamış bir
yazısında, esiri Akaşa'ya (evrensel bellek) benzeterek, bir tür kuvvet alanı
olan bu ortamın, Nikola Tesla prana (kozmik enerji) ona etki ettiği zaman
maddeye dönüştüğünü iddia etmişti. Etki sona erdiğinde madde yok olmakta ve
Akaşa'ya geri dönmekteydi. Tesla, Einstein
tarafından öne sürülen eğimli uzay fikrinin yetersiz bir açıklama olduğunu
düşünüyordu.
Çünkü kendisinin bahsettiği alan, tüm uzaya
yayılmış olduğundan yalnızca kütle çekimi değil, uzayda gerçekleşen her
fenomenin böyle bir alana istinaden açıklanabileceğine inanıyordu.
Sıfır
noktası enerjisi kullanarak anti kütle çekimi yaratan, yani yerden
havalanabilen araçlarla ilgili çalışmalar daha fazla saygı görüyor. NASA'da
görevli Dr. Marc Millis, Sıfır Nokta Enerjisini bir elektromanyetik fenomen
olarak nitelendiriyor ve uzay yolculuğu araştırmalarında Sıfır Noktası Alanı
ve elektro-manyetizmanın etkili kullanımını hedefleri arasına aldıklarını
söylüyor.
Uzay
mekiklerinin yakıt problemine bir çözüm bulabilmek amacıyla anti-kütleçekimi
üzerinde çalışmalar yapılıyor ve sıfır noktası enerjisinden itici güç olarak
nasıl faydalanılabileceği tartışılıyor.
Kütle çekimine karşı üretilebilecek çözümlerden birisi de ; Dr. Eugene
Podkletnov'un yürüttüğü süper iletkenlerin kütleçekimini durdurucu
özellikleri ile ilgili araştırmasına dayanabilir.Buna göre
Dakikada 5000 devirden hızlı döndürülen süper
iletkenler, ağırlık kaybederek yerden havalanmaktadırlar.
Dr. Podkletnov'a göre çok hızlı dönen bir
cisim, belirli şartlar altında, içinde bulunduğu hacimde polarizasyona
(taneciklerin spinlerinin rastgele olmak yerine bir yönde yönlenmeleri)
neden olacaktır. Ortamın polarize olması demek boşluğun dokusunu oluşturan
atom altı parçacıkların paralel olması anlamına gelir. O zaman bir tür kütle
çekim kuyusu meydana gelir ve bütün nesneler bu kuyuya düşmeye başlarlar.
Cisimi bu durumda gökyüzünde yükselen bir nesne olarak algılarız.
Çetin BAL:
2016 - 12 Ocak
Yerçekimi uzayın dokumasının bir özelliğidir. Zamanda
uzayın bir özelliğidir. Biz buna üçboyutlu uzayı tamamlayan bir dördüncü
boyut diyoruz. Peki yerçekimi nedir? Yerçekimi uzayın üçboyutlu zeminin bir
şekilde bükülmesine karşılık gelir. Biz buna eğri uzay diyoruz. Uzayın
eğriliğinden bahsetmek için üç boyut kavramına boyut katmak yada boyut
eksiltmke mecburiyetindeyiz. Yerçekimi temelde boyutsal bir faz farkı
oluşturmaktır. Parçacık kavramı çevresinde görülen kütleçekimsel etki olzan
uzay zaman eğriliği yerçekimi alanını kurmakla birlikte parçacığında
oluşumuna sebeb olan bir etkinin sonucu tezahür eder. Zamanı bir dalga
olarak tanımlarsak bu dalganın uzay alanı dalgası ile ilintili olduğunu
söyeleyebiliriz. Yani zaman uzayın titreşiminin bir sonucududur. Bu yüzden
zamanı üçüncü boyutun kendini dörcüncü boyuta uzatması gibide tahayyül
edebiliriz. Zaman, uzayın hareketidir.Yerçekimi ile zaman arasında bir
ilişki vardır. Zamanda, yerçekimide kendi başına var değildir. Her ikiside
uzay boyutunun bir özelliğidir. Göl yüzeyinde bir su dalgasını düşünelim.
Yada havada yayılan bir ses dalgasını düşünelim. Sudaki dalganın yada ses
dalgasının kendi başına bir varlıkları yoktur. Ses dalgası hava
moleküllerinin titreşmesinin(hareketinin) bir sonucudur. Aynı şekilde su
dalgalarıda su moleküllerinin uyumlu (kümülatif) hareketinin bir sonucudur.
İşte aynı şekilde zamanı ve yerçekiminide bir dalga olarak düşünürsek.Bu her
iki dalgada uzayın dokumasından bağımsız kendi başına ayrı bir varlığa sahip
değillerdir. Zaman dalgaları ve yerçekimi dalgaları uzayın dokumasının
boyutlarına, kıvrılmasında, hareket dinamiğine(tireşimine) bağlı olarak
ortaya çıkan hallerdir.Peki uzay denen boşluk nedir? Uzay temelde
elektromanyetik bir yapıdır. Bir enerji dokumasıdır. Bir sıvı ışık havuzu
olarak adlandırılabilir. Bu durumda zaman dalgası yada yerçekimi dalgası
denen şey elektromanyetik bir dalga boyu ile bağlantılıdır. Yani zaman
dalgası ve yerçekimi dalgası elektromanyetik dalgaların bir özelliğidir!
Uzayın geometrisi kavramıda ışık dalgalarının kümülatif toplu hareketlerinin
ifadelendiği bir alan enerjisini ifadeler. Tüm evreni devasa bir ışık
dalgası formu olarak düşünebiliriz. Tek bir dalga boyu ve tek bir nabız
atışı! Işık bölünemez bir güç hacmidir. Bizler onu zamanın geçişi içerisinde
kuantlar denen ışık fotonları şeklinde ölçümleyerek birbirinden ayrı
birimler olarak kabul ediyoruz. Gerçek durum böyle değildir. İşte bundan
dolayı ışık dalgamı, parçacıkmı ikilemi içerisindeyiz. Işığı kuanlar halinde
gösteren şey zaman ve uzay arasındaki ilişkide yatar. En küçük zaman
kuantumundan bahsedebileceğimiz gibi ışığın kuantumsal durumundanda
bahsedebiliriz. Aslında tüm zaman dalgalarıda (şimdi, geçmiş, gelecek anlar
toplamı) daha üst bir planda (dördüncü boyut) birbirinden ayrı değildir. Bir
tür dörtboyutlu elektromanyetik bir frekans bandının parçasını oluştururlar.
Uzayın temel özelliklerini kullanarak bizi sevkeden itici bir güç kaynağı
olarak kullanabiliriz. Uzay, zaman, boyut, kütle ve yerçekimi, dalga,
parçacık , frekans , enerji denklemlerini masaya yatırdığımızda karşımıza
bizi uzayda ışık hızında ve ışık hızının üstünde hareket ettirecek bir sevk
sistemine dair bir bulguya ulaşırız. Biraz düşünenler için bu yıldızlar
arası uzay gemisinin güç ve itme sistemine dair şema ortaya çıkar. Bazıları
ateş üstünde kaynayan ve buharlar çıkaran çaydanlıkta sadece çay görürken
demir yollarını ve buhar gücü ile dişlilerle , demirden kolları ile işleyen
ve insanları bir yerden bir yere götüren trenleri, sanayi makinelerini
görüyorum. Asıl mesele buhar gücü ile çalışan treni görmek, buhar basıncının
gücünü görebilmek ve onu kullanmak! Ve uygarlığı başka bir noktaya taşımak!
Görüyorum.... enerji alanlarının uzayı eğip bükerek ışıktan hızlı
yolculuklara izin veren o potansiyeli görüyorum... orda hemen yanıbaşımızda..
bizi çeken yerçekimini görüyorum.. yerçekimi bizi çekebiliyorsa,
karadeliklerden ışık hızında kaçmaya çalışan ışık bile ona karşılık
gelebilen bir güçle çekibiliyorsa aynı güç bizi (bu iş için tasarlanmış uzay
gemimizi) ışık hızında uzayda gezdirebilirde. Tek mesele bu vahşi atı
ehlileştirebilmekte! Diğer ifade ile yapay yerçekimi gücü motorları!!! Dünya
aynı güçle bizi kendine çekerken ve yeryüzüne hapsederken biz aynı gücü
yeryüzünden kaçmak için kullanacağız. Bizi yeryüzüne bağlayan gücü biz
gökyüzüne çıkmak için kullanacağız!
Ç.BAL:
18 Mart -2017
Boyut atlamanın ve hiper uzaya geçmenin anahtarı şu dizelerde saklı...
“hiçbir şey bizim evrenimizde ışık hızını geçemez.” Hiçbir mekanik hareket,
hiç bir atomaltı parçacık hareketi ışık hızını geçemez. Işık bile kendisini
yaratan koşulların tutsağıdır. Uzay gemimizi bu şekilde hızlandıracak bir
kinetik enerji hareketi yok! Tüm koşulları zorlasak dahi en fazla
ulaşacağımız hız ışık hızıdır. Herşey aslında daha derinde ışık hızında
koşan minik parçacık akımlarının bir bileşimidir. Yani tüm evrenimiz aslında
hiç durmadan ışık hızında koşan minik fotonlardan oluşmuştur.
Rüzgar hangi hızda koşarsa, rüzgara katılan bulutlarda o hızda koşar
gökyüzünde. Bulut burada maddesel uzay gemimizi temsil eder.. rüzgarda
enerjiyi! Bizi ışık hızında götürecek rüzgar yerçekimsel dalgalar olacaktır.
Uzay gemimizi sadece yerçekimsel dalgalar ışık hızında peşinden
sürükleyebilir.
Buna uzay gemimizi yerçekimi dalgaları üstüne bindirmek ve uzayda bir dalga
üstünde sörf yapmak diyebiliriz.Wormhole ve warpdrive teknolojilerin
pratikteki karşılığı yerçekimi dalgalarını kullanabilmekle ilgilidir. Işık
hızını aşmanın yolu kuantum elektrodinamiği kuramında derinleşmekle
bulunabilir. Elektrik ve manyetik alanın vektörel hızının ışık hızı olduğunu
biliyoruz. Limiti olan bir büyüklük! Ama elektromanyetik alanın amplitüt
(genlik/şiddet) potansiyelin evrenimiz içinde bir büyüklük limiti yok! En
düşük yoğunluktan bahsedilebilsede en yüksek yoğunluk noktasında bir
kısıtlama teorik olarak yok. Bizler ışık hızına karşılılık gelen bir
potansiyel değer yaratıp bu potansiyelin üstüne temsili bir sapan lastiğinin
(elektronik devre kapasitörü) üst gerilim değeri cinsinden çıkarak bu
potansiyeli ani bir akım boşalımı/çakımı ile kinetik bir enerjiye
dönüştürdüğümüzde bu kinetik enerjiye dönüşmüş/salınmış potansiyel alan
etkisindeki bir elektron ışık hızının üstüne sıçramaya zorlanacaktır. Bu bir
atomun alt yörüngesindeki elektronun dışardan enerji alıp üst yörüngelere
sıçramasına benzetilebilir.
Boyutlar arasında geçişte ilkesel olarak buna benzer bir analoji ile
gerçekleşir. Uzay gemisi içindeki kondansatörlerin kısa aralıklarla (çekip
bırakılan sapan lastiği) dolup boşalması ile uzay gemisi bir krikonun
birbiri ardına geçen dişlileri gibi üst boyutlara doğru tırmanacaktır. Buna
boyutlar arasında frekanssal bir yürüyüş (yükseliş/tırmanışta) diyebiliriz.
Bir elektron elektrik ve manyetik alanlar içinde skaler alan potansiyeli
altında ışıktan hızlı harekete zorlanabilir.. Einstein ın özel görecelikteki
ışık hızında kütle sonsuz olur argümanına/önermesine katılmıyorum. Zaman
genişlemesi hızla birlikte belirli bir limit değerlere gelir.. bir noktadan
sonra zaman genişlemesi ışık hızının aşıldığı noktada üst uzaya ait zaman
bandı içine geçişle devam eder... böylece değişen zaman boyutu ile ona
eşilik eden üst bir uzay bandı içerisine kütlesel bir geçiş gerçekleşir..
kütle burada sıfırlanır diğer boyuta transfer olur.. matematikte buna eksi
uzaylara, negatif kütleye geçiş adı verilebilir.. aslında negatif kütle,
yada sıfır kütle diye bir şey yoktur.. negatif(eksi) tanımı boyut farklarını
bize gösteren matematiksel göstergelerdir.. boyutlar arası geçiş gökkuşağı
tayfındaki renk geçişleri gibidir.. ışığın bizim boyutumuzu ifade eden dalga
boyunu değiştirmekle bir boyuttan diğerine geçilir..
Bir nevi sapan lastiği ve sapanı oluşturan minik ışık fotonlarını
düşünelim.. bu işlem sapan lastiğinin gerilimini kullanarak minik bir fotonu
ışık hızından daha hızlı fırlatmaya benziyor... tabi bu sadece bir
benzetme... bu tarz bir elektiriki gelirimle bir elektron parçacığını
fotonlardan daha hızlı bir hız düzlemine fırlatabiliriz. Zira ışığı yine
ışıkla ışıktan hızlı itemeyiz.. bu bir fotonun bir fotonu ittirmesine
benzerki sonuç yine ışık hızı olur... ama bir elektronun elektrik alan
içindeki devinimi için farklı durumlar söz konusu olabilir.
Karşıt yerçekimi (antigravity) alanı diye bir alan yoktur. Evrende sadece
kütleçekimi (yerçekimi) vardır. Bu yüzden mevcut teknolojiye rağmen karşıt
yerçekimi ile çalışan uçan arabalar, uzay gemileri, uçan şehirler, uçan
kaykaylar yapamıyoruz. Evrende karşıt yerçekimi alanı üretmek diye bir şey
yok. Peki karşıt yerçekiminden ne anlamamız lazım yada karşıt yerçekimi
fenomeni üretmekten ne anlamamız lazım diyelim. Yerçekimini alt etmenin
(yenmenin ) tek yolu yine yerçekimi alanını yapay olarak üretmek ve bu alanı
dünyanın bizi kendine çeken yerçekimine (kütle çekimi ) karşı kullanmakla
mümkündür. Dünya kendi yerçekimi ile bizi kendine çeken bir kuvvet alanı
oluşturuyor bizde bu alanın aynısını yerçekimi alanı üreteçleri ile üretip
bizi dünyanın kütlesinin bizi çektiği yönün tersi yönde bir çekim yaratarak
dünyanın dışına doğru kendimizi çeken /iten (yükselten) bir oluşuma
geçeceğiz.Demekki izlememiz gereken yol bir anti yerçekimi alanı arayışından
ziyade bir yerçekimi alanı dalgası üreten yerçekimi üreteçleri üstünde
düşünmek olmalıdır. Bu sene içinde dünya insanlığına bu yıldız gemilerini
nasıl inşa edeceklerine dair insanlığa açık bir kitap (bir mektup) bırakmayı
düşünüyorum. Dünyadan özgürleşmek insanlığın kaderidir. Dünya gezegenimiz
insanlığın daimi evi değil geçici olarak kaldığı bir konaklama yeridir.
Aslında akademi koridorlarında dolaşan bilim insanları şuradaki söylediğim
cümlelerden ilham alabilecek zeka (farkındalık anlamında) kapasitesine sahip
olsalardı dünya ayağa kalkar toplantı ve görüşme trafiği yaşanırdı....
aslında işin özünde yerçekimi kuvveti (yerçekimsel alan) üretilmez. O zaten
var.. bizim yapacağımız cihaz sadece elektromanyetik alanlarla (güç alanı)
uzay/zaman kumaşına hafifçe dokunup ona şekil verecek... işin espirisi
burada.. bizim ayreten bir yerçekimi dalgası üretmemiz sözkonusu değil... o
zaten çevremizde ve bizi içine alıp sarıyor.. tüm uzay bir yerçekimi alanını
ifade eder... o sadece manipüle edilmeyi bekliyor!!!! Yerçekimi kuvveti yada
dalgası denen şey manipüle edilmeyi bekleyen uzay/zaman dokumasıdır.
(Bozkurt Göbeloğlu: ..bu dediklerin kütleçekim hakkında kuantum alanında
henüz zerre bilgi sahibi olmayan bizler için tamamen muallak şeyler. Kütle
çekim, bir nesnenin kütlesi nedeniyle uzayı bükmesinden, nesnelerin de o
bükülmüş alanda o cisme doğru kaymasından oluşur kabaca tariflersek. Yani
şimdiki bilgimizle bildiğimiz şey bu. Kuantum alanında nasıl çalıştığı
hakkında en küçük bir fikrimiz yok. Graviton diye bir şey uydurmuşuz, o da
tamamen atmasyon bir şey. Ne gören var, ne bilen. Dolayısıyla yer çekimine
dair tek bildiğimiz şey onun eğik uzay alanları yaratması. Bu yüzden ters
güçte bir kütle sahibi olmadan bir nesnenin kütle çekimini yenemezsin. Benim
aklıma gelen tek şey kütlemizi sıfırlamak. Bu da ancak higgs bozonunun bizim
atomlarımızla etkileşmesini önleyerek olabilir. Eğer bu keşfedilirse ışık
hızı bile aşılabilir zira ışık hızı bariyeri de kütleyle ilgili.)
Aslında tam olarak kütleyi sıfırlama denen şey ortadaki cismin boyutsal bir
değişime maruz kalması demektir.. uzay aracımız yavaşca görünmez olurken
aslında bir taraftan bizim boyutumuzdan dışarı çıkmakta diğer taraftan ise
öbür boyutta varlık kazanmaktadır.Buna boyutlar arasında yerdeğiştirme
diyebiliriz. Buna buradaki yogunluğunu karşı taraftaki boyuta trenasfer etme
işlemi diyebiliriz. Fakat fiziksel gözlerle olayı anlık bir ışık parlaması
ve kayboluş şeklinde gözlemleriz. Bazı gözlemlerdede araç ışık hızında
zıpladığında sanki yokolmuş diğer tarafa sağa- sola aniden geçmiş gibi
algılanır. Gravitation parçacıkları fikri tamamen saçma bir şey... bilimsel
çalışmalara saygısızlık olmaması için saçma demeyelim ama tutarlı değil
diyelim. Diyorlarki ışığı foton tanecikleri akımı olarak görürsek yerçekimi
dalgalarınıda gravition parçacıkları değiş tokuşu olarak görebiliriz
diyorlar. Higgs parçacığı ise parçacıklara kütle kazandıran bir kuant olarak
görülüyor. Higgs parçacığıda saçma yada ona tutarlı bir kuram değil diyelim.
Higgs bulundu falan densede sadece parçacık bulutu içinde tahmini gözlemsel
bir yorum var ortada. Higgs'in kendisi yok! Aslında higs bozonu (alan
parçacığı) yada foton, gravition denen bir şey yok! Alanların kuantum yorumu
gerçekçi değil. Alanlar kuantize edilemezler. Öncelikle bilim dünyasının bu
gerçeği kavraması lazım. Ama ölçüm ve oranlama için alanları ifade eden
enerjiye bir değer, birim verilmesi gerekir... hani bir denizdeki suyu ölçü
ile alıp başka bir yere boşaltırken bir hesap işlemi yapmak için bir
oranlama kullanmak gerekir.. işte ışığın fotonları ve enerji birimi
kavramlarıda buradan çıkan sembolik ölçüm birimleridirler. Metre gibi, kilo,
hacim ölçüsü gibi..Bunları biz kendi zihnimizde bir yere oturtmak için
bölüyoruz! Aslında ışık denen şey bölünemez bir güç alanıdır.. yerçekimi
alanı içinde bunu söyleyebiliriz. Fakat yerçekimi alanı elektormanyetik alan
gibi bir güç alanı değildir. Daha çok bir sonuçtur, bir kuvvet alanıdır.
Uzay/zamanın bükülmesinin sonucu ortaya çıkan bir etki alanıdır. Uzay/zaman
alanı aslında elektromanyetik bir güç alanı levhasıdır. Yerçekimi bu
levhadaki bir form ve boyut bozulmasıdır. Yani yerçekimi elektrik alan gibi
manyetik alan gibi kendi başına olan üçüncü bir güç alanı değildir.
Yerçekiminin varlığı elektrik ve manyetik alanlara bağlıdır.Kütle denen
şeyde elektriksel (elektromanyetik) bir mahiyete sahiptir ve bu mahiyet
uzay/zamanın kendisi ile doğrudan ilişkilidir hatta doğrudan uzay/zaman
levhasının kendisini ifade eder.Kısaca şunu söyleyeyim herşey ışıkla ilgili!
Çözüm ışığın mahiyeti dahilindedir. zaman, uzay ve kütle ışık enerjisinin
yapısında birleşirler. Yerçekimi, madde parçacıkları, zaman, uzay, kütle,
enerji denen şeyler ışığın farklı görünüşleridir. Işığın değişik dans
figürlerine biz kütle diyoruz, uzay diyoruz, zaman diyoruz, yerçekimi
diyoruz. Hatta dahada ileri gidersek BİLİNÇ diyoruz noktasınada geliriz.
Kütle uzay/zamanla ilişkilidir. Uzay/zaman boyutu ile oynarsak kütle ilede
oynamış oluruz... bu anlamda ışık hızı bariyeri ortadan kalkar...
Nokta, hareketle çizgiyi; Çizgi, hareketle yüzeyi;
Yüzey hareketle cismi(küp); Cisim, hareketle zamanı (hypercube) meydana
getirir.




Zaman noktası (x,y,z uzayı), zaman çizgisi.
Uzay noktaları hareketle(frekans/titreşim) dördüncü boyutta yanyana gelerek
zaman noktalarını (zaman çizgisini/zaman frekans bandı) oluşturur.Her bir
holografik zaman noktası holografik bir uzay noktasını temsil eder.
Nokta bizim üç boyutlu(X,Y,Z koordinatları) sonsuz
uzayımızı temsil eder. Nokta benzetmesinde(analoji) geçmiş ve geleceğe
hareket bir hiperuzay ( 1. boyut /çizgi) içinde hareketi gerektirir.
Noktadan çıkmak ve çizgisel boyuta geçmek ne anlama gelir? Bu anlaşıldığında
ışıktan hızlı mekan yolculuğu ve zaman yolculuğu fiziği anlaşılabilir.
Noktanın çizgiye, çizginin, yüzeye evrilmesi/hareketi noktayı ifade eden
uzay/zaman sürekliliğinin (bir AN) genişlemesi anlamına gelir. Bir nokta ile
temsil edilen zaman ve uzay genişledikçe üst boyutlara doğru yükselme
gerçekleşir. Tüm uzay bir ışık noktasıdır. Bi,z bu noktayı bir uzay alanı,
hacmi yada bir uzay noktası olarak görebiliriz.
0 boyutlu noktadan, 2 boyutlu daireye, ve daireden üç boyutlu küreye geçişi
uzay gemimizin zamanda hareketini tanımlamak için model olarak
kullanabiliriz. Dördüncü boyuta geçtiğimizde bizim geçmiş ve geleceğimizdeki
uzay noktaları dört boyutlu bir gökyüzündeki yıldız konumlarına dönüşür.
Dört boyutlu bir gökyüzüne bakmak aynı anda şimdi, geçmiş ve gelecek zaman
noktalarını temsil eden ışık noktalarına bakmak gibidir. Bu dört boyutlu
hayali modellemeyi bilgisayar simülasyonları ile yapmak ve uzay gemimizi bu
hesaplamalara göre dördüncü boyut uzayında hareket ettirerek kendi uzay ve
zamanımız içinde istenilen noktaya hareket etmek mümkündür.Bu sanki iki
boyutlu bir varlığın uzay gemisi ile üçüncü boyuta geçerek artık üç boyutlu
hacim ayarlamasına göre gecenin içinde beliren bir şehrin ışıklı görüntüsü
içinde bir hedef belirlemesi yaparak 2.boyutlu uzayının geçmiş ve
geleceğindeki noktalara tekabül eden bir üçüncü boyut noktasına doğru
hareket etmesine benzer.Bunu kendi boyutsal gerçekliğimize uyarladığımızda
bu dört boyutlu uzaydaki gökcisimleri konumları bizim geçmişimizde yada
geleceğimizde bir uzay noktasını temsil edebilirler.Hiperuzaydaki haritada
oranın bir ayına, bir gezegenine denk gelen konumlarına gitmek bizim
uzayımızda gelecekte yada geçmişte yer alan bu andan ve bu noktadan
kilometrelerce uzakta bir noktaya tekabül edebilir.
Zamanda atlayış yapmak bu hesaplara göre düşünüldüğünde uzaydada büyük
mesafeleri atlamak anlamına gelecektir. Çünkü zaman değiştiğinde uzaydaki
tüm içerikte, konumlarda değişiyor.Çünkü herşey, yıldızlar, galaksiler,
gezegenler uzay içinde bir birlerine göre devasa hareketler ve konum
değişiklikleri yapmaktalar.Buna göre bir zaman makinesi kavramını bodrum
katında mekanik dişlileri olan dönmedolap benzeri bir makine olarak düşünmek
hata olur.
Eğer bodrum kartında gizlice inşa edilebilecek ebatlarda bir zaman makinesi
düşünüyorsak bu makinenin devasa enerjileri kendi küçük kabı
içinde/dahilinde üretebilen ve uzay/zamanı eğip bükebilecek enerjileri kendi
bünyesinde meydana getirebilen ve yıldızlar arasında ışıktan hızlı
gidebilecek bir mekanizmaya sahip olması lazım. Bu araç bugün kullandığımız
hiçbir araca benzemeyecektir.
Uzayda gidebilen roketlerimizin hareket prensiplerinin dışında bir hareket
prensibine ihtiyacımız var. Buna en yakın örnek yerçekimi dalgalarının
hareketi gösterilebilir. Kendi yerçekimi dalgasını üretip uzayı
dalgalandırarak (uzayın geometrisini bozarak) bu dalganın üstüne kendisini
bindirip ışık dalgası gibi bir hıza bir anda çıkabilen bir araçtan
bahsediyoruz. Saniyeler içinde ışık hızına yükselebilen bir sevk
mekanizmasından bahsediyoruz.
Bir nokta evrenini kendi x,y,z boyutlarımıza sahip bir evren olarak
düşünebiliriz. Nokta boyutu temsilde bizim evrenimizi sembolize edebilir.
Nokta hareketle çizgiyi yani zaman eksenini meydana getirir dedik.Kendi
zaman noktamızdan başka bir zaman noktasına sıçramak için öncelikle kendi
noktamızın boyutsal eksenlerinden dışarı bir hiperuzaya çıkmamız lazım.Bunun
anlamı ışık hızını aşmaktır. Işığın maksimum frekans tavan değerine tekabül
eden frekans değerinin üstüne çıktığımızda kendi uzay noktamızı temsil eden
x,y,z koordinat çatısı ile temsil eden evrenimizin dışına yani bir t (zaman)
koordinatları ile ifade edilen bir dörcüncü boyut evrenine geçmiş oluyoruz.
Temsilde buna çizgi boyutuna geçmek diyebiliriz.Böylece kendi zamanımız
içerisinde ileri ve geri hareket etme özgürlüğünede kavuşabiliriz. Kendi en
yakın bir önceki ve bir sonraki zaman boyutumuz(noktamız) içerisine geçişi
düşündüğümüzde bu hiper uzayda kendi uzayımızın metriği içinde sıfır zamanlı
bir harket anlamına gelir. Bizim uzayımızda en küçük zaman dilimimizde
ışığın birim hareketinin iki katı bir hıza erişmiş oluruz.Bu durumda
geçmişte ve gelecekte bir uzay noktamızada hareket edebilme imkanımız
oluşmuş olur.
İki boyutlu bir evrende iki boyutlu bir araç kendi evreninin ışık hızı
limitini aşarsa bir hiper uzayı ifade eden bizim üç boyutlu
evrenimiz/düzlemimiz içerisinde geçmiş olur. Artık üçüncü boyuta geçen bu
iki boyutlu gemi artık üç boyut formu kazanmış olur. Ve artık karşısında iki
boyutlu bir uzay sathı değil üç boyutlu bir uzaysal koordinatlar düzlemi
(hacim) belirir. Artık iki boyut evrenine ait geminin x ve y uzaysal
koordinat düzlemlerine kendi zaman boyutlarını ifade eden bir z koordinat
dizgeside eklenmiş olur. Artık iki boyutlu gemidekiler üçüncü boyut uzayının
yıldızlarını, galaksilerini görmeye başlarlar.
Zaman ve uzay daireseldir.Sonsuz bir uzayda bir
merkezden bahsedemeyeceğimiz gibi sonsuz bir zaman dairesindede bir
başlangıç ve sondan bahsedemeyiz.. sonsuz bir iç içelik şeklinde filim
şeridi sonsuzda bükülür ve bitişir. Bu buluşma noktası olan ''sonsuz'' bu
bitişme noktası tanrının zihni gibi düşünülebilir. Sonsuz uzay bir nokta
olduğu gibi sonsuz zamanda bir noktadır. Aslında olan şey aynı noktanın
bizim tarafımızdan bölünmüş şekilde algılanmasıdır.Olan birdir! Aslında
uzay noktası bir silindirin dairesel
yüzeyini/kesitini temsil edebilir.Bir örnekle izah edelim.. bir kalem ucuna
karşıdan bakmak ve uzay bir nokta demek gibidir bu. Zaman kavramına ulaşmak
için zihnimizi hafifçe sağa, sola doğru hareket ettirdiğimizde kalemin
uzunluğu yani zaman boyutu algı sahamıza girer. Noktanın hareketle çizgiyi
oluşturması gibi düşünebiliriz bunu. Şimdi bu kalemi alıp eğip bükerek
uçlarını birleştirirsek uzayda , zamanda bir torus şeklini alarak tek bir
dairesel noktaya dönüşür. Noktanın türlü halleri diyebiliriz buna! İşte bu
sonsuzluktur. Bu noktada zamanda birdir, uzayda! Nasılki sonsuz bir küre
yüzeyinde yaşayan iki boyutlu canlıların evrenin merkezini aramaları
mantıksal değilse bir dörcüncü boyut kavramı ile temsil edilebilecek zaman
çizgisindede bir merkez ve başlangıç yada bitiş noktası aramak mantıksal
değildir. Buna sanki sonsuz büyüklüğün ve sonsuz küçüklüğün iç içe aynı
noktada bir araya gelmesi diyebiliriz. Önce ve sonra kavramı bizim zihnimize
göre olan bir şey! Geçmiş, şimdi, gelecek tek bir sonsuz şimdi içinde bir
arada iç içedir. Sonsuz zamanda geri giderek başlangıca ulaşamayacağımız
gibi sonsuz zamanda ileri giderekte sona ulaşamayız...! son ve başlangıç şu
anda şimdinin içinde bitişerek bir torusu meydana getirir. Geçmiş ve
geleceğin bitişme noktası aslında şu andır! Sonsuz geçmişte ve gelecekte bir
bitişme noktası yoktur. Sonsuz geçmiş şu anla bitişir, sonsuz gelecek şu
anla bitişir ve sonsuzluk şu anda bir sonsuz noktaya bürünerek döngüsünü
tamamlar. Tüm anlar tek bir şu an içinde kucaklaşırlar!

NOKTA, elektromanyetik en kısa dalga boyuna
karşılık gelen uzay/zaman kesitidir. Işık hızı frekanslarına tekabül eden
titreşim hızını yükseltmeye çalıştığımızda artık titreşim hızı yükselmez!
Işığın zaman ve uzay süreklisinin(zaman kuantumu) genişliği büyür!
Nokta boyutu dahilinde aslında hareket sıfırdır! Işık hızı
frekanslarında dalganın periyodu ile (bir saykılın oluşması için geçen süre)
zamanın en küçük kesitine karşılık gelir. Bu titreşim hızında uzay/zamanın
devirsel titreşim frekansına ulaşırız. Bu titreşim düzeyinde ışık dalgası
bir gravitik dalga gibi davranır. Bu devirsel titreşim düzeyinde dalga boyu
aralığı sıfırla temsil edilebilecek noktasal bir aralığa
karşılık gelir. Bu aralık şimdiki zamanı temsil eden uzaysal filim
karesinin dördüncü boyut içerisindeki devirsel değişim hızına karşılık
gelir. Bu bir saniyede 12,3x10^22 tane filim karesine karşılık gelir.
Bu en kısa zaman dilimi olarak ifade edilebilir.
Herhangi bir boyutu daha yüksek bir boyut içinde
eğebiliriz. Ya iki uzay noktasını daha üst bir uzay boyutu içerisinde
bükerek bitiştirmek mümkün olabilir. Yerçekimi zamanın kendi üç boyutlu
uzamı içinde esnemesinin sonucu meydana gelen bir uzay
kıvrılması/eğrilmesidir.Zamanın kendi içindeki bir faz farkından (zaman
esnemesi) doğar.Bu etki bir üst uzayda (dörcüncü boyut) üç boyutlu
uzayımızın bükülmesi algısını meydana getirir. Boyut yada geometri
kavramları bir fotonun elektrik ve manyetik alanları içinde
somutluk/fiziksellik kazanır. Uzayın eğrilmesi kavramıda ışığa dair temel
titreşim oktavında meydana gelen değişmelere ve faz/düzey farklarına
karşılık gelir. Yerçekimi zamanın kendi içindeki farklılaşması anomalisinden
doğar. Zamanın kendi içindeki harmonik yapması(esnemesi) uzayın eğrilmesine
karşılık gelir.Bunu biz üçüncü boyutun dördüncü boyutlu içerisinde
kavislenmesi şeklinde bir anoloji(temsil) ile izah edebiliriz.
Yerçekimsel uzay/zaman eğrilikleri başka
uzay/zaman noktalarına geçit veren tüneller değildirler. Fakat yerçekiminin
bu uzaysal eğrilme kavramı boyut ve zaman konularını anlamak açısından
bize yardımcı olabilirler. Tüm evren tek bir foton noktası olarak
görülebilir. Evren devasa bir üç boyutlu holografik bir alandır. Işık, bu
evrenin yapıldığı kumaştır. Bu kumaşın(uzay/zamanın) eğrilmesini ışık
frekansları ve titreşimi ile izah edebiliriz. UFO ların boyutlara,
yerçekimine, uzaya ve zamana etki etmeleride bu yabancı uzay araçları
dahilindeki radyasyon alanları sayesinde mümkün olmaktadır. Bir
parçacık uzay ve zaman alanından kopuk ayrık bir birim değildir. Bir
parçacık örümcek ağını temsil eden uzay/zaman alanında ağın iplikciklerinin
yerçekimsel kavislenme ile birbirine dolandığı bir ağ noktasıdır. Bu anlamda
bir parçacık daima uzay ve zamanla ilişkilidir. Parçacığın kütlesinin
artması çevresindeki uzay/zaman çizgilerinin kavisinide değiştirir. Eğer
elektronları ışık hızında hareket ettirirsek elektronun yayımladığı
elektromanyetik alanı kütleçekimsel alan ile birleşir. Elektromanyetik alan
bir gravitik dalgaya dönüşür. Artık elektromanyetik alan bir gravitik
dalga alanı gibi davranır.
[ 8 Nisan 2017:
... hayalimde elime ölçü aletleri alıp ikinci boyut
varlıklarının yaşadığı alemlere zihinsel olarak inmeye çalıştım sonra dört
boyutlu bir dünyadaki resim sergisine gitmeye çalıştım. Hayalimde
galaksiler, dünyalar, orada yaşayan insanlar simüle edip konuyu irdelemeye
çalıştım.. öncelikle tüm boyutlarda ışık hızının aynı değerde ölçüldüğünü
farkettim. Fakat bu hızları diğer boyutlardaki ışık hızları ile
karşılaştırdığımızda arada farklar olduğunu gördüm. Bu farktan dolayı boyut
farkları meydana geldiğini tespit ettim. Işığın tüm özelliklerinin aynı
bizim üçüncü boyuttaki dünyamızla eşleştiğini farkettim. Dördüncü boyuta
yükseldiğimdede orada ışığın özelliklerinin bizim boyutumuzdaki özellikleri
ile aynı olduğunu farkettim. Dört boyutlu resim sergisinde gezinirken şeklin
boyutundan bahdebileceğimizi ama rengin boyutunun olmadığı farkettim. Yani
üç boyutlu nesneler çarpıştıklarında bir ses duyarız.. sesin temelde bir
boyutu olmayışı gibi renginde bir boyutu yoktur. yani dört boyutlu kırmızı
bir gülün kırmızılık açısından tüm boyutlarda aynı rengi yansıtabileceğini
farkettim. Renkler zihnimize ait bir filitreleme ile ortaya çıkmaktadır.
Beynin ve zihnin aynasında olan bir durum. Sonuca gelirsek bu zihinsel
simülasyonlarımdan anladığım şey şu.. bizim üç boyut algımız içinde
bulunduğumuz boyuta ait bir özellik değil.. yani aslında bizler üçüncü
boyutta değiliz.. Bu sırrı belkide dünyada ilk kez insanlığa açıklayan ilk
kişi olabileceğimi düşünüyorum.. boyutlar sonsuz ama bizim bu sonsuz skalada
hangi aralıkta olduğumuzu bilmenin imkansız olduğunu farkettim... bu sanki
sonsuz zaman çizgisinde hangi zaman noktasındayız sorusunu sormakla
eşdeğer... ne demek istiyorum... demek istediğim şey bizim üçüncü boyut
algımız fiziksel beynimize eşlik eden zihnimizin bir kurgusu!!! Eğer
zihnimizi biraz değiştirebilseydik, algı filitrelerimizi önümüzden çekseydik
hakikat boyutsuz bir noktaya bürünürdü.. yani sonsuz boyutu olduğu gibi
görürdük sonsuz haliyle.. yani fiziksel gerçekliğimizi tayin eden
boyutumuzla zihnimizin algısı arasında bir bağlantı var!! Alt boyut ve üst
boyutlar kavramını biz mevcut boyutumuzu referans alarak
etiketliyoruz(tanımlıyoruz). Sonsuzluktaki boyutlarda yer alan bazı boyut
varlıklarının boyut skalası haritaları içinde bizim yer aldığımız yer
aldığımız boyut 4.5.6.7..... neredeyse sonsuzuncu boyut gibi bir yerde yer
alıyor. Yine bazı varlıkların boyut haritalarında bizim boyutumuz sanki eksi
sonsuzlarda yer alan bir boyut... boyutlarda aslında aşağı ve yukarı kavramı
gözlemcinin algısı ile alakalı bir şey! Bu ne demek oluyor? Bu üç boyut
algısının evrensel bir algı sistemi olduğunu gösteriyor... ve kullandığımız
matematiksel nokta, çizgi, yüzey, cisim kavramlarının sonsuzluğa ait ortak
kavramlar olduğunu gösteriyor.. ben hayalimde dördüncü boyuttaki resim
sergisine gittiğimde bu serginin üç boyutlu algı ölçüleri içinde dünyadaki
bir resim sergisinden farklı olmadığını gördüm.
Dördüncü boyuta yükseldiğimde ben dört boyutlu geometriler aradım oysaki tüm
dördüncü boyut dünyasını üç boyut fiziği şeklinde algılıyordum.. dörcündü
boyuttaki matematikçilerde kendi boyutlarını tanımlamak için nokta, çizgi,
yüzey, cisim argümanları ile benzer zaman ve uzay şablonlarını
kullandıklarını farkettim.. yani 100. boyuta yükseldiğimizde bir 100.
boyuttaki bir küpe ait 100 tane boyut saymayacağız!! Hangi boyuta gidersek
gidelim hep üç boyut analojisine göre bir ölçüm yapacağız. Işığın hızını hep
ışık hızı olarak ölçeceğiz. Tüm bu bilgilerin pratikte bizim uygarlığımıza
ne katkısı olur...!?? İnanılmaz çok büyük katkıları olur! Öncelikle
boyutlara dair bu bilgi zamanda yolculuğu, ışıktan hızlı yolculuğu daha iyi
anlamamızı sağlayacaktır. Bu bilgiler bir gerçeği daha ortaya çıkartıyor..
eğer teknolojik olarak gereken çalışmaları yaparsak sadece kendi boyutumuz
içinde değil başka boyutlardada insan kolonileri kurabiliriz. Başka
boyutların galaksileri, gezegenleri içinde yaşayabiliriz! Ama oralarda
kuracağımız özel enerji alanı fanusları içinde o boyutun varlıkları ile bir
araya gelip sohbetler edebiliriz.
Bu bilgiler bize tüm boyutlarda fiziğin ve kimyanın yasalarının benzer
olduğunu gösteriyor.. sadece kendi evrenimiz içinde değil diğer boyutlardada
fizik yasaları benzer.Fakat burada çok daha sır bilgiler var. Bizim fiziksel
evrenimiz dahilinde kendi fiziksel evrenimizin içinde uzay ve zamanın
kavislenerek baloncuklaşarak başka evrenler oluşturması sözkonusu olabilir..
böyle bir durumdada yine kendi evrenimizin boyutsal sınırları dahilinde
atomları, mekansal şartları bizim evrenimizinkine benzemeyen şartlar
oluşabilir.. antimaddeden ibaret baloncuk evrenler gibi, içinde atomların
olmadığı değişik evrenler gibi... eğer durum böyleyse uzay ve zaman
açısından içinde yaşadığımız evren sınırsız ve sonlu bir evren özelliği
gösterebilir.. sonsuzluk kavramıda baloncuk evrenlerin iç içe geçmiş köpüksü
örgüsü şeklinde bir sonsuzluğa dönüşebilir... böyle bir sonsuzlukta her
baloncuk evren kendi kavisli uzay ve zaman geometrisi gereği sonlu
özellikler taşıyacaktır... böylesi bir durumda her evrenin kendine ait zaman
ve uzay topolojisi sözkonusu olabilir.. gerçekten ilginç.. ]
------------------------------------------------------------------------------
Herşeyden önce ışık hızında gidecek ışık hızını aşacak
ve elektrik, manyetik, gravitik alanların kullanımı ile bu işi yapacak uzay
gemileri tasarımlamayı düşünmeden önce yani bu işi çevremizde gördüğümüz ve
uzay/zamanın dahilinde olan materyalleri kullanarak tasarlamak fikrine
yoğunlaşmadan önce tüm materyallerin uzay ve zamana nasıl hükmedeceklerini
düşünmeden önce fikirleri biraz daha sadeleştirip çevremizdeki gerçekliğin
özeti olan elektronlar ve fotonlar üzerinden konuyu irdeleyerek prensipleri
keşfetmeliyiz. Meseleleri öncelikle en temel düzeyde ele alacak düşünce
deneylerine girişmeliyiz... bunun diğer adı ışınlamayı, zamanda
yolculukları, görünmezlik kavramlarını, güç alanlarını, eğri uzay/zaman
fenomenini, boyut değiştirmeyi, yerçekimi dalgalarını sadece tek bir
kuantumelektrodinamiği teorisi içinde ele alıp bize gerekli olan
açıklamalara ulaşabiliriz. Bunun için tek bir elektronun ve ona eşlik eden
elektromanyetik alanların doğasını ve uzay/zaman alanı ile olan ilişiğini
incelememiz bizi aradığımız tüm cevaplara götürecektir.
En basitinden bir bobindeki güç alanı temelde
elektronların toplu hareket ederek tek bir elektron davranışının
özelliklerini göstermesi gibi düşünülebilir.. bunun en güzel örneği süper
iletkenlerdir.
( electron physics , photon physics, UFO physics)

Öncelikle tek bir elektron dinamiği üstünden
ışık hızını aşma teorisini geliştirmek gerekir. Bu yapılabilirse
süperiletkenlerle kuşatılmış bir uzay gemiside aynı şeyi yapabilir.
Elektromanyetik alanlar toroiadal alanlar şeklinde ortaya çıkar. Bir
mıknatısta, bir bobinde toroiadal güç alanları açığa çıkar.
İvmeli olarak dairesel hareket eden bir elektron toroidal bir güç
alanı oluşturur. Tek bir elektronu bir uzay gemisi olarak hayal edebiliriz.
Sonsuzluk iç içe geçmiş sonsuz sayıda farklı
boyutlardan, yogunluk düzeylerinden ibarettir.Form (geometrik çatı) veya
şekil enerjinin titreşimi ile bağlantılıdır. Tüm boyutlar ‘Bir’. Zaman yok,
yer yok. Tüm boyutlar iç içe geçmiştir. Uzay gemimizin bir yoğunluk
düzeyinden diğerine geçmesi için alan frekanslarını içine geçmek istediği
frekans düzeyine ayarlamak mecburiyetindedir. Uzay gemisinin titreşen
aurasını (elektromanyetik torus/büküm alanı) içine geçilmek istenen boyutun
alan(uzay/zaman) frekansları ile uyumlu hale getirmeliyiz.Elektromanyetik
küre titreşen bir dış kabuk misali gemiyi içine alıp sarmalamalı.
Hepsi biribiri içinde olan ama hepsi farklı hızda titreşen boyutlar.Hepsi
birbirinden farklı hızlarda titreşiyor, dolayısıyla onları göremiyoruz. Üst
boyutlara atlamanın yolu daha hızlı titreşmektir. Uzay gemisi o frekanslara
eriştiğinde boyut atlamış olur.
titreşimler/enerjiler.. titreşim bir kuantum enerji durumuna karşılık gelir.
Bir radyoaktif enerji ile bir boyuttan diğerine geçebiliriz. UFO lar bir
çeşit radyo frekans alanı ile çevrilidir. Temelde yerçekimi dalgası denen
şeyde belirli frekanstaki torus şekilli radyo frekans alanını ifadeler. Bu
bir çeşit mikro dalga alan formu şeklinde tarif edilebilir.
Tam anlamıyla titreşimsel bir hapishanedeyiz. Böylece çoklu boyutlu
okyanustan koparılıyoruz. Geçmiş, şimdi, gelecek ve daha başka boyutlar
kozmosun çok boyutlu odalarından bazılarıdır. Bir boyuttan diğerine geçiş
sadece alan frekanslarını diğer boyut frekansına ayarlamak ve kendimizi
(uzay gemisi güç alanını) oraya/o kata, o boyuta, o frekansa, o manyetik
banda, o radyo frekans alanına uyumlamakla mümkündür.
Güç alanları ile uzay/zamanı manipüle etmek!
Bir havalık nefesten tutun, bir yağmur damlasına, bir dağdan on tonluk
kamyona, hepsi titreşen enerjidir. Mikroskop altında herhangi birşeye bakın,
ne kadar yoğun olursa olsun, ne kadar ‘katı’ görünürse görünsün, onun
titreşen enerji olduğunu görürsünüz. Ne kadar yavaş titreşirse o kadar
‘katı’ görünür, ne kadar hızlı titreşirse o kadar ruhani ve şeffaf olur ve
hızı bizim fiziksel ‘5’ duyumuzun ötesine geçinceye kadar görünür, sonra
kaybolur... Bir bisiklet tekerleğine bir bakın. Yavaş dönüyorsa ‘katı’
görünür, ama hızlı dönüyorsa tekerleğin telleri bulanıklaşır ve artık ‘katı’
görünmez, hatta bisiklet ileri doğru gittiği halde tekerlekler ters yöne
doğru gidiyormuş hissi verirler. Optik illüzyonlar, ‘Büyük İllüzyon’un
sadece küçük birer ifadesidirler. Yıllardan beri yazıyorum;
ışığın hızı, saniyede
186.000 mil, mümkün olan en yüksek hız değil.
Sadece bizim frekans menzilimizin dış limiti.
O hızın üzerinde hareket eden herhangi birşey,
başka bir menzile, başka bir yoğunluğa girer ve biz onu algılayamayız.
İşte UFO’lar ve dünya dışı varlıklar böyle görünüp kaybolurlar, çünkü
frekanslarını değiştirirler. John A.Keel’in belirttiği gibi;
UFO görüldüğü zaman boyutlar arası
materiyalizasyonlardaki renk değişiklikleri, cisimlerin elektromanyetik
spektrumu ‘taradıkları’ şeklinde tanımlanıyor. UFO’lar genellikle morumsu
bir renkte görünüyor, sonra görülebilir ölçeğe gelince kırmızılaşıyor, o
noktada bazen maddesel cisim gibi ‘katı’laşıyorlar.
(Menzil : durak, varış noktası, ulaşılabilen uzaklık, erim, merhale, aralık.
İki konak arasındaki uzaklık. Yolculukta dinlenmek amacıyla durulan yer,
konak: kat, alan, boyut, çıkılan kat, varılan boyut.)

Ç.BAL:
(2017- 27 Şubat)
Evrendeki en zeki bilim adamları ile bir yuvarlak masa toplantısı yapsak
bize tüm bilimi özetleyen zekice bir şeyler söyle deseler.. söyleyeceğim
ifadeler şu şekilde olurdu.. sonsuzluklar yoktur.. herşey Pi sayısı gibi
temel bir ilkenin/değerin sonsuza doğru çoğaltılmış görüntüsünden ibarettir
(kaleydoskop, fraktal). Bununla birlikte evdendeki diğer en önemli pi
faktörü ışık hızının kendisidir. Evrende ve evrenlerde sonsuz hız diye bir
şey yoktur.Hızın tek bir ölçüsü vardır o da 'ışık hızı'dır! Diğer yandan
uzayda ışıktan daha hızlı gitmek diye bir olgu sözkonusu olamaz! Hız ışık
hızıdır ve bu hız temelde evrendeki son hızdır.Fakat ışığın bir yılda
katettiği mesafeyi daha kısa sürelerde almaya/katetmeye yarayacak kestirme
yollardan söz edebiliriz. Bu kestirme yol kavramı farklı uzay/zaman
çatılarını temsil eder. Işığın hızını belirleyen şey zaman ve uzay
çatısıdır. Bu çatının genişletilmesi ışığın titreşimlerinin yükseltilmesine
karşılık gelir. Bu şekilde yükselme sonsuza doğru devam eder. Ama sonsuzluk
dediğimiz şey bir tür katlar şeklinde, çarpanlar şeklinde bir çoğaltımla
mümkün olur/devam eder. Yani titreşimler hızlandıkça zaman ve uzay çatımızın
dışına diğer bir zaman ve uzay çatısı içerisine doğru geçeriz. Titreşim
hızları sonsuz bir frekans spektrumu olarak varolsada bu sonsuza devam ediş
üçüncü boyut formu ile devam etmez.. titreşimler yükseldikçe belirli
seviyelerden sonra form değişir, uzay/zaman çatısı genişler..(nokta
hareketle çizgiyi, çizgi hareketle yüzeyi, yüzey hareketle cismi. cisim
hareketle dörboyutlu küpü.. vs. vs.. devam eder gider.. bu sanki bir noktayı
genişletmek/şişirmek gibi düşünülebilir. ) üçüncü boyut dördüncü boyuta
dönüşür, dörcüncü boyut beşince boyuta dönüşür... ve bu sonsuza kadar devam
eder.. sonsuza kadar devam eder derken titreşimin hızlanması ile birlikte
formunda evrilerek daha yüksek boyutlara dönüşmesi/genişlemesi sözkonusu..
Titreşim sonsuza doğru gidince elimizdeki üçüncü boyut formunu kaybediyor..
dördüncü boyuta geçiyoruz.. ve bu devam edip gidiyor.. ilginç olan her
boyutta ışık hızı yine ışık hızı! Bilim adamları ile dörcüncü boyuttaki bir
gezegende toplanıp ışığın hızını ölçsek yine ışık hızı sabitesini ölçeriz.
Oranın zaman ölçüsüne göre yine oranın bir saniyesinde yaklaşık 300. 000 km
olarak ölçümleriz. Fakat dünyadan marsa gönderdiğimiz bir lazer ışını ışık
hızında marsa yaklaşık 5 dakikada ulaşır. Bu süreyi 1 saniyeye indirmek için
lazer ışınımızın bir tür solucan deliğinden geçip marstaki solucan
deliğinden çıkması lazım. Buna ışığın uzay/zamanda bulunan kestirme bir
yoldan mars'a gitmesi diyebiliriz.
Fakat solucan deliğini/bu geçişi üç boyut içinde bir
bükülme anolojisi(modelleme) ile tanımlasakta bu tanım bizim için yeterince
somut ve net bir tanım değildir. Uzay/zaman bükülmesi kavramı ile farklı
boyutlar kavramını birbiri ile bağlantılandıramıyoruz. İnsan zihni bu alana
girince karanlık bir yere giriyor. Warp drive ve solucan deliği teorileri
ışık hızınını aşmanın bir anahtarı ama ikiside ayrı teoriler değil! Özünde
aynı şeyi tanımlarlar. Bu kavramlar bir araya getirilip ortaya konuyu pratik
bir zemine oturtan bir teknoloji çıkacaktır. Öncelikle dünyadan marsa doğru
yola çıkanın bir lazer ışını değilde ışık hızına ulaşmış bir uzay gemisi
olduğunu düşünelim. Bu gemi ışık hızında gittiği için ışık hızında 5
dakikada mars'a varacaktır. Peki bu süreyi 1 saniyeye indirmek için ne
yapmalıyız..? Geminin önünde bir solucan deliği (uzay/zaman bükülmesi)
yaratıp oradanmı marsa geçeceğiz? Bu solucan deliği kavramı çok afaki bir
kavram. Uzayı nerden deleceğiz bu deliğin sonunun andromeda galaksisinemi
marsın yörüngesinemi açılacağını(bağlanacağını) hangi teknoloji ile
ayarlayacağız! Açılan koridor nereye bağlanacak.. evren sonsuz!
Koridoru(solucan deliğini) kim nasıl yönlendirecek? Bu nasıl ayar
edilecek!..? (Geleceğe dönüş filminde Doktor Brown arabanın içindeki
gideceği zamanı 1955 olarak tuşluyor... ve araba 1985 te kaybolup 1955 te
diğer tarafta ortaya çıkıyor. Bu tuşlama ile enerjiyi nasıl yönlendiriyor ve
ayarlıyorda tam 1955'e bu enerji bir kapı açıyor! O teknolojiyi kurgu
bilimden çıkartıp gerçek hayata nasıl getirebiliriz...? )
Aslında bu ifadeleri düşünen insanların zihninde bir
anlayışı uyandırmak için yazıyorum... tekrar dünyadan yola çıkan ve ışık
hızında marsa doğru giden uzay gemimize geri dönelim. Hepimiz düşünen bilim
adamları olarak kendimizi bir anlığına uzay aracının içinde hayal edelim.
Gemi zaten ışık hızında! Gemimizi ışık hızının üstünde bir hıza çıkarmak
değilde uzay/zamanda kestirme bir yola sokmamız lazım. Aslında solucan
deliği diye bir koridor, tünel fikri gerçekci değil. Aslında çok basit
tabirle uzay/zamanı bükerek diğer boyutlara geçemeyiz. Bükülme kavramı bizi
ışık hızında hareket ettirecek bir yerçekimi dalgası yaratımı aşamasında
kullanılacak bir teknoloji. Bu anlamda warp drive teorisi bir yere kadar
doğruluk arzediyor. Ama bu bükülme fikri bize sonsuz hız sağlamaz. Bir warp(büküm)
teknolojisi bize ışık hızında seyahatin kapısını aralar. NASA daki
yetkililer, dünya bilim adamları buradaki ifadelerimi gerçekten anlasalardı
kesinlikle bu meseleyi çözdüğümü farkederlerdi. Belki birleşmiş milletlerde
bir konferans isteğini iletirlerdi. Ama mevzu anlaşılmadığı için
anlatımlarım pek çok zihinde heyecan uyandırmayacaktır.
Konumuza geri döncek olursak denebilirki
uzayın sonsuzca bükülmesi diye bir kavram yok!
En fazla bu bükülme bizi ışık hızı limitinde uzayda hareket ettirir. Hızlı
hızlı adımlarla uzayın bitiştirile bitiştirile, mesafeleri çekiştire
çekiştire bir uçtan diğerine gitmek gibi bir sürekli hareket etkisi
oluşturmak diyebiliriz buna! (Uzayı masa örtüsü gibi düşünürsek bizden bir
metre ötedeki vazonun yanına doğru örtü üstünde yürümek yerine masa örtüsünü
tutup hafifçe kendimize doğru çekip vazoyu kendimize doğru yaklaştırıyoruz.)
Warp drive fikri bu anlamda kısmen doğru bir teori. Solucan deliği kavramıda
pratikte yok, öyle bir koridor , tünel kavramı yok! Solucan deliğine geçmek
demek aslında bir dördüncü boyuta (üst boyutlara) geçmek demektir. Yani ışık
hızında marsa doğru yol alan gemimizin bir dördüncü boyuta atlayarak o boyut
içinde ışık hızında yoluna devam etmesi lazım!
Dörcüncü boyut içindeki zaman ve uzay çatısına
uyumlanmış gemideki saatlerimizin ekranı içinde saatlerin bir saniyenin tik
takı sürecinde gemimiz dörcüncü boyut içinde 300.000 km mesayi kat ettiğinde
bizim üçüncü boyut uzayımızda bu mesafe milyonlarca kilometreye karşılık
gelecektir!! Yani dördüncü boyut içinde ışık hızı bizim boyutumuzdaki hızına
göre binlerce kat daha hızlı hareket ediyor olacaktır. Boyutlar yükseldikçe
ışığın bir dünya saniyesine göre bizim boyutlarımıza karşılık gelen bir
düzlemde aldığı mesafeler genişleyerek/katlanarak artacaktır. Sonuç olarak
ışık hızında gidebilmek için uzay/zaman bükülmesi kavramını ve yerçekimi
dalgası kavramını kullanacağız. Fizikçi miguel alcubierre'nin warp drive
teorisi bu anlamda bu fikrin öncüsüdür.Ama fikrin (denklemlerin)
düzeltilmesi ve restore edilmesi gerekir. Solucan deliği kavramınıda bir
tünel koridor gibi düşünmemek lazım. Solucan deliği kavramının gerçek
karşılığı üst boyuta geçmek olarak hayal edilmelidir. Diğer adı ile
hiperuzaya (hyperspace) atlamak diyebiliriz buna. Hiper uzaya(üst uzaya)
atlayınca kısa sürelerde mars'a varmak mümkün. Eğer gemimizle bir saniyede
marsa değilde andromeda galaksisine yada daha ötesine gitmek isteseydik
dörcüncü boyuttan sonra beşinci boyut yada altıncı boyut uzaylarını
kullanmamız gerekirdi. Ama andromedaya kısa sürede varmak için üçüncü boyut
ve dörcüncü boyut içindeki boyutsal kademeleri geçmek işimizi görür diye
düşünüyorum. Zaten üst uzaya geçince hemen dörcüncü boyuta geçilmiyor..
çünkü üç boyutlu alemler milyonlarca iç içe alemleri(boyutları) içinde
barındıran bir skala! Dördüncü boyutun frekans eşiğine varmak için
titreşimsel olarak skalanın çok yukarılarına doğru çıkmamız gerekir. Farzı
misal temsili olarak bizim üç boyut evrenimiz 15 milyar titreşimde dersek
dördüncü boyuta varmak için 45 milyarlık bir titreşim düzeyine gemimizin
yükselmesi ve 45 in üstüne çıkması lazım.. 45 in üstünden sonra dördüncü
boyut başlıyor.. (bu geçişler gökkuşağı tayfındaki renkler arası geçişe
benzer) yani aradaki bir sürü alemleri, boyutları geçmemiz lazım... o
alemlerin sayısı gökteki yıldızlardan fazla!!! İç içe titreşim halinde
sonsuz boyutlar aynı hiçlikte koyun koyuna bir aradalar!
25 Şubat 2017
İnsanlık uzayda yolculuk konusunda öncelikle uzay
araçlarını ışık hızında hareket ettirmenin yolunu bulmalıdır. Cisimleri ışık
fotonları gibi hareket ettirmenin bir yolunu bulmalıyız. Buna bir çeşit
dalga hareketi diyebiliriz. Bu hareketi yapacak bir uzay gemisi tasarlarken
karadelik fiziği, yerçekimi dalgaları kavramı geleceğin fizik mühendislerine
çok yardımcı olacak. Yerçekimi hakkındaki bilgilerimiz derinleştikçe bir
uzay aracını ışık hızında hareket ettirmek için bu yerçekimi dalgaları
kavramını kullanmak gündeme gelecek.. geleceğin bilim adamları bu konuyu
gündeme getirip kendi aralarında tartışacaklar. Bugünden meseleye bakarsak
öncelikli sorun yerçekimi nedir sorusudur! Biz insanlar için bu hala bir
gizem! Albert Einstein insanlık tarihini içinde çok özel bir yere sahip bir
deha! Çünkü o yerçekiminin kuantumsal çözümünü sunamasada insanlık tarihi
içinde onu en doğru şekilde tanımlayan bir zeka olmuştur. Yerçekimi bir
uzay/zaman eğrilmesidir! Fakat bu eğrilik kavramından tam olarak ne
anlamamız gerekir? Bu muğlak tabir zamanla yeni bilgilerle desteklenerek,
genişletilerek bilim tarihindeki yerini dahada sağlamlaştıracaktır.
Einstein'ın bu ifadesi/tanımı geleceğin bilim kitaplarında sonsuza kadar yer
alacak! Ama tanımlama ve anlayış gelişecek. Einstein'ın bu tanımı Newton'un
yerçekimini (kütle çekimi) formüllere dökmesi kadar evrensel bir
tanımlamadır.. F=G M1 M2 /(r^2). Işık hızına ulaşmak için çok değişik
yöntemler olsada en akla yakın, bize yakın teknoloji yerçekim dalgalarını
bir araç bünyesinde kullanıp yönlendirerek uzayda ışık hızında bir çekilim
oluşturarak yerçekimsel tünel etkisi ile gemimizi hareket ettirmemiz
sözkonusu olacaktır. Bu gemiyi inşa edebiliriz. Bu gemiyi inşa etmenin
yolunu bildiğimi söyleyebilirim. En azından prensip bazında somut anlamda bu
dalgaları üretmek ve bir gemide kullanmak bağlamında ne yapılması
gerektiğini biliyorum. Prensip olarak bunu nasıl yapacağımı biliyorum ama
beni düşündüren şey ışık hızının ötesine nasıl geçebileceğimiz. Bununda
teorik olarak nasıl olması gerektiğini biliyorum ama henüz bunun pratik
kurgusu üstüne çalışmalarım çok yeni. Fakat kesin olan bir şey varki çözüm
yine üç boyutlu fiziğin dahilinde olmak zorunda çünkü ışık hızının ötesine
geçecek materyallerin hepsi ışık hızında bir titreşime sahip.. biz bu yapıyı
nasıl bir teknoloji oluşturup kendisini aşmasını sağlayabiliriz? Bu sanki
ışık fotonları üstünde bir işlem yaparak ışık fotonlarının ışık hızının
ötesine fırlamasını sağlamak gibi bir şey! (Bununla birlikte fizikte
antiyerçekimi diye bir alan yoktur. Evrenin hiçbir yerinde böyle bir alan
yok! Sadece yerçekimi dalgaları var. Antigravitasyon alanı yada karşıtçekim
alanı kavramı dünya üstünde uzaydaki mikro çekimi taklit etmek şeklinde
olabilir. Yani özel alanlar kullanarak yerçekimini bir cisim çevresinde
bertaraf edebiliriz. Cisim bu özel alan içine girdiğinde havada yüzmeye
başlar. Bu alan için antiyerçekimi alanı diyemeyiz sadece yerçekimini
nötralize eden bir enerji alanı diyebiliriz. ) Bir uzay gemiside kendi
içinde ürettiği yerçekimi dalgasını dünyanın çekiminin tam tersi yönde
odakladığında geminin kendi yerçekimi dalgası alanı uzay gemisini yukarı
doğru kaldırarak havada dengeli bir şekilde salınıp asılı kalmasına sebep
olur. Ne demek istiyorum? Yerçekimine karşıt bir itiş alanı yok!
Kütleçekimde mıknatıs alanları gibi N ve S kutuplar gibi iten ve şeken
kutuplar bulunmaz.Mıknatıslar birbirini itebilir ama dünyayı iten zıt bir
alan üretemeyiz. Kütle itimi diye bir kavram yok! Yerçekimi sadece çeker!
Yerçekimine karşı durmanın tek yolu yine yerçekimi alanının benzeri bir
alanı yerçekimine karşı kullanmak olabilir.
Antigravity Control and Torsion | Einstein's Unified Field Theory and
Newtons Laws of Physics Need an Overhaul
from Zack Covell
German WW-II research was intended to create a powerful propulsion effect by
engineering application of Einstein’s Unified Field Theory (UFT) equations.
Within the 1929 version of the Einstein UFT equations a linkage is found
between the “vector magnetic potential” and Torsion.
Put simply, in the Unified Field Theory the effects of curved space-time (resulting
from a massive body, like the earth) can locally offset by creating Torsion.
Thus electromagnetic interactions are harnessed to induce torsion, which in
turn can then null out gravitation.
This astounding possibility for gravity control is not predicted in either
the special or general relativity theories and appears only in the Unified
Field equations.
Thus, a sort of counteraction to gravity or “antigravity” field would be the
result.”
Type "antigravity" into Google and an outpouring of conspiracy-based
nonsense on the government suppression of antigravity technology usually
popped up onscreen.
I'd never remotely envisaged a day when I'd have to involve myself in such
matters.


Zero Point Energy from the Quantum Vacuum:
the most comprehensive presentation on the
Vacuum energy pervading all space and the practical applications for energy
generation and propulsion...
"Hyperdimensional Torsion
Field Model of Our Universe"
Data on Laws of Vibration/Harmonics, Consciousness, Quantum States, Torsion
Fields and a Unified Model being used by "Black Programs".
Please watch the below video's in the "Mean Time" to get an over all over
view of the concepts that are already mostly "Out There" but supressed by (Or
in some cases FROM) Main Stream Science.
Torsion Field:
Einstein's Metric Torsion Tensor allow a spin-field to twist spacetime.
Structure of the Vacuum,
Torsion Physics and Fractal Geometry.
"What they found was even more
unsettling. A lost ancient knowledge that had been kept hidden from the
world for thousands of years." . . . . .
They had discovered mankinds true potential. . . . . .
They learned that by manipulating positive and negative magnetic fields into
a vortex, they could open a window through the fabric of space. A window to
the very source of creation itself."

Toroidal Vortices
The Rodin coil test: JLN Labs - TEP Project
The Rodin coil test
The Time Energy Pump project
created on 09/25/97 - JLN Labs - last update on 09/25/97
The Time Energy Pump project
created on 09/25/97 - JLN Labs - last update on 09/25/97
Additional comment :
The Rodin coils is a kind of toroid coil, but unlike the toroid coil it is
inductive in the center axis of the coil and give some strange results :
T.E.Bearden has said about this ( "Introduction to Rodin Coil design" 1996 )
:
<< Obviously if you hold all the B-Field inside the coils of the torus, and
then put something else in the center region outside the coils, you can get
some additional potential and field energy there in the center of works. You
can also get similar propagation outside the coil, with effects on distant
objects.
Rodin is apparently going by elementary electricity concepts but augmented
by excellent native intuition. What he really is doing is attempting to
separate the A-potential (i.e., the magnetic vector potential A) from the B-Field,
and utilize the curl-free A-potential as an independent field of nature in
the central "crossover" region. It is know that it is possible, the well
known Aharonov-Bohm effect depends upon precisely this separation...>>
In the Rodin's document about the coil design :
<< A winding pattern for a torus which create Synchronized Electricity. By
winding in this manner, you orient the electrons moving through the windings
and thereby minimize random collision of electrons, as well as heat,
friction and reluctance. The right and left doubling circuits ( beginning
and ending at position 1; and, beginning and ending at position 2) conduct
the flow of electrons in opposite, parallel diagonal directions. The dotted
lines ( beginning and ending on numbers which are multiples of 3 ) represent
the gap spaces, the equal potential major grooves, which separate the
winding. >>
Today, according to my first series of test, I can say that this coil have
some interesting spec :
<< Obviously the center crossover region is active !,...A long ferrite rod
placed through the center of the Rodin style coil change the value of the
inductance....So, the center region in Rodin style coil is quite active...>>
How Does the Rodin Coil Heal
When you see the healing results from applying the Rodin coil, any
explanation about how it works doesn't really matter. However here are my
own speculations about the healing effect from the Rodin coil.
I think the magnetic field of the Rodin coil has little to do with healing.
Toroidal coils, by their very nature, concentrate their magnetic field
inside the toroidal (doughnut) shape. They have very little magnetic field
outside the toroidal shape. That is why they are used in electronics to
minimize any magnetic influence on other parts of the electronic circuit.
On top of that, the magnetic field of the Rodin coil is largely cancelled by
the bifilar winding.
I think that the healing effect is primarily due to an inflow of aether
energy (or life energy) restoring the natural balance or harmony of the
energy body and by extension the physical body.
The bifilar winding of the two coils, although the wires are lying next to
each other in two series and not individually, is cancelling part of the
magnetic field. It has been speculated that the part of the magnetic field
that is cancelled, must have moved its energy to the aetheric level. The
reason for this is the law of conservation of energy, which states that the
total energy of an isolated system cannot change; it is said to be conserved
over time. Energy can be neither created nor destroyed, but can change form.
There are different opinions about where this energy goes. Some say that the
cancelled magnetic field creates scalar waves, others say it creates a
scalar field around the device. It is also possible that an aether vortex is
formed. I suspect that the latter may be the case with the Rodin coil. I
think a higher energy state is created in the aether, in the form of a
rotating torus/vortex, which draws aether energy in and out.
This way, the flow of aether provides the body with more energy. The body is
then able to restore its organs, cells and functions to their natural
healthy state. More energy means more order. Diseased cells have lost their
natural order. When they are given more energy then they can restore their
innate natural order, and they will remove the causes of the disorder:
pollutants, toxins, microbes.
The reason why I think the Rodin coil is producing an aether torus/vortex
lies in an interesting chapter from the book Aethro-kinematics by Steven
Rado. He explains that a slight friction between two opposing movements
creates a local disturbance in the isotropy (=uniformity in all orientations)
of the medium which eventually could evolve into a locally organized,
permanent and autonomous circulatory system of a three-dimensional donut-vortex.
With this in mind, one can imagine that the two bifilar windings of the
Rodin coil (with the current running in opposite direction, and thus
creating opposite magnetic fields), is creating a local disturbance in the
Aether, resulting the formation of an aether torus/donut/vortex. This torus
is rotating and spiraling structure that continuously draws in and expels
aether energy (in a vortex movement, in order to maintain its existence.
The bifilar windings also annihilate each other's magnetic field (for the
most part). Tom Bearden discovered a torsion wave is created when two
opposing electromagnetic fields interfere and cancel out each other’s
electrical and magnetic field components. The result is a longitudinal wave
that vibrates in the same direction in which it travels. Torsion waves
spiral around their axis, but move in straight lines (longitudinal).
It is possible that this rotating and streaming energy structure, when
placed on the physical body, and thus inside the energy body, or aura, or
biofield of the physical body, is having a stimulating healing effect.
If you want to know more about the formation of this aether torus, I have
put an extract of the aforementioned book on this page.
I had a friend come over who is very energy sensitive. I had not told her
anything about the coil. She had never seen it before, nor knew anything
about it. When she was feeling the subtle energy around the coil, she
described the energy around the coil as rotating counterclockwise (as seen
from above). Then she found that it also has a spiraling vortex from the
center upwards and downwards.
The image below is a artistically enhanced image to give you an idea what
she felt, seen from the side of the coil, which is in the middle.
I found this interesting because I had measured the magnetic field of my
Rodin coil a couple weeks before and had come to the same shape of field.
Although the magnetic field is in my opinion static, it mimics the same
shape as the aether field found by my friend.
Dr. Daniel Fry, Bob Lazar, George
Adamski & Prof. Hernandez UFO propulsion
Some additional thoughts on Electrogravitics:

The electromagnetic principle here involves what is
called a vector force. It is well known in electro dynamics that a moving
electron creates a magnectic field. Any magnetic field which is changing in
intensity, will create an electric field which at any given instant, is
equal in amplitude opposite in sign and perpendicular to the magnetic field.
If the two fields become mutually resonant, a vector force will be generated.
Unless the amplitude and the frequency of the resonance is quite high, the
vector field will be very small, and may pass un-noticed. However, the
amplitude of the vector field increases at a greater rate than the two
fields which generate it, and at high resonance levels, becomes very strong.
The vector field, whose direction is perpendicular to each of the other two,
creates an effect similar to, and in fact identical with, a gravitational
field. If the center of the field coincides with a vehicles center of mass,
the only effect will be to increase the inertia, or mass of the craft.
Electrogravsimple If the center of mass does not coincide with the center of
force, the craft will tend to accelerate toward that center. Since the
system which created the field is a part of the craft, it will move with the
craft and will continue constantly to generate a field whose center of
attraction is just ahead of the craft's center of mass. so that the craft
will continue to accelerate as long as the field in generated. To slow or
stop the craft, the controls can be adjusted so that the field is generated
with its center just behind the center of mass, so that negative
acceleration will result.
Which corresponds interestingly enough to two
methods to alter gravity, one involves creating what Keely called an 'artificial
neutral center', the other involved using a band or ring around the object,
when stimulated the ring produced weight loss;
Decker's correlations though there are several which relate, the one I have
in mind being from the claims of Dr. Daniel Fry at White Sands;
"...description of two rings. When dual magnetic fields are produced in
these rings, the interaction will focus between the rings. This focal point
will produce an artificial neutral center towards which the mass will be
attracted by virtue of resonant attraction of the natural neutral center."

Meaning the natural neutral center of the ship will be attracted toward the
artificial neutral center. It works much like a goat harnessed to a wagon...
if you hold out a stick with a carrot hanging from it, the goat will follow
the stick in whatever direction you so choose.
And from an anecdote from Wil Wilson;
…anecdote about a newspaper article with a picture describing a levitation
device that was suppressed. A cylindrical container with a series of
solenoids mounted on the top of the cylinder. Each solenoid is pointed
towards a central focal point. When the solenoids are pulsed at the same
frequency, the combined force creates an artificial neutral center which,
depending on the amplitude of energy flowing into this artificial neutral
center will cause the natural mass neutral center to be attracted to the
artificial neutral center. The mass will thus be pulled in which ever
direction the artificial neutral center is pointed, regardless of direction.


:
Dış flanş: dış kenar, dış kabuk, dış çeper, dış
konstrüksiyon, dış materyal, dış bağlantı. Daire biçimli metal parça. Dış
jant. Dış yaka.

Interior drawing of a UFO.This drawing, first published in the early 50's,
closely matches descriptions by Renfrow and Galli.An electrical engineer
analyzed the draving for the author in My of 1987. He found the presence of
what appears to be a cathode ray tube (CRT) next to a control console to be
unusual.CRT tubes, as such, complete with keyboards, did not exist in 1950.
The antenna at the upper left of the CRT tube appears to be a viable design
for UFH reception.
The circular coils, magnetic pole and flange are suggestibe of a vehicle
whic uses the earth's magnetic field its propulsion.


Bob Lazar UFO Propulsion


The LYA contacts of prof. Hernandez in the 70ths -
Prof. Hernandez'e ait UFO çizimleri.. temaslar sonucunda alınmış bilgiler
doğrultusunda çizilmiş resimler:
One Version of Andromedan Ship Used by LYA


12/26/13 - Another version of "How
to build a UFO"
Gravity or levitation is one thing, directional control is another. The
people within the vehicle feel little effect because they are not affected
by external forces, in a sense, they are part of the craft.
The Power Source - All of these so far are secondary energies. The primary
generators used in these vehicles sort of vary. One is an acid solution
encompassed within a magnetic field saturated with helium nuclei. When gamma
rays are passed through the solution, they excite the helium nuclei
generating electrons which gather on plates like a battery, creating a very
high electric potential.
Another generating system is a wheel within a wheel electrostatic generator.
These counter rotating forces are mounted in the lower portion of the craft
just up under the flange. Their formula for these is when these two counter
rotating forces reach a speed equivalent with the r.p.m. of the planet, and
in direct relation to its mass, then a static charge is forthcoming to the
extent it repelled from the planet.
When George Adamski questioned his contacts why they used electrostatic
generators, they said a static charge can be created at any point in space
with them, which is one of the primary energies of the universe.
At about the second story up on George Van Tassels "integreton", built in
Yucca Valley, CA , by extraterrestrial request and blue prints, is a Dirod
static generator developed by A.D. Moore. Approximately fifty-five feet in
diameter, it creates the energy for a multi-wave oscillator coil utilizing
Tesla and Lakhovshy's principles.
An efficient electrostatic generator can take the place of public service
removing the control and burden on the individual. They are an unlimited
supply of electric potential. They are relatively simple with low
maintenance. Unlike magnetic generators they do not pull down with energy
taken from them, clear up to their full potential.
When capacitors charged by them are discharged through a spark gap, the
energy is transformed from static to dynamic, there by introducing
electromagnetism.
In an ordinary frame house, insulation is put between the studs. Some is
even aluminum, If plate capacitors were put between the studs and charged by
a static generator, the walls of the house would literally become like a
storage tank of electricity relative to these space ships hulls.
One of the early Denver UFO society past presidents, Lloyd Arnold, designed,
built and displayed a table model of a roundhouse with a central staff
relative toward a vehicle of this nature.
Another principle involved in the generating and propulsion system they use
is the atmosphere itself, which has a charge of its own. When the voltage
potential of the vehicle itself reaches a certain point, the air around it
being broken down is ionized (charge and polarized). The negative ionization
is repelled from the surface of the negative charged hull of the craft and
re-observed by the atmosphere. The positive ionization is attracted to the
craft which is then used for the craft energy supply. The entities using
this system say this atmospheric charge supplies more energy than what is
required to run the vehicle. They say atmospheric pressure is one of the
most powerful known forces in nature.
They say that DIA (between two-resistance) magnetic application of static
electricity in a field, will build a wall stronger than the strongest
building materials.
Another understanding of electrostatic ability is worthy of mention. In
nature, the cube is projective, male in gender. The sphere is receptive,
female in gender. If staffs or poles were placed at given areas within the
industrial part of a town or city with square or pointed electrodes at the
top being insulated from earth ground (-) and other poles with spherical
electrodes at the top, but being grounded to earth ground, and with high
voltage applied to the square electrodes, an active electrostatic field is
established: Any particle of matter entering this field will be attracted to
the positive electrode, charged, then repelled and attracted to earth ground.
A very common electrostatic principle, so that when a space ship travels
through the atmosphere, it leaves a purified atmosphere in its wake.
The electromagnetic principle here involves what is called a vector force.
It is well known in electro dynamics that a moving electron creates a
magnectic field.
Any magnetic field which is changing in intensity, will create an electric
field which at any given instant, is equal in amplitude opposite in sign and
perpendicular to the magnetic field. If the two fields become mutually
resonant, a vector force will be generated. Unless the amplitude and the
frequency of the resonance is quite high, the vector field will be very
small, and may pass un-noticed.
However, the amplitude of the vector field increases at a greater rate than
the two fields which generate it, and at high resonance levels, becomes very
strong.
The vector field, whose direction is perpendicular to each of the other two,
creates an effect similar to, and in fact identical with, a gravitational
field. If the center of the field coincides with a vehicles center of mass,
the only effect will be to increase the inertia, or mass of the craft.
If the center of mass does not coincide with the center of force, the craft
will tend to accelerate toward that center.
Since the system which created the field is a part of the craft, it will
move with the craft and will continue constantly to generate a field whose
center of attraction is just ahead of the craft's center of mass. so that
the craft will continue to accelerate as long as the field in generated.
To slow or stop the craft, the controls can be adjusted so that the field is
generated with its center just behind the center of mass, so that negative
acceleration will result.
Dr. Dan Fry also described this as the flight principle from his ufo contact;
From a UFO case history, description of two magnetic coils as rings on the
outside rim of the UFO, one on the top, one on the bottom. When a magnetic
field is produced in each of them, the interaction will focus between the
rings.
A moveable focal point will produce an artificial neutral center towards
which the mass will be attracted by virtue of resonant attraction of the
natural neutral center.
Keely wrote about producing just such an artificial neutral center which
could be amplified enought to attract the natural neutral center to cause
the craft to move in any preferred direction.
Time Travel, Rotating
Superconductors, and His Wheels
An Examination of Technical and Religious Implications (Updated 12/9/2014)
...UFO-like vision (the Merkabah), time travel theory and related technology,
and time travel in the ..... Nick Cook's book, THE HUNT FOR ZERO POINT
serves as a starting point in the discussion in the left column below.
Many television shows (like the old Project U.F.O - Blue Book series) have
asserted that it represents an alien spaceship, who whether to serve God, or
for altruistic (or even their own purposes), interfered in our religious
and/or social development. Cook's book (and some information that I cannot
publish) indicates that from at least the 1940s in Germany, and on, there
have been efforts made to alter space-time. Such efforts could lead to a
time machine, as Cook asserts at page 229. And it is with regard to this
attempt, and the overlap of national symbols with animal faces seen with the
Merkabah, that a rough attempt is made below to link nations exploring such
technology with Ezekiel's vision. After exploring these links, I will offer
more classical religious explanations of Ezekiel's text.
WHEELS WITHIN WHEELS - EZEKIEL AND GRAVTICS. The updated picture of the
Onion Drive (on the right below) was provided by Paul Potter. Note the
torsion field. As will be discussed further below in conjunction with Nick
Cook's book, The Hunt for Zero Point, torsion fields have been associated
with research pertaining to time travel.
GUIDE FOR THE PERPLEXED
The book of Ezekiel is part of the Tenach, and as such, part of my
normally accepted Scripture. But, after teaching science for 30 years, and
after having done some fairly intense UFO research, with one personal UFO
experience on my 10th birthday, and many interviews of people in a position
to know more about the truth than I can safely publish, I find that there
are two important places to start to search for the truth – Nick Cook’s book,
THE HUNT FOR ZERO POINT (first published in 2001),
Sections of THE HUNT FOR ZERO POINT by Nick Cook that pertain to Time Travel
On pages 228-229 Nick Cook (Aviation Editor of Jane’s Defense Weekly until
1991) discusses what was said by a secret source (pseudonym Dr. Dan Markus)
in reference to German experiments at the Wencelas Mine at Ludwigsdorg,
Poland in World War II which was investigated by Cook. The Nazis executed
62 scientists from there at the close of the war.
Markus: I know what they (the Germans) were trying to do… I know what the
Bell was really about.”
Cook: OK, go ahead, I’m listening.
Markus: “They were trying to generate a torsion field.”
Cook: “What is a torsion field?”
Markus: “Laternentrager means ‘lantern holder.’ But it’s the second code
name that’s the giveaway. Chronos. You know what that means, don’t you?”
Cook: “Yes, Dan, I know what it means. What is a torsion field? What does
it do?”
Markus: “If you generate a torsion field
of sufficient magnitude the theory says you can bend the four dimensions of
space around the generator. The more torsion you generate, the more space
you perturb.” He paused momentarily, long enough for me to make the
connection. “When you bend space, you also bend time.”
Chronos. The third experiment in NASA’s BPP (Breakthough Physics
Propulsion) study and the one that Puthoff had predicted would be the first
to yield a result.
Markus: “Now, do you understand what they were trying to do?”
I said nothing. It was Markus who closed the loop.
Markus: “They were trying to build a f*cking time machine.
THE HUTCHISON EFFECT
As the link for John Hutchison indicates, there is a world of
controversy surrounding John Hutchison and the so-called Hutchison Effect.
There are plenty of critiques of Hutchson out there including some on the
previous link that suggest the Hutchison Effect is a hoax, but where the
quest for truth by me got personal for me is with some of the names used in
the first link. Two names in particular pop out - one is Colonel John
Alexander, and the other is Hans Adam II, Prince of Liechtenstein. Both are
close friends of my friend, Commander C. B. Scott Jones, who is a member of
a group known as The Aviary. Scott first contacted me in 2007 after he saw
me on the History Channel Colonel Alexander is also a member of the Aviary,
and according to one writer, Robert J. Durant, in an article entitled Will
the Real Scott Jones Please Stand Up?, Scott "often escorted Prince Hans-Adam
of Liechtenstein, a very wealthy European with a long standing interest in
the paranormal. Durant goes on to cite the personality magazine Special
Report (November 1990-January 1991) which described the Prince as "Heir to
the last segment of the Holy Roman Empire."
At pages 260-261 in Cook’s Zero Point book, he states in 1979 (until
1986) Hutchison first began to levitate objects, and that he went into
partnership with a South African Company, Pharos Technologies, to promote
the Hutchison Effect. Only small amounts of power (400 to 4,000 watts) via
a 110 AC wall socket, could be used to raise weights of up to 100 pounds (various
compositions) up 80 feet from his equipment. Nothing would happen 90% of
the time, but sometimes there were weird erratic results which included
making objects shred, tear apart, evaporate, or transmute (change
composition). The effects were so erratic, that there was an effort made to
sell it to the Pentagon simply as a disruption system.
This is one place where the Aviary becomes involved. Col John B.
Alexander of the U.S. Army’s Intelligence and Security Command (INSCOM)
moved Hutchison’s lab to a large empty warehouse in North Vancouver. Others
involved were from the Los Alamos National Laboratory and the Office of
Naval Intelligence. Alexander provided a molybdenum rod (sag temperature
3,700o C) and the Effects had bent it into an S shape. Further, high-carbon
steel was “shredded at one end and transmuted into lead at the other.” PVC
plastic disappeared, and wood became embedded in the middle of a piece of
aluminum. Many items were levitated, and at one point the lab appeared to
draw electricity from an unknown source (zero point energy or another
dimension?) as the known power was off at the time.
Jack Houck of the McDonnell Douglas aerospace corporation spent two
days evaluating the results, thought them to be real, but due to
psychokinesis. It is at this point in Cook’s account (page 267), that we
read Hutchison is claiming time dilation in his results – “pockets of
altered space-time within the target area, and most extraordinary of all,
the capacity of the Effect to turn metal ingots transparent.” They were
“visible in outline yet totally see-through.”
Boeing partly funded related experiments in the late 1980s, but the Canadian
government confiscated Hutchison’s equipment in 1989, declaring that it was
an environmental hazard – this after pressure from the U.S. As for Col
Alexander, he told Nick Cook of the Effect, “Oh, it's real…the trouble is,
sometimes it works and sometimes, it doesn’t. But four out of five of us
came away believing.”
MECHANICS OF A TIME MACHINE
With respect to the equipment used by John Hutchison, the following
items are listed on page 265 of The Hunt For Zero Point:
1. Large Tesla Coil containing the uranium source, a donut-shaped metal
coil on top
2. Diagonally across the room, on the other side of the target area, a
powerful Van de Graf generator capable of producing a 250,000-volt DC static
charge
3. A 3.5 foot double-ended Tesla coil, known as the “dumbbell”
4. Between the above three items, smaller devices, all connected to
each other by multiple wire and cabling.
5. Tuning capacitors, high-voltage transmission caps, RF coils and a
spark cap that would snap about every 40 seconds sending a large shock wave
through the building.
Cook writes that “in the flickering light of the monitoring screens
members of the team would see their shadows moving on the edge of their
vision. Several said it made them feel like there were people there,
watching them,” a possible reference to people in a very nearby parallel
dimension. If there was such a link being opened, it might explain why the
experiment continued even when the known power (in this universe) was
disrupted. It was being delivered by a source on the other side.
Notably absent in Cook's description above is any reference to rotating
superconductors and ceramics such as will be discussed below under Eugene
Podkletnov where we find that weight loss occurs at 5,000 rpm (page 231),
levitation at 15,000 - 20,000 rpm, and (nondescript) "interesting results"
from 25,000 - 50,000 rpm (page 236). Professor In-Gann Chen has put out an
excellent short video that includes footage of a rotating, levitating
superconductor. Curiously (as is seen in the latest film version of H. G.
Well's novel, THE TIME MACHINE) Hollywood has apparently caught on to this
concept. Of note here, John Hutchison (discussed above), who worked on
anti-gravity, later went into the science fiction film business.
FRONTIERS OF PROPULSION SCIENCE
There has been a distinct and interesting pattern that has developed in my
exploration of the physics of antigravity and time travel. Dr. Scott Jones
and Clark McClelland both contacted me after they watched me on the History
Channel. Both are into UFOs and Remote Viewing. Scott is in a small and
highly controversial group know as the Aviary. So is Col. John Alexander
and Dr. Hal Puthoff. The Aviary is involved with UFOs and Remote Viewing.
Col. Alexander is one of five U.S. Government officials who examined the
work of John Hutchison in antigravity. Puthoff is a well respected science
who works in the same field. When I contacted Scott about how I could learn
more about the topic, as in really learn about it, he forwarded my request
to Puthoff who recommended that I purchase a just-released 737-page textbook
entitled Frontiers of Propulsion Science. On March 20, 2009 I began to
study the text. I posted a few relevant comments on my page about
Podkletnov. At about the same time it became clear that my 16-year old son,
David Roffman, would graduate from high school two years early, and enter
the Engineering Physics program at Embry-Riddle Aeronautical University.
Encouraged by Dr. Puthoff, Dr. Scott Jones, Clark McClelland and others with
inside information about what was supposedly going on in the black budget
world, David read and posted his first draft of a chapter by chapter review
of Frontiers in Propulsion Science on his web site. His goal at Embry-Riddle
is to gain the ability to properly analyze all the mathematical aspects of
the claims out there about UFO propulsion and/or time travel. My wife and I
have moved with David to the Daytona Beach, Florida area not only to ease
his way here, but also to study this field right along with him. As for
Frontiers, on July 9, 2009, I posted a review of the book posted on
Amazon.com. The biggest problem that David and I both had with the NASA
Breakthrough Propulsion Program described in Frontiers was that it was
allegedly backed by only 1.6 million dollars.
David and I both thought that such a low figure, given potential benefit to
the U.S. Government, was as ludicrous as Dr. Evil's initial request for
funds in an Austin Powers film. In fairness to Frontiers, it is mentioned
on page 699 that the NASA "BPP Project is "not the only government-funded
effort to seek revolutionary advances. There is a larger NASA Institute of
Advance Concepts (NIAC) and an even larger Defense Advanced Research
Projects Agency (DARPA). DARPA has been around since 1958 (about the time
that electrogravitics went dark according to Nick Cook). It has a budget
two orders of magnitude greater than NIAC. DARPA received roughly
$500,000,000 in 2007.
Dr. Ron Mallet is a physicist who thinks it is possible to send a
signal into the past. But he says that if we build a time machine, we can
only use it to go back to the time that the machine was created. To reach
an earlier time, we must use a machine created earlier by an alien
civilization. However, if we alter anything back then, we may only alter a
parallel universe, not our own. This being the case, at best we may only
observe what happened. It's much like reading a history book, or watching a
video. Doing so doesn't alter the event being depicted, or at least, not in
a way that affects us in this world up until the point that we report our
results. But it can affect what happens after we make our report. For
example, suppose a trip into the past revealed that Jesus actually survived
the Cross. Would Christianity survive? Certainly not in its present form.
Note that on page 696 of Frontiers in Propulsion Science, it is shown on
Figure 5 that one of the investigations of the Breakthrough Propulsion
Physics Project was to Modify Spacetime.
------------------------------------------------------------------------------------------------------------
Obviously, such a dramatic geometric change ---
within a single fluid medium (the "hazy envelope" surrounding the entire
spiral and its peculiar "rotating blue beam" ...) -- is only possible if
some kind of "outside force" was suddenly being applied ... some external
resonant energy ... to interfere with the original fluid-dynamics
established internally, at the beginning of this sequence ....
In other words:
Some kind of "extremely advanced, electromagnetic (EM) technology"--
Such as HAARP!
Generating forces that could geometrically imprint (via the inevitable
plasma-generated torsion fields ...) the electrified plasma/aerosol mixture
that had been previously released at the edge of space ... flung out in all
directions by the violently spinning, out-of-control Russian Bulava third-stage
....
Paul Murad, a mechanical and aeronautical engineer, and high-ranking
Pentagon official under several past administrations in Washington,
published an excellent popular review of Torsion Field Physics a few years
ago, titled:
"Torsion Physics: A View from the Trenches."
In the course of this Review, Murad describes working with several Russian
physicists who have been methodically seeking to turn the original,
theoretical "Einstein-Cartan Torsion Tensor" into a workable, engineering
technology for "torsion-field generation and manipulation ...." As part of
this major engineering effort, at one key point Murad explicitly states:
" ... torsion [can be] right-handed or left-handed and is based upon a
cylindrical field ... and can be created by large accumulations of
electricity [plasma] and rotation of a body that if above a certain speed,
would enhance the torsion field [below] ...."
And, the Norway Spiral was definitely rotating ...
at a rate of about "one complete revolution per second!" And, undoubtedly,
it was also highly "electrified" ... as a dense plasma "bubble" created at
the electrified boundary between the upper atmosphere and space itself .....
Creation of highly-ordered, resonating "torsion fields" within that
electrified plasma would have been inevitable, then ... even if such fields
were not the original, primary objective of this vast "HAARP-like" event
....
A HAARP-induced torsion-field looking eerily like--
Our own Enterprise visualizations of much vaster torsion fields generated by
the spinning Sun and orbiting planets ... across the entire solar system (below).
This, of course, is one of the scenarios we directly outlined in Part I --
that, somehow, the Norwegian HAARP facility near Tromso called EISCAT (European
Incoherent SCATter Facility ...) was, indeed, "involved" in the creation of
The Spiral ....
Now we had direct evidence from within the Spiral itself, strongly
indicating that some kind of "external energy-field" had, indeed, been
exerted on the Russian's "bus'" escaping fuel; that, this "field-imprinting"
had then immediately created a radically different, concentric, highly-ordered
radial pattern ... compared to the previous fluid spiral--
An obvious, "resonant EM standing-wave
... strongly interacting with the fuel/plasma being released from the
runaway Russian rocket ... creating a striking Chladni geometric pattern."
But, is there any direct evidence -- from the Norwegian HAARP itself -- that
it could have been, indeed, involved in the generation of The Spiral ...?
Yes.
A couple days after Part I was posted, I received an e-mail from David
Wilcock; David had been working independently on his own extensive analysis
of the Spiral (which eventually turned into an E-book -- which I have
deliberately not read, so that our efforts and our conclusions are truly
independent ...).
Was he kidding?!
And, indeed, according to the published logs (above), the EISCAT facility
was, indeed, radiating both VHF and UHF EM radiation ... THROUGHOUT this
critical 7:45 AM Spiral "window" on December 9th ....
In fact, EISCAT was specifically scheduled to carry out a high-power
ionosphere dual-frequency experiment ... at dawn ....
An experiment called, provocatively, "Tequila Sunrise."
Blatantly demonstrating that "something," indeed,
not only physically almost stopped the Russian Bulava in mid-flight ... but
had then physically MOVED the "generating center" of the Spiral ... over 50
miles east (from its previous Newtonian missile trajectory, northeast) ...
something operating in a definitely "non-Newtonian" fashion!
As we asked in Part I, was someone also sending an unmistakable "message" to
the Russian government that morning--
With a blatant demonstration of
Hyperdimensional/Torsion Field Physics Technology ...?
And if so--
"Who" ... to "whom" ... and "why?"
And, most important--
Why now?
And, if the latter, then--
Who was directly "taking on Russia" ... with such a blatant, public
demonstration of a stunning "torsion-physics weapons technology?"--
Which, according to the evidence we have uncovered
and presented here, was more than likely now caused by HAARP ...
deliberately (for some reason ...) applying "Hyperdsimensional/Torsion
Field Physics" to a Russian missile ....
A Physics whose central icon , representing the underlying mathematics of
THAT "multi-dimensional Physics," is a unique geometric figure termed--
The "Schalfli Double-Six"--
Appearing in our three dimensions as "a rotating ... four-dimensional ...
Hyperdimensional Tetrahedron" ....
Who have now -- in these astonishing apparitions --
publicly taken on BOTH reigning "superpowers" ... here on Planet Earth!?
Again, for those even slightly familiar with the "arc" of our Enterprise
investigations over the past 20 or so years, and especially, for those who
have read our "magnum opus" on the "radically distorted origins and inside
politics" of NASA -- Dark Mission -- it should come as no surprise that our
own first thoughts regarding the ultimate "creators" of this obviously "Tetrahedral
Warning" was--
The Secret Space Program!
An "over a half-century-long Program" ... completely hidden from all public
view ... the REAL Space Program ... based not on "primitive and dangerous
space technologies, like rockets ..." -- but on deep-black, cutting-edge,
Nazi-WWII-developed HD/torsion technologies--
The development of which has been well-documented in Dark Mission ... and by
another Enterprise Associate -- Oxford's Dr. Joseph Farrell.
Apart from being highly relevant to the "Norway situation" (see below),
Joseph's unique historical research, serendipitously, now also sheds
stunning new light on the real explanation for the long-reigning "UFO
distraction" of our time--
Roswell.
Farrell's paradigm-busting research -- based on both newly-declassified WWII
Nazi documents, as well as a crucial new perspective on the evidence
contained in the various Roswell "eyewitness testimonies," chronicled by
other researchers over the years -- is that "Roswell" now, in all
probability, represents the deliberate PR distorsion of a much more amazing
reality--
An entire, hidden, herculian, top-secret, post-WWII torsion research and
development program ..."--
Deliberately "smuggled" into the United States at the end of the War.
A program to initially "back-engineer early Nazi-developed WWII torsion
technologies and weapons systems ..." -- and then make them operational.
That this -- not "little grey aliens" -- is the Ultra-Top-Secret Reality
behind "the sixty-year-old, heavily manipulated, Roswell Legend ..." (below).
An even more startling reality ... artfully hidden
behind "the crashed alien UFO cover-story," in all its on-going soap-opera
... for more than 60 years.
The fact is that "Roswell," in Farrell's analysis, is nothing less than a
human anti-gravity "torsion" space vehicle
... derived from Nazi-derived technology, brought to the United States at
the end of WWII--
Which crashed in a post-WWII "flight test."
Using--
Torsion technologies which, six decades later -- at the beginning of the
second decade of the 21st Century -- could easily place "whoever has
secretly mastered this real Physics" here on Earth ... and for over ~60
years ... as far ahead of the current US and Russian "space programs" ... as
those programs are currently beyond--
The Stone Age!
A fact that somone -- that fateful December 9, 2009 -- wanted both the
United States and Russia to vividly remember ....
So ... who?!
Volume II of Dolan's research -- UFOs and the
National Security State (Vol II): The Cover-Up Exposed, 1973-1991-- contains
this perceptive observation (below), relevant to our current Norway/Kremlin
problem--
Writes Dolan (with a few editorial "annotations" by Enterprise ...):
"... another thing that had happened was that someone [on Earth] seemed to
be developing and flying, if not actual flying saucers, then something very
much along those lines. By the late 1980s the signs were becoming clear.
Perhaps the Hudson Valley objects were not terrestrial objects, perhaps they
were. By the end of the 1980s, however, sightings in California’s Antelope
Valley and Nevada’s Area 51 were of objects that were surely made by the
U.S. defense industry. In the judgment not merely of UFO-watchers but
aviation and aerospace experts, it looked as if these objects were utilizing
a form of field propulsion ...
"That is, anti-gravity.
"'Oh what a tangled web we weave when first we practice to deceive ...'
We can assume that the original lie of the 1940s [that UFOs do not exist]
was intended to stall for time; meanwhile, policymakers would frantically
try to figure out what was going on. But this lie developed into immense,
complex, and ultimately separate [parallel governmental] infrastructure. The
longer it continued, the more entrenched the established parties became; the
more removed they became from officially established [Constitutional] truths;
the less they were able to explain to the rest of the world what was
actually going on. It was one thing to explain to the public that one or
more extraterrestrial intelligences were freely operating on Planet Earth
for purposes which they kept to themselves. It was entirely something else
to explain that a massive black infrastructure [of separate,
extraterrestrial, human government] had evolved, siphoning off public money,
operating in total secrecy for years, developing [and NOT sharing stunning]
new technologies, and making profits based on monopolistic exploitation of
acquired ET technology. Another still to explain that the U.S. President, or
other national leaders for that matter, were not necessarily the key
decision-makers when it came to such matters [emphasis added] ...."
Dolan's research provides compelling, independent
back-up, then, for our own developing hypothesis -- expressed publicly many,
many times ... over many, many years -- that one of these two main types of
"ET civilizations," currently interacting with the Earth--
What Dolan calls "a breakthrough civilization"--
Could, in fact, be--
A terrestrially-derived, post-World War II Nazi colony civilization ...
attempting to "go home" to the Original--
As extensively detailed in Dark Mission.
Grown outward from Earth ... into the solar system ... inevitably, secretly,
building on the Nazi's own early WWII HD/Torsion Physics "anti-gravity"
technology ... the same technology also brought
to the US as part of Paperclip ... over these past ~60 years.
To become another major component of--
THE Secret Space Program!
What was/is supremely ironic about all this, is the fact that in November,
2009 -- at the Annual "Secrets" Conference, in Tempe, Arizona -- only days
before the Norway Spiral and the Kremlin Tetrahedron dramatically appeared
... I presented new results from our on-going Enterprise research into "the
origins and political/technical evolution" of such a possible "post-WWII,
secret space program" ....
Most critical to this assessment: "who" -- in the "mainstream" -- also has
to have politically known about this "hidden reality" ... for those same ~60
years--
The deep, documentable connections now between "Truman" ... "Eisenhower" ...
"JFK" ... and yes, "Obama"--
And, shockingly: 2012
Summarizing Farrell's critically important points:
"... so my "op within an op within an op" scenario is basically that someone
[human], with probable access to hidden space technologies, and with all but
certain access to weaponized versions of scalar-torsion
technologies, brought the Twin Towers down.
That "someone" is some sort of rogue extra-territorial organization [read --
"off planet Earth" human organization/state], with deep and historical
connections to the radical Islamic underworld ...
"And that leaves me with, guess who -- the Nazis [emphasis added] ...."
Appeared first -- mirrioring to an amazing degree
the "torsion-radial-geometry" of the Norway Spiral 44 days earlier ... but
in the opposite hemisphere.
Then, 30 seconds later ... the northwest "ring" appeared --
Based on Wood's remarkable evidence pattern -- for the deployment and use of
some kind of advanced "interferometer torsion-field weapon" (our term) in
the destruction of the Towers "from afar" -- Farrell has incorporated this
astonishing data (with a little kibitzing from Enterprise ...) into his
larger "interplanetary war scenario" (above)--
A War obviously "continuing to escalate" ... occurring, perhaps, between
some "rebellious faction" of the (in our model) "Nazi-derived Secret Space
Program" ... and the "real world" political and economic infrastructure of
the rest of this entire Planet ....
-------------------------------------------------------------------------------------------------

Friday, April 18, 2014
Dissolving the limitations of a mind set: Perfectly possible to produce a
negative gravitational field
It is perfectly possible to produce a negative gravitational field between
the earth and a given object on or near its surface by the proper
application of moving electric charges. Such a field would be effective only
with respect to the given object. All other matter in the vicinity would
remain within the positive portion of the curve.
Dissolving the limitations of a mind set
Recap to date: Vacuum energy and the Radius of Curvature VC
As can be seen, the Cosmology video clearly identifies contemporary mis-interpretations
of reference frames and insinuates the infinite energy in the vacuum of
space is always with us to use.
Chapter 3: Faster-than-light Relativity of an Interstellar Traveler
Vacuum Energy: Proof of Free Energy in the Space All Around Us
A new article on the limitless energy contained within the vacuum of space
has been published by Waking Times referencing the work ofNassim Haramein
and The Resonance Project Foundation. Entitled "Vacuum Energy: Proof of Free
Energy in the Space All Around Us", the article does a good job describing
the vacuum energy and its importance in physics while describing the
fundamental principals behind Nassim Haramein's unified field theory.
Infinite Vacuum Energy in Quantum Physics
This is not a fringe theory. This is fundamental to the accepted physics
paradigms of quantum theory which deal specifically with the level of the
universe where all things are energy, or at least where they oscillate
between energy and form. As quoted in one of the most fundamental physics
textbooks, Gravitation, by three of the most highly influential physicists
of the 20th Century, Charles Misner, Kip Thorne, and John Archibald Wheeler:
“…present day quantum field theory “gets rid by a renormalization process”
of an energy density in the vacuum that would formerly be infinite if not
removed by this renormalization.” (Gravitation, p.426)
In other words, they accept that the vacuum structure – allegedly empty
space – is infinitely dense, but instead of dealing with infinity directly
they attempt to renormalize this value. On the one hand it is logical to
attempt to renormalize infinity, because after all, it is easier to plug a
definite number into an equation than it is to use infinity. But on the
other hand, in the world outside of mathematics, to not accept the infinite
density of vacuum energy is to avoid a truthful perceptual experience and
understanding of reality. On the topic of renormalization, Nassim Haramein
can add to this conversation:
“To understand this [the infinite energy density of the vacuum] better,
physicists applied a principle of “renormalisation”, using a fundamental
constant to cut off the number and get a finite idea of how dense the vacuum
energy must be, with all its vibrations. The cut-off value used was the
Planck’s distance or length, named after the great physicist Max Planck, who
is considered to be the founder of quantum theory. This value is thought to
be the smallest vibration possible.” (To Infinity and Beyond: Transcending
Our Limitations by Nassim Haramein)
The irony of the situation is that when they tried to renormalize the
“energy density in the vacuum that would formerly be infinite” they came up
with a value that was not much better. Using the Planck’s distance they
decided to calculate the vacuum energy density by counting the number of
Planck’s distances they could fit into a centimeter cube of space by
stacking them like subatomic bricks, fitting as many as possible into that
area.
Then they calculated the total amount of energy that was available in that
space by multiplying the energy of a single Planck’s distance with the total
number of Planck’s distances they packed into that centimeter cubed of space
so that they could have a definite value for the density of vacuum energy (and
remember, all of this is being done in order to get a value that wasn’t
infinite).
The resulting “renormalized” value that they got for the vacuum energy
density was 10^93 grams per centimeter cube of space. That is 10 with 93
zeroes after it, an enormous number. But to put the true enormity of this
number in perspective, if the entire known universe was compacted into a
centimeter cube of space, it would only reach a density of 10^55 grams/centimeter
cubed! In other words, the renormalized density for vacuum energy exceeds
the mass of the entire known universe … compacted into a centimeter cubed of
space (from Crossing The Event Horizon).
Nassim continues:
“The vacuum energy density, or what can be called a Planck’s density, was in
the order of 10^93 grams per cubic centimeter of space and was quickly
dubbed ‘the worst prediction physics has ever made’ or ‘the vacuum
catastrophe’.” (To Infinity and Beyond by Nassim Haramein)
The Casimir Effect
The existence of vacuum energy has also been verified by the Casimir Effect.
In 1948, Dutch physicist Hendrik Casimir devised a test that would either
prove or disprove the existence of vacuum energy.
He theorized that if you could put two extremely thin metal plates together
at an absurdly small distance from one another (we are taking about a
distance of mere microns apart), then if there was vacuum energy you would
create an imbalance within vacuum energy (or ‘an imbalance in the quantum
fluctuations‘ as vacuum energy is more technically called) that would exert
a force on the plates.
By putting these metal plates so close together you would have isolated all
but the smallest wavelengths within the vacuum thus creating pressure on the
outside of the plates which would have pushed them together, proving the
existence of vacuum energy.
In 1948 when Hendrik Casimir came up with this idea the technology was not
around to test his theory. But a few decades later scientists where able to
carry out this experiment and prove conclusively that Hendrik Casimir was
correct, and that there is an energy density to the vacuum. Since then this
experiment has been validated many times by many scientists, and it has
become known as ‘The Casimir Effect’. This is conclusive and undeniable
proof of the existence of vacuum energy which is free energy.
(For more information on the Casimir Effect and on Free Energy check out
this great article: Multiple Scientists Confirm the Existence of Free Energy)
Conclusion – Moving Forwards
We are swimming within an infinitely dense sea of energy. It has been proven
not only that everything is energy, but also that each and every centimeter
cube of space contains infinite energy. If we used our resources as
individual nations and as a planet searching for ways to tap into this
energy, instead of suppressing new research that has already done so, then
in a few short years we could be powering our planet with free vacuum energy
extracted directly from the structure of space-time.
No more oil. No more pollution. No more wars over energy. No more needing to
work to heat our homes. We could all quite our jobs and have unlimited free
time to pursue our passions and contribute our knowledge and creativity to
society. We would have time to build gardens that maintain themselves, and
collectively produce natural food to feed our planet while we spend our days
in nature, following our passions, and doing what we love to do.
By tapping into vacuum energy with our technology and with perception, we
can change the world.

We were all taught that space-time "curves" according to Albert Einstein's
theory of relativity, however this curving doesn't account for the fact that
everything in the universe, on all scales, is spinning. Nassim Haramein
added torque and Coriolis forces to Einstein's filed equations to properly
account for the spin of all things. By doing so, Haramein has developed
equations that predict the topology of a black hole being not just one that
is curving toward singularity, but CURLING toward stillness, like water
going down the drain. When you pull the plug out of your bathtub drain the
water doesn't just curve and go straight down along the most direct path
down the funnel, it spins as it moves down and important to remember, the
AIR spins UP.
Where you have a change in density, you get a vortex as the density gradient
moves toward centropy, creating dynamic equilibrium otherwise known as a
Torus.
Nassim Haramein's paper "The Schwarzschild Proton" presents a new solution
for the mass of the proton giving a result that is much heavier than the one
standard model predicts. While the standard proton has a mass 10 to the
-24g, the proton that Nassim Haramein's equations describe have a mass of 10
to the 14g : a difference of 38 orders of magnitude.
The different measurements occur due to two different ways of measuring the
mass of the proton. The standard model ignores the energy-density of the
space itself that exists inside the atom through a mathematical trick called
"renormalization", whereas Nassim Haramein appropriately accounts for the
energy-density of the space itself inside the atom, giving it a much larger
value.
The resulting mass shows that the proton itself obeys the Schwarzschild
condition of a black hole and has enough mass to actually be considered a
miniature black hole itself. The standard model is only accounting for the
mass as observed from OUTSIDE the proton, whereas Nassim is accounting for
the mass inside the proton which includes the mass dilation that occurs
INSIDE the event horizon of the mini black hole. Mass increases
exponentially if it is spinning at a rate that approaches the speed of light
inside the event horizon of any black hole (black whole).
When you place both proton measurements into a graph and compare the proton
mass vs. the proton radius along with many other known objects in the
universe, a linear relationship of mass vs. radius pattern arises. The
Schwarzschild proton fits in perfect alignment with all other objects on all
scales in it's relationship of mass vs. radius, whereas the standard model
proton falls way off the graph. The proton, the sun and the galaxy are all
centered by various scale black holes, all centered by singularity.
Everything in the universe is centered by stillness. Space-time curls like
water going down the drain to the singularity in the center of black holes
on all scales in the infinite scalar tetrahedral geometry of fabric of the
vacuum...
For more details, see the "The Schwarzschild Proton" paper and "Scale
unification: a universal scaling law" paper themselves:
If you wanted to somehow illustrate the complex vorticular dynamics of the
dualTorus structure that defines black holes on all scales all in one simple
2-dimensional symbol, you might draw something similar to the ancient
Chinese Yin and Yang symbol.
This animation, which was created by animators directed by Nassim Haramein
for his "Black Whole" DVD, shows how the dual torus and the Yin Yang are
describing the very same dynamics through animated graphics.
POINTS OF REFERENCE: Keep the Eye on the Ball
we still do not have feedback from any reader’s insights on the effects a
varying VC differential, as frequency, would exhibit between any 2 or more
stationary objects.
With space and time constant between any two or more specified reference
points, as an energy differential in frequency approaches and exceeds the
quantity VC, four critical components must be reconsidered:
VC potential differential: already exists between matter and electrons (electric,
magnetic, gravitational fields)
Simultaneity: events which are observed simultaneously, occur simultaneously
insofar as that observer is concerned, and the simultaneity of events is a
condition which depends entirely upon the position of the observer with
respect to those events.
VC definition: the kinetic energy equivalent of the mass energy of matter –
the pivotal point about which the natural laws (space time mass matter
energy gravity) become manifest
Gravity: the positive and negative charges of the protons and electrons,
when united within the neutron, are not discernible as charges but exist as
energy which produces the gravitational field
On A Testable Unification Of Electromagnetics, General
Relativity, And Quantum Mechanics
T.E. Bearden
Association of Distinguished American Scientists
2311 Big Cove Road, Huntsville, Alabama 35801
Walter Rosenthal
4876 Bethany Lane, Santa Maria, California 93455
Copyright © 1991 by T.E. Bearden & W. Rosenthal, All Rights Reserved.
Abstract
Unrecognized for what it was, in 1903-1904 E.T. Whittaker (W) published a
fundamental, engineerable theory of electrogravitation (EG) in two profound
papers. The first (W-1903) demonstrated a hidden bidirectional EM wave
structure in the scalar potential of vacuum, and showed how to produce a
standing scalar EM potential wave -- the same wave discovered experimentally
four years earlier by Nikola Tesla. W-1903 is a hidden variable theory that
shows how to deterministically curve the local and/or distant space-time
using EM. W-1904 shows that all force field EM can be replaced by
interferometry of two scalar potentials, anticipating the Aharonov-Bohm
effect by 55 years and extending it to the engineerable macroscopic world.
W-1903 shows how to turn EM into G-potential, curve local and/or distant
space-time, and directly engineer the virtual particle flux of vacuum.
W-1904 shows how to turn G-potential and curvature of space-time back into
force-field EM, even at a distance. The papers implement Sakharov's 1968
statement that gravitation is not a fundamental field of nature, but a
conglomerate of other fields.

Separately applied to electromagnetics (EM), quantum mechanics (QM), and
general relativity (GR), an extended superset of each results. The three
supersets are Whittaker-unified, so that a testable, engineerable, unified
field theory is generated. EM, QM, and GR each contained a fundamental error
that blocked unification, and these three errors are explained. The
Schroedinger potential can also be structured and altered, indicating the
direct engineering of physical quantum change. Recently Ignatovich has
pointed out this hidden bidirectional EM wave structure in the Schroedinger
potential, without referencing Whittaker's 1903 discovery of the basic
effect. The potential for applying the new approach to explain the nature of
mind and thought, and providing a laboratory-testable theory for them, is
briefly noted and indicative major references cited. Some of the possible
implications for physics and biology are pointed out.
Note the problems/issues regarding scale invariance always appear at
extremely large and small scales – differentials approaching, at, and
exceeding the equivalent of the QC, velocity of light energy differential
Elektronik
Physics of UFO
gravity manipulation - by Paul E Potter
Gravity - Antigravity Dosyası
H içbir
yazı/ resim izinsiz olarak kullanılamaz!! Telif hakları uyarınca
bu bir suçtur..! Tüm hakları Çetin BAL' a aittir. Kaynak gösterilmek şartıyla siteden
alıntı yapılabilir.
© 1998 Cetin BAL - GSM:+90 05366063183 -Turkiye / Denizli
Ana Sayfa / Index
/
E-Mail / Kuantum Fiziği / UFO Technology
/
Roket bilimi /
UFO Galerisi
/
Astronomy
|
|